LEMON Manuals: Even more car manuals for everyone: 1960-2025
Home >> Lexus >> 2013 >> GX 460 Base >> Repair and Diagnosis (Single Page) >> Body & Frame >> Door Locks >> Smart Access System (Keyless Entry) (Diagnostic Codes & Symptom Tests) >> SMART ACCESS SYSTEM WITH PUSH-BUTTON START (for Entry Function) >> Symptom Tests >> Driver Side Door Entry Unlock Function does not Operate >> Procedure
April 5, 2026: LEMON Manuals is launched! Read the announcement.

Driver Side Door Entry Unlock Function does not Operate: Procedure

  1. CHECK POWER DOOR LOCK OPERATION 
    1. When the door control switch on the multiplex network master switch assembly on the driver side door is operated, check that the doors unlock and lock according to the switch operation. Refer to OPERATION CHECK [06/2012 - ] .

      OK

      Door locks operate normally.

    NG → See step   6 

    OK: Go to next step 

  2. READ VALUE USING TECHSTREAM (DOOR LOCK POSITION SWITCH) 
    1. When the door control switch on the multiplex network master switch assembly on the driver side door is operated, check that the Data List using the Techstream. Refer to DATA LIST / ACTIVE TEST [06/2012 - ] .
      MAIN BODY

      Tester Display Measurement Item/Range Normal Condition Diagnostic Note
      FL Door Lock Pos Front LH side door lock / UNLOCK or LOCK UNLOCK: Front LH side door unlocked
      LOCK: Front LH side door locked
      -

      OK

      The Techstream display changes correctly in response to the operation of the front door lock assembly LH.

    NG → See step   6 

    OK: Go to next step 

  3. READ VALUE USING TECHSTREAM (UNLOCK SENSOR) 
    1. Using the Techstream, read the Data List. Refer to DATA LIST / ACTIVE TEST [06/2012 - ] .
      SMART ACCESS

      Tester Display Measurement Item/Range Normal Condition Diagnostic Note
      D-Door Touch Sensor Front door outside handle assembly LH (unlock sensor) / ON or OFF ON: Front door outside handle assembly LH (unlock sensor) touched
      OFF: Front door outside handle assembly LH (unlock sensor) not touched
      • Displays whether the unlock sensor is on or off (even if the sensor is touched and contact is maintained, "ON" is displayed only momentarily).
      • Use this Data List item to help determine if there is an unlock sensor malfunction when the entry unlock function does not operate.

      OK

      The Techstream display changes correctly in response to the operation of the front door outside handle assembly LH.

    NG → See step   4 

    OK → See step   7 

  4. CHECK HARNESS AND CONNECTOR (FRONT DOOR OUTSIDE HANDLE LH - CERTIFICATION ECU) 
    1. Disconnect the O1 front door outside handle assembly LH connector.
    2. Disconnect the G26 certification ECU connector.
    3. Measure the resistance according to the value(s) in the table below.
      STANDARD RESISTANCE

      Tester Connection Condition Specified Condition
      O1-4 (SENS) - G26-20 (SEN1) Always Below 1 Ω
      G26-15 (E) - Body ground Always Below 1 Ω
      O1-4 (SENS) or G26-20 (SEN1) - Body ground Always 10 kΩ or higher

    NG → REPAIR OR REPLACE HARNESS OR CONNECTOR 

    OK: Go to next step 

  5. CHECK FRONT DOOR OUTSIDE HANDLE ASSEMBLY LH (DRIVER SIDE DOOR UNLOCK SENSOR SIGNAL INPUT) 
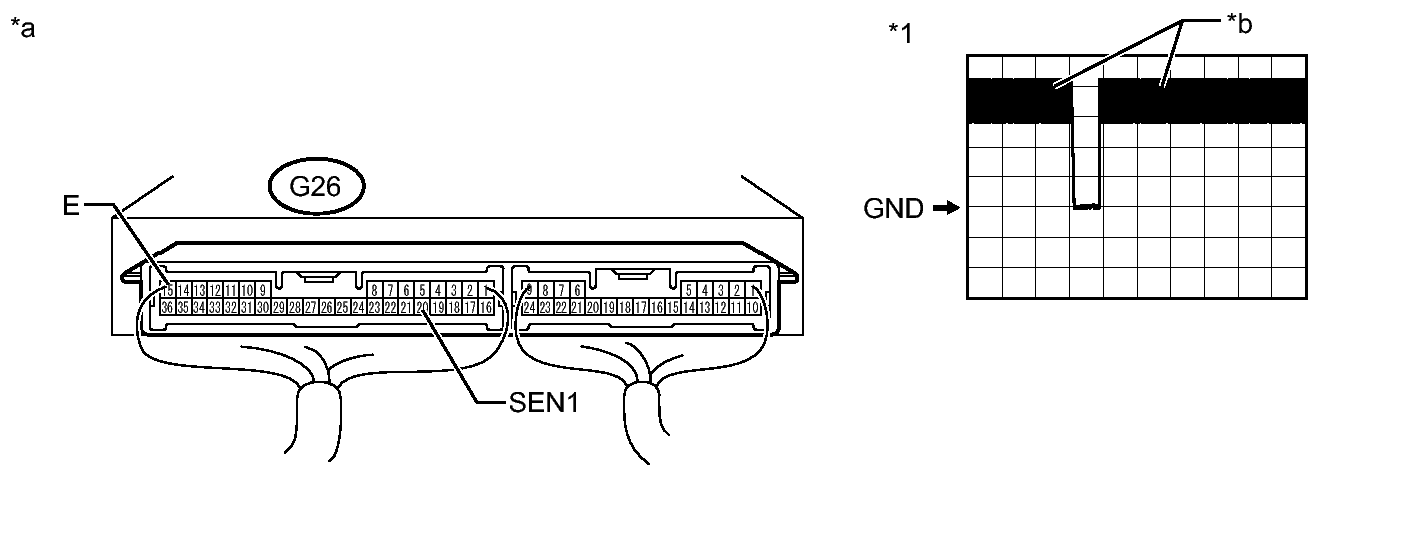
    1. Connect the O1 front door outside handle assembly LH connector.
      GTY258232Courtesy of © TOYOTA, LICENSE AGREEMENT TMS1002
      TEXT IN ILLUSTRATION

      *1 Waveform - -
      *a Component with harness connected
      (Certification ECU)
      *b In actuality, sampling is being performed
    2. Connect the G26 certification ECU connector.
    3. Using an oscilloscope, check the waveform.
      OK

      Tester Connection Switch Condition Tool Setting Specified Condition
      G26-20 (SEN1) - G26-15 (E) Procedure:
      1. Engine switch off
      2. Key brought outside vehicle
      3. All doors locked
      4. Driver side door unlock sensor not touched → touched
      2 V/DIV., 500 ms/DIV. Pulse generation (See waveform)

    NG → See step   8 

    OK → See step   7 

  6. Go to POWER DOOR LOCK CONTROL SYSTEM. Refer to  PROBLEM SYMPTOMS TABLE [06/2012 - ] 
  7. REPLACE CERTIFICATION ECU. Refer to  REMOVAL [06/2012 - ] 
  8. REPLACE FRONT DOOR OUTSIDE HANDLE ASSEMBLY LH. Refer to  DISASSEMBLY [06/2012 - ]