LEMON Manuals: Even more car manuals for everyone: 1960-2025
Home >> Lexus >> 2013 >> IS 350 Base, AWD >> Repair and Diagnosis (Single Page) >> Accessories & Equipment >> Infotainment >> Navigation System (Diagnostic Codes & Symptom Tests) >> Navigation System >> Circuit Tests >> Visual Mute Signal Circuit between Navigation Receiver Assembly and Multi-display >> Procedure
April 5, 2026: LEMON Manuals is launched! Read the announcement.

Visual Mute Signal Circuit between Navigation Receiver Assembly and Multi-display: Procedure

  1. INSPECT MULTI-DISPLAY ASSEMBLY 
    1. Measure the voltage according to the value(s) in the table below.
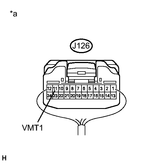
      GTY401140Courtesy of © TOYOTA, LICENSE AGREEMENT TMS1002

      Standard Voltage

      Tester Connection Condition Specified Condition
      J126-11 (VMT1) - Body ground Engine switch on (ACC), screen display changes. 3.5 V or higher
      → Below 1 V
      → 3.5 V or higher
      TEXT IN ILLUSTRATION

      *a Component with harness connected
      (Multi-display Assembly)

    NG → See step   2 

    OK → See step   4 

  2. CHECK HARNESS AND CONNECTOR (MULTI-MEDIA MODULE RECEIVER ASSEMBLY - MULTI-DISPLAY ASSEMBLY) 
    1. Disconnect the J126 multi-display assembly connector.
    2. Disconnect the J125 multi-media module receiver assembly connector.
    3. Measure the resistance according to the value(s) in the table below.

      Standard Resistance

      Tester Connection Condition Specified Condition
      J126-11 (VMT1) - J125-10 (VMTF) Always Below 1 Ω
      J126-11 (VMT1) - Body ground Always 10 kΩ or higher

    NG → REPAIR OR REPLACE HARNESS OR CONNECTOR 

    OK: Go to next step 

  3. REPLACE MULTI-DISPLAY ASSEMBLY 
    1. Replace the multi-display assembly and check if the navigation system operates normally. Refer to REMOVAL [08/2012 - ] .

      OK

      The navigation system operates normally.

    NG → See step   5 

    OK → END 

  4. PROCEED TO NEXT SUSPECTED AREA SHOWN IN PROBLEM SYMPTOMS TABLE. Refer to  PROBLEM SYMPTOMS TABLE [08/2012 - ] 
  5. REPLACE MULTI-MEDIA MODULE RECEIVER ASSEMBLY. Refer to  REMOVAL [08/2012 - ]