LEMON Manuals: Even more car manuals for everyone: 1960-2025
Home >> Lexus >> 2013 >> RX 350 Base, AWD >> Repair and Diagnosis (Single Page) >> Accessories & Equipment >> Infotainment >> Navigation System (Diagnostics & Circuit Tests) >> Navigation System >> Circuit Tests >> Microphone Circuit between Microphone and Navigation Receiver Assembly >> Procedure
April 5, 2026: LEMON Manuals is launched! Read the announcement.

Microphone Circuit between Microphone and Navigation Receiver Assembly: Procedure

  1. CONFIRM MODEL 
    1. Choose the model to be inspected.

      Result

      Model Proceed to
      w/o Manual (SOS) switch A
      w/ Manual (SOS) switch B

    B → See step   4 

    A: Go to next step 

  2. CHECK HARNESS AND CONNECTOR (MULTI-MEDIA MODULE RECEIVER ASSEMBLY - MAP LIGHT ASSEMBLY (TELEPHONE MICROPHONE ASSEMBLY)) 
    1. Disconnect the G36 multi-media module receiver assembly connector.
    2. Disconnect the T10 map light assembly (telephone microphone assembly) connector.
    3. Measure the resistance according to the value(s) in the table below.

      Standard Resistance

      Tester Connection Condition Specified Condition
      G36-29 (MACC) - T10-33 (MACC) Always Below 1 Ω
      G36-27 (MIN+) - T10-34 (MCO+) Always Below 1 Ω
      G36-48 (MIN-) - T10-35 (MCO-) Always Below 1 Ω
      G36-49 (SNS2) - T10-36 (SNS2) Always Below 1 Ω
      G36-29 (MACC) - Body ground Always 10 kΩ or higher
      G36-27 (MIN+) - Body ground Always 10 kΩ or higher
      G36-48 (MIN-) - Body ground Always 10 kΩ or higher
      G36-28 (SGND) - Body ground Always 10 kΩ or higher
      G36-49 (SNS2) - Body ground Always 10 kΩ or higher

    NG → REPAIR OR REPLACE HARNESS OR CONNECTOR 

    OK: Go to next step 

  3. INSPECT MULTI-MEDIA MODULE RECEIVER ASSEMBLY 
    1. Reconnect the G36 multi-media module receiver assembly connector.
    2. Reconnect the T10 map light assembly (telephone microphone assembly) connector.
    3. Measure the voltage according to the value(s) in the table below.
      GTY417872Courtesy of © TOYOTA, LICENSE AGREEMENT TMS1002

      Standard Voltage

      Tester Connection Condition Specified Condition
      G36-29 (MACC) - Body ground Engine switch on (ACC) 4 to 6 V
    4. Measure the resistance according to the value(s) in the table below.

      Standard Resistance

      Tester Connection Condition Specified Condition
      G36-28 (SGND) - Body ground Always Below 1 Ω
      G36-48 (MIN-) - Body ground Always Below 1 Ω
      TEXT IN ILLUSTRATION

      *a Component with harness connected
      (Multi-media Module Receiver Assembly)
    5. Proceed to the next step based on the inspection result.

      Result

      Result Proceed to
      NG A
      OK B

    B → See step   9 

    A → See step   14 

  4. CHECK HARNESS AND CONNECTOR (MULTI-MEDIA MODULE RECEIVER ASSEMBLY - MAP LIGHT ASSEMBLY (TELEPHONE MICROPHONE ASSEMBLY)) 
    1. Disconnect the G36 multi-media module receiver assembly connector.
    2. Disconnect the T10 map light assembly (telephone microphone assembly) connector.
    3. Measure the resistance according to the value(s) in the table below.

      Standard Resistance

      Tester Connection Condition Specified Condition
      G36-49 (SNS2) - T10-36 (SNS2) Always Below 1 Ω

    NG → REPAIR OR REPLACE HARNESS OR CONNECTOR 

    OK: Go to next step 

  5. CHECK HARNESS AND CONNECTOR (MULTI-MEDIA MODULE RECEIVER ASSEMBLY - DCM (TELEMATICS TRANSCEIVER)) 
    1. Disconnect the G36 multi-media module receiver assembly connector.
    2. Disconnect the G25 DCM (telematics transceiver) connector.
    3. Measure the resistance according to the value(s) in the table below.

      Standard Resistance

      Tester Connection Condition Specified Condition
      G36-27 (MIN+) - G25-18 (MCO+) Always Below 1 Ω
      G36-48 (MIN-) - G25-19 (MCO-) Always Below 1 Ω
      G36-27 (MIN+) - Body ground Always 10 kΩ or higher
      G36-48 (MIN-) - Body ground Always 10 kΩ or higher
      G36-28 (SGND) - Body ground Always 10 kΩ or higher

    NG → REPAIR OR REPLACE HARNESS OR CONNECTOR 

    OK: Go to next step 

  6. CHECK HARNESS AND CONNECTOR (DCM (TELEMATICS TRANSCEIVER) - MAP LIGHT ASSEMBLY (TELEPHONE MICROPHONE ASSEMBLY)) 
    1. Disconnect the G25 DCM (telematics transceiver) connector.
    2. Disconnect the T10 map light assembly (telephone microphone assembly) connector.
    3. Measure the resistance according to the value(s) in the table below.

      Standard Resistance

      Tester Connection Condition Specified Condition
      G25-33 (MCVD) - T10-33 (MACC) Always Below 1 Ω
      G25-34 (MCI+) - T10-34 (MCO+) Always Below 1 Ω
      G25-35 (MCI-) - T10-35 (MCO-) Always Below 1 Ω
      G25-33 (MCVD) - Body ground Always 10 kΩ or higher
      G25-34 (MCI+) - Body ground Always 10 kΩ or higher
      G25-35 (MCI-) - Body ground Always 10 kΩ or higher
      G25-32 (SGND) - Body ground Always 10 kΩ or higher

    NG → REPAIR OR REPLACE HARNESS OR CONNECTOR 

    OK: Go to next step 

  7. INSPECT MULTI-MEDIA MODULE RECEIVER ASSEMBLY 
    1. Disconnect the G25 DCM (telematics transceiver) connector.
    2. Reconnect the G36 multi-media module receiver assembly connector.
      GTY404331Courtesy of © TOYOTA, LICENSE AGREEMENT TMS1002
    3. Measure the resistance according to the value(s) in the table below.

      Standard Resistance

      Tester Connection Condition Specified Condition
      G36-28 (SGND) - Body ground Always Below 1 Ω
      G36-48 (MIN-) - Body ground Always Below 1 Ω
      TEXT IN ILLUSTRATION

      *a Component with harness connected
      (Multi-media Module Receiver Assembly)

    NG → See step   12 

    OK: Go to next step 

  8. INSPECT DCM (TELEMATICS TRANSCEIVER) 
    1. Reconnect the G25 DCM (telematics transceiver) connector.
    2. Measure the voltage according to the value(s) in the table below.
      GTY405419Courtesy of © TOYOTA, LICENSE AGREEMENT TMS1002

      Standard Voltage

      Tester Connection Condition Specified Condition
      G25-33 (MCVD) - Body ground Engine switch on (ACC) 4 to 6 V
    3. Measure the resistance according to the value(s) in the table below.

      Standard Resistance

      Tester Connection Condition Specified Condition
      G25-35 (MCI-) - Body ground Always Below 1 Ω
      G25-32 (SGND) - Body ground Always Below 1 Ω
      TEXT IN ILLUSTRATION

      *a Component with harness connected
      (DCM (Telematics Transceiver))

    NG → See step   15 

    OK: Go to next step 

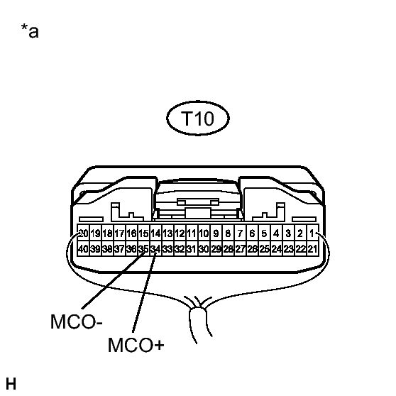
  9. INSPECT MAP LIGHT ASSEMBLY (TELEPHONE MICROPHONE ASSEMBLY) 
    1. Disconnect the T10 map light assembly (telephone microphone assembly) connector.
    2. Measure the resistance according to the value(s) in the table below.
      GTY408106Courtesy of © TOYOTA, LICENSE AGREEMENT TMS1002

      Standard Resistance

      Tester Connection Condition Specified Condition
      T10-36 (SNS2) - T10-35 (MCO-) Always Below 1 Ω
      TEXT IN ILLUSTRATION

      *a Component without harness connected
      (Map Light Assembly)

    NG → See step   11 

    OK: Go to next step 

  10. INSPECT MAP LIGHT ASSEMBLY (TELEPHONE MICROPHONE ASSEMBLY) 
    1. Reconnect the G36 multi-media module receiver assembly connector.
    2. Reconnect the T10 map light assembly (telephone microphone assembly) connector.
    3. Reconnect the G25 DCM (telematics transceiver) connector (w/ Manual (SOS) Switch).
    4. Turn the engine switch on (ACC).
    5. Connect an oscilloscope to terminals 34 (MCO+) and 35 (MCO-) of the T10 map light assembly connector.
      GTY405232Courtesy of © TOYOTA, LICENSE AGREEMENT TMS1002
    6. Check the waveform of the telephone microphone assembly using the oscilloscope.

      Result

      Result Proceed to
      A waveform synchronized with the voice input to the map light assembly (telephone microphone assembly) is output A
      A waveform synchronized with the voice input to the map light assembly (telephone microphone assembly) is not output B
      TEXT IN ILLUSTRATION

      *a Component with harness connected
      (Map Light Assembly (Telephone Microphone Assembly))

    B → See step   11 

    A → See step   13 

  11. REPLACE TELEPHONE MICROPHONE ASSEMBLY 
    1. Replace the telephone microphone assembly. Refer to REMOVAL [03/2012 - ] .
    2. Check if the same malfunction recurs.

      Result

      Result Proceed to
      Malfunction does not recur
      (returns to normal)
      A
      Malfunction recurs B

    B → See step   16 

    A → END 

  12. REPLACE MULTI-MEDIA MODULE RECEIVER ASSEMBLY. Refer to  REMOVAL [03/2012 - 07/2012] 
  13. PROCEED TO NEXT SUSPECTED AREA SHOWN IN PROBLEM SYMPTOMS TABLE. Refer to  PROBLEM SYMPTOMS TABLE [03/2012 - 07/2012] 
  14. REPLACE MULTI-MEDIA MODULE RECEIVER ASSEMBLY. Refer to  REMOVAL [03/2012 - 07/2012] 
  15. REPLACE DCM (TELEMATICS TRANSCEIVER). Refer to  REMOVAL [03/2012 - 07/2012] 
  16. REPLACE MAP LIGHT ASSEMBLY. Refer to  REMOVAL [03/2012 - ]