LEMON Manuals: Even more car manuals for everyone: 1960-2025
Home >> Lexus >> 2013 >> RX 350 Base, AWD >> Repair and Diagnosis (Single Page) >> Steering >> Steering Column >> Steering Lock System (Diagnostic Codes & Symptom Tests) >> Steering Lock System >> DTC B2782: Power Source Control ECU Malfunction [03/2012 - 07/2012] >> Procedure
April 5, 2026: LEMON Manuals is launched! Read the announcement.

DTC B2782: Power Source Control ECU Malfunction [03/2012 - 07/2012]: Procedure

  1. INSPECT STEERING LOCK ECU (STEERING LOCK ACTUATOR ASSEMBLY) 
    1. Disconnect the F37 steering lock ECU connector.
      GTY273238Courtesy of © TOYOTA, LICENSE AGREEMENT TMS1002
    2. Measure the resistance according to the value(s) in the table below.

      Standard Resistance

      Tester Connection Condition Specified Condition
      F37-1 (GND) - Body ground Always Below 1 Ω
      TEXT IN ILLUSTRATION

      *1 Front view of wire harness connector
      (to Steering Lock ECU)
    3. Reconnect the F37 steering lock ECU connector.
      GTY268248Courtesy of © TOYOTA, LICENSE AGREEMENT TMS1002
    4. Measure the voltage according to the value(s) in the table below.

      Standard Voltage

      Tester Connection Condition Specified Condition
      F37-3 (IGE) - F37-1 (GND) Specified condition is checked after performing the following:
      1. Turn the engine switch off
      2. Turn the engine switch on (ACC or IG)
      • Motor activated: Below 1 V
      • Motor not activated: 10 to 12 V
      F37-3 (IGE) - F37-1 (GND) Specified condition is checked after performing the following:
      1. Move the shift lever to P
      2. Turn the engine switch off
      3. Open the driver door
      • Motor activated: Below 1 V
      • Motor not activated: 10 to 14 V
      TEXT IN ILLUSTRATION

      *1 Component with harness connected
      (Steering Lock ECU)

      HINT: 

      When the steering lock is activated and the engine switch is turned on (IG), the steering lock motor activates to release the steering lock. The motor operation occurs for 2 to 15 seconds.

    NG → See step   4 

    OK: Go to next step 

  2. CLEAR DTC 
    1. Clear the DTC. Refer to DTC CHECK / CLEAR [03/2012 - ] .
    2. Disconnect and reconnect the cable to the negative (-) battery terminal to clear the malfunction history of Power Supply Open.

    NEXT: Go to next step 

  3. READ VALUE USING TECHSTREAM (POWER SUPPLY OPEN) 
    1. Check for DTCs. Refer to DTC CHECK / CLEAR [03/2012 - ] .
    2. Use the Data List to check if the steering lock control is functioning properly.

      Smart Access

      Tester Display Measurement Item/Range Normal Condition Diagnostic Note
      Power Supply Open Open in ECU record/
      NG (Past) or OK
      NG (Past): Open in ECU
      OK: No malfunction
      -
      RESULT

      Result Proceed to
      • B2782 is not output.
      • "OK" is displayed on the Techstream.
      A
      • B2782 is output.
      • "NG (Past)" is displayed on the Techstream.
      B

    B → See step   6 

    A → See step   7 

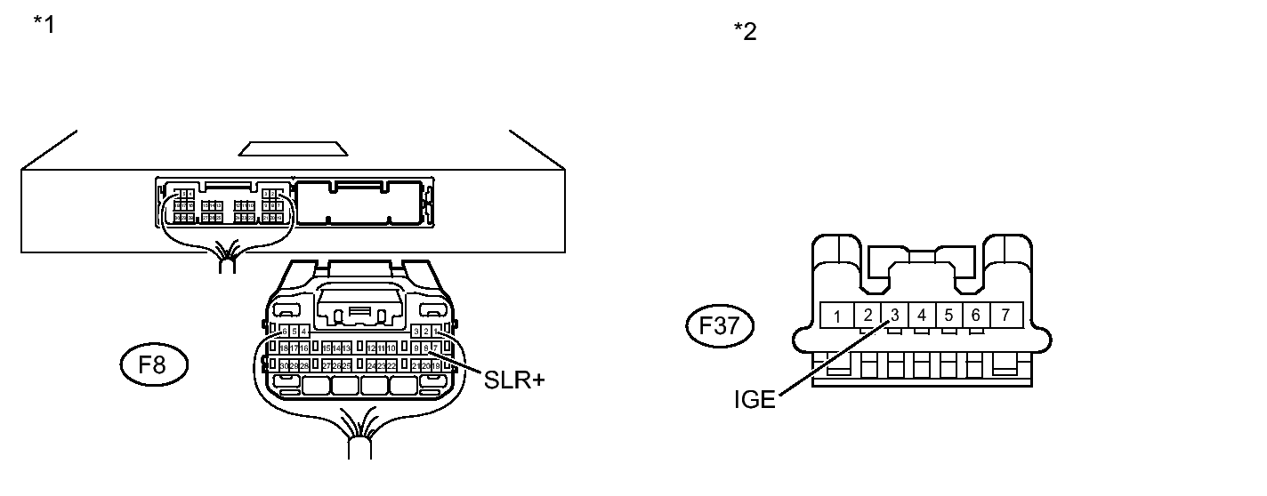
  4. CHECK HARNESS AND CONNECTOR (STEERING LOCK ECU - POWER MANAGEMENT CONTROL ECU AND BODY GROUND) 
    1. Disconnect the F8 power management control ECU connector.
      GTY276554Courtesy of © TOYOTA, LICENSE AGREEMENT TMS1002
    2. Disconnect the F37 steering lock ECU connector.
    3. Measure the resistance according to the value(s) in the table below.

      Standard Resistance

      Tester Connection Condition Specified Condition
      F37-3 (IGE) - F8-8 (SLR+) Always Below 1 Ω
      F37-3 (IGE) or F8-8 (SLR+) - Body ground Always 10 kΩ or higher
      TEXT IN ILLUSTRATION

      *1 Rear view of wire harness connector
      (to Power Management Control ECU)
      *2 Front view of wire harness connector
      (to Steering Lock ECU)

    NG → REPAIR OR REPLACE HARNESS OR CONNECTOR 

    OK → See step   5 

  5. REPLACE POWER MANAGEMENT CONTROL ECU. Refer to  REMOVAL [03/2012 - ] 
  6. REPLACE STEERING LOCK ECU (STEERING LOCK ACTUATOR ASSEMBLY). Refer to  DISASSEMBLY [03/2012 - ] 
  7. USE SIMULATION METHOD TO CHECK. Refer to  HOW TO PROCEED WITH TROUBLESHOOTING [03/2012 - 07/2012]