LEMON Manuals: Even more car manuals for everyone: 1960-2025
Home >> Lexus >> 2015 >> ES 300h >> Repair and Diagnosis (Single Page) >> Accessories & Equipment >> Anti-Theft Systems >> Smart Access System With Push-Button Start (Keyless Entry) (Diagnostic Codes & Symptom Tests) >> SMART ACCESS SYSTEM WITH PUSH-BUTTON START (for Entry Function) >> All Door Entry Lock/Unlock Functions and Wireless Functions do not Operate [08/2014 - ] >> Procedure
April 5, 2026: LEMON Manuals is launched! Read the announcement.

All Door Entry Lock/Unlock Functions and Wireless Functions do not Operate [08/2014 - ]: Procedure

  1. INSPECT AUXILIARY BATTERY VOLTAGE 
    1. Measure the voltage of the auxiliary battery with the power switch off.

      Standard Voltage

      11 to 14 V

      HINT: 

      It may be possible to tell whether the auxiliary battery is discharged by operating the horn.

      • If the voltage is below 11 V, recharge or replace the auxiliary battery before proceeding to the next step.

    NEXT: Go to next step 

  2. CHECK FOR DTC 
    1. Open the driver door using the mechanical key built into the electrical key transmitter sub-assembly.
    2. Connect the Techstream and check for DTCs. Refer to DTC CHECK / CLEAR [08/2014 - ] .

      HINT: 

      When using the Techstream with the vehicle power switch off, connect the Techstream to the vehicle and turn a courtesy light switch on and off at intervals of 1.5 seconds or less until communication between the Techstream and the vehicle begins. Then select the vehicle type under manual mode and enter the following menus: Body Electrical / Smart Access. While using the Techstream, periodically turn a courtesy light switch on and off at intervals of 1.5 seconds or less to maintain communication between the Techstream and the vehicle.

      OK

      DTCs are not output.

    NG → See step   40 

    OK: Go to next step 

  3. CHECK POWER DOOR LOCK CONTROL SYSTEM 
    1. When the door control switch on the multiplex network master switch assembly on the driver door is operated, check that the doors unlock and lock according to the switch operation. Refer to OPERATION CHECK [08/2014 - ] .

      OK

      Door locks operate normally.

    NG → See step   35 

    OK: Go to next step 

  4. SYSTEM CHECK 
    1. Check the system provided (multi-channel system or single channel system).

      Result

      Result Proceed to
      w/ Side Marker Light A
      w/o Side Marker Light B

    B → See step   6 

    A: Go to next step 

  5. CHECK KEY DIAGNOSTIC MODE 
    1. Check the following antennas in key diagnostic mode. Refer to OPERATION CHECK [08/2014 - ] .
    2. Select either channel 1 or channel 2 and inspect key diagnostic mode for each channel.

      HINT: 

      If the buzzer sounds with [CH1] displayed but not with [CH2], the electrical key transmitter sub-assembly cannot be detected by channel 2 due to a malfunction, such as wave interference.

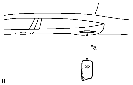
      1. Check the electrical key antenna (for driver door):
        GTY406402Courtesy of © TOYOTA, LICENSE AGREEMENT TMS1002
        TEXT IN ILLUSTRATION

        *a 0.7 to 1 m (2.30 to 3.28 ft.)

        When the electrical key transmitter sub-assembly is brought within 0.7 to 1 m (2.30 to 3.28 ft.) of the front door outside handle assembly (for driver door), check that the wireless door lock buzzer sounds.

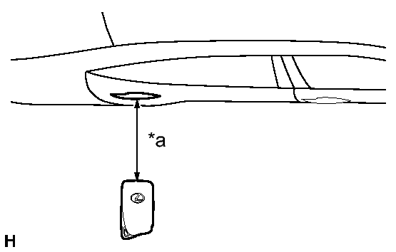
      2. Check the electrical key antenna (for front passenger door):
        GTY401811Courtesy of © TOYOTA, LICENSE AGREEMENT TMS1002
        TEXT IN ILLUSTRATION

        *a 0.7 to 1 m (2.30 to 3.28 ft.)

        When the electrical key transmitter sub-assembly is brought within 0.7 to 1 m (2.30 to 3.28 ft.) of the front door outside handle assembly (for front passenger door), check that the wireless door lock buzzer sounds.

      3. Check the electrical key antenna (for rear door LH):
        GTY419306Courtesy of © TOYOTA, LICENSE AGREEMENT TMS1002
        TEXT IN ILLUSTRATION

        *a 0.7 to 1 m (2.30 to 3.28 ft.)

        When the electrical key transmitter sub-assembly is brought within 0.7 to 1 m (2.30 to 3.28 ft.) of the rear door outside handle assembly (for rear door LH), check that the wireless door lock buzzer sounds.

      4. Check the electrical key antenna (for rear door RH):
        GTY402345Courtesy of © TOYOTA, LICENSE AGREEMENT TMS1002
        TEXT IN ILLUSTRATION

        *a 0.7 to 1 m (2.30 to 3.28 ft.)

        When the electrical key transmitter sub-assembly is brought within 0.7 to 1 m (2.30 to 3.28 ft.) of the rear door outside handle assembly (for rear door RH), check that the wireless door lock buzzer sounds.

      5. Check the NO. 1 indoor electrical key antenna assembly (front floor):
        GTY416829Courtesy of © TOYOTA, LICENSE AGREEMENT TMS1002
        TEXT IN ILLUSTRATION

        *a Inspection Point

        When the electrical key transmitter sub-assembly is at the inspection point, check that the wireless door lock buzzer sounds.

      6. Check the NO. 1 indoor electrical key antenna assembly (rear floor):
        GTY413621Courtesy of © TOYOTA, LICENSE AGREEMENT TMS1002
        TEXT IN ILLUSTRATION

        *a Inspection Point

        When the electrical key transmitter sub-assembly is at the inspection point, check that the wireless door lock buzzer sounds.

      7. Check the electrical key antenna (outside luggage):
        GTY409561Courtesy of © TOYOTA, LICENSE AGREEMENT TMS1002
        TEXT IN ILLUSTRATION

        *a 0.7 to 1 m (2.30 to 3.28 ft.)

        When the electrical key transmitter sub-assembly is brought within 0.7 to 1 m (2.30 to 3.28 ft.) of the electrical key antenna (outside luggage), check that the wireless door lock buzzer sounds.

        OK

        Wireless door lock buzzer sounds.

        Result

        Result Proceed to
        Diagnostic mode inspections fail for both channels A
        Diagnostic mode inspections succeed for both channels B
        Diagnostic mode inspection succeeds for only one of the channels C

    B → See step   11 

    C → See step   25 

    A: Go to next step 

  6. CHECK ELECTRICAL KEY TRANSMITTER SUB-ASSEMBLY 
    1. Check if there is another electrical key transmitter sub-assembly available that is already registered to the vehicle.

      Result

      Result Proceed to
      Another registered electrical key transmitter sub-assembly is not available A
      Another registered electrical key transmitter sub-assembly is available B

    B → See step   8 

    A: Go to next step 

  7. ELECTRICAL KEY TRANSMITTER SUB-ASSEMBLY REGISTRATION (NEW ELECTRICAL KEY TRANSMITTER SUB-ASSEMBLY) 
    1. Register a new electrical key transmitter sub-assembly. Refer to REGISTRATION [08/2014 - ] .

    NEXT: Go to next step 

  8. CHECK ENTRY DOOR LOCK OPERATION 
    1. Using another registered electrical key transmitter sub-assembly, check if an entry lock/unlock operation can be performed twice in succession.

      OK

      Entry lock/unlock operate normally.

    NG → See step   14 

    OK: Go to next step 

  9. CHECK TRANSMITTER BATTERY 
    1. Check the transmitter battery level of the electrical key transmitter sub-assembly that was checked first.
      1. Press and hold the lock switch of the transmitter for 5 seconds and check the number of times that the transmitter LED illuminates.

        Result

        Result Proceed to
        Transmitter LED does not illuminate when switch is pressed and held A
        Transmitter LED illuminates 3 times or more when switch is pressed and held B
        Transmitter LED illuminates once or twice but not a third time C

        HINT: 

        • The electrical key transmitter sub-assembly sends voltage information to the certification ECU (smart key ECU assembly) when it is being used. The certification ECU (smart key ECU assembly) displays "Yes" for the "Key Low Battery" item of the Data List when this voltage information indicates 2.2 V or less. Refer to DATA LIST / ACTIVE TEST [08/2014 - ] .
        • Even if the transmitter battery is depleted, it is still possible to start the hybrid system by holding the electrical key transmitter sub-assembly near the power switch, depressing the brake pedal and pressing the power switch.

    B → REPLACE ELECTRICAL KEY TRANSMITTER SUB-ASSEMBLY 

    C → See step   37 

    A: Go to next step 

  10. INSPECT TRANSMITTER BATTERY (VOLTAGE) 
    1. Inspect the transmitter battery.
      1. Remove the transmitter battery from the electrical key transmitter sub-assembly that does not operate. Refer to REPLACEMENT [08/2014 - ] .
        GTY412723Courtesy of © TOYOTA, LICENSE AGREEMENT TMS1002
      2. Attach a lead wire (0.60 mm (0.0236 in.) in diameter or less including wire sheath) with tape or equivalent to the negative terminal.
        TEXT IN ILLUSTRATION

        *1 Lead Wire
        NOTE:

        Do not wrap the lead wire around a terminal, wedge it between terminals, or solder it. The terminal may be deformed or damaged, and the transmitter battery will not be able to be installed correctly.

      3. Carefully pull the lead wire out from the position shown in the illustration and install the previously removed transmitter battery.
      4. Measure the voltage of the transmitter battery.

        HINT: 

        • When measuring the transmitter battery voltage, bring the electrical key transmitter sub-assembly within the lock entry operating range while operating the lock sensor of a door handle to perform the measurement.
        • Perform the measurement when the key is at room temperature.
        • The key sends voltage information to the certification ECU (smart key ECU assembly) when it is transmitting. When this voltage is 2.2 V or less the Data List item "Key Low Battery" displays "Yes". Refer to DATA LIST / ACTIVE TEST [08/2014 - ] .
        GTY418307Courtesy of © TOYOTA, LICENSE AGREEMENT TMS1002
        TEXT IN ILLUSTRATION

        *1 GND

        Standard Voltage

        Tester Connection Condition Specified Condition
        Transmitter battery positive (+) - Transmitter battery negative (-) Power switch off, all doors closed and lock sensor touched 2.3 to 3.2 V

    NG → See step   37 

    OK → REPLACE ELECTRICAL KEY TRANSMITTER SUB-ASSEMBLY 

  11. B CODE REGISTRATION 
    1. Perform registration for the B code.
      NOTE:

      In order to register the B code, confirm smart access system with push-button start (for Entry Function) Precaution. Refer to PRECAUTION [08/2014 - ] and refer to registration. Refer to REGISTRATION [08/2014 - ] .

    NEXT: Go to next step 

  12. CHECK ENTRY DOOR LOCK OPERATION 
    1. Check that the entry lock/unlock operation can be performed twice in succession. Refer to OPERATION CHECK [08/2014 - ] .

      OK

      Entry lock/unlock operate normally.

    NG → See step   13 

    OK → END (B CODE WAS NOT REGISTERED) 

  13. READ VALUE USING TECHSTREAM 
    1. Connect the Techstream to the DLC3.
    2. Turn the power switch on (IG).
    3. Turn the Techstream on.
    4. Enter the following menus: Body Electrical / Smart Access / Data List.
    5. Read the Data List according to the display on the Techstream.
      SMART ACCESS

      Tester Display Measurement Item/Range Normal Condition Diagnostic Note
      B Code Difference B code mismatch / No or Yes No: Communication normal
      Yes: Communication malfunction
      -
      B Code B code registration status / No Regd or Regd No Regd: B code not registered correctly
      Regd: B code registered correctly
      -
      RESULT

      Result Proceed to
      "No" and "No Regd" are displayed on the Techstream screen A
      "Yes" is displayed on the Techstream screen B
      "Yes" and "No Regd" are displayed on the Techstream screen C

    B → See step   36 

    C → See step   34 

    A: Go to next step 

  14. CHECK WAVE ENVIRONMENT 
    1. Bring the electrical key transmitter sub-assembly near the door control receiver and perform a wireless and entry function operation check.

      HINT: 

      • When the electrical key transmitter sub-assembly is brought near the door control receiver, the possibility of wave interference decreases, and it can be determined if wave interference is causing the problem symptom.
      • If the inspection result is that the problem only occurs in certain locations or at certain times of day, the possibility of wave interference is high. Also, added vehicle components may cause wave interference. If installed, remove them and perform the operation check.
      • There may be wave interference if the vehicle is near broadcasting antennas, large video displays, wireless garage door opener systems, wireless security cameras, home security systems, etc. In this case, move the vehicle to a different location and check if there is any improvement.
      • If a tool for checking radio waves, such as a signal strength meter, is available, move around the area while observing both the LF band (used by the vehicle antenna to form the detection area) and RF band (used by the electrical key transmitter sub-assembly for transmission) to check for locations where there is wave interference.

      OK

      Wireless and entry functions operate normally.

      Result

      Result Proceed to
      OK A
      NG (w/ Side Marker Light) B
      NG (w/o Side Marker Light) C

    B → See step   15 

    C → See step   17 

    A → AFFECTED BY WAVE INTERFERENCE 

  15. CHECK CERTIFICATION ECU (SMART KEY ECU ASSEMBLY) 
    1. Measure the voltage according to the value(s) in the table below.
      GTY406770Courtesy of © TOYOTA, LICENSE AGREEMENT TMS1002
      TEXT IN ILLUSTRATION

      *a Component with harness connected
      (Power Management Control ECU)
      - -
    2. Connect the Techstream to the DLC3.
    3. Turn the power switch on (IG).
    4. Turn the Techstream on.
    5. Enter the following menus: Body Electrical / Power Source Control / Data List.
    6. Read the Data List according to the display on the Techstream.
      POWER SOURCE CONTROL

      Tester Display Measurement Item/Range Normal Condition Diagnostic Note
      Power Supply Condition Power supply state/IG2 ON, ST ON, All OFF, IG1 ON or ACC ON ALL OFF: Power switch off
      ACC ON: Power switch on (ACC) (ACC relay on)
      IG1 ON: Power switch on (IG) (IG1 relay on)
      IG2 ON: Power switch on (IG) (IG2 relay on)
      ST ON: Sending hybrid system start request signal
      Since the IG1 and IG2 relays turn on at approximately the same time, IG1 ON may not be displayed (the IG1 relay turns on for a very short time).
    7. Measure the voltage while checking the Data List on the Techstream.

      Standard Voltage

      Tester Connection Condition Specified Condition
      H2-2 (IG1D) - Body ground Power switch off Below 1 V
      Power switch on (ACC) Below 1 V
      Power switch on (IG) 9 V or higher
      A33-2 (IG2D) - Body ground Power switch off Below 1 V
      Power switch on (ACC) Below 1 V
      Power switch on (IG) 9 V or higher
      H2-1 (ACCD) - Body ground Power switch off Below 1 V
      Power switch on (IG) 9 V or higher
      Power switch on (ACC) 9 V or higher

      HINT: 

      Using the Techstream, measure the voltage while confirming the power source mode on the Data List.

    NG → See step   42 

    OK: Go to next step 

  16. READ VALUE USING TECHSTREAM 
    1. Connect the Techstream to the DLC3.
    2. Turn the power switch on (IG).
    3. Turn the Techstream on.
    4. Enter the following menus: Body Electrical / Smart Access / Data List.
    5. Read the Data List according to the display on the Techstream.
      SMART ACCESS

      Tester Display Measurement Item/Range Normal Condition Diagnostic Note
      Ignition Switch Power switch on (IG) / ON or OFF ON: Power switch on (IG)
      OFF: Power switch off
      • Displays whether the IG power source signal input is on or off.
      • Use this Data List item to help determine the cause when all smart access system with push-button start/wireless functions do not operate.
      • If the electrical key transmitter sub-assembly is brought inside the vehicle and the power switch is pressed twice without depressing the brake pedal, the power switch will turn on (IG). At this time, the key ID code transmitted from the electrical key transmitter sub-assembly and the key ID code stored in the certification ECU (smart key ECU assembly) are compared, and the S code stored in the certification ECU (smart key ECU assembly) and the code stored in the ID code box (immobilizer code ECU) are compared, and if all codes match, the power source mode is considered on (IG) at that time.

    NG → CHECK RELAY CONTACT SIDE CIRCUIT 

    OK: Go to next step 

  17. READ VALUE USING TECHSTREAM 
    1. Connect the Techstream to the DLC3.
    2. Turn the power switch on (IG).
    3. Turn the Techstream on.
    4. Enter the following menus: Body Electrical / Main Body / Data List.
    5. Read the Data List according to the display on the Techstream.
      MAIN BODY

      Tester Display Measurement Item/Range Normal Condition Diagnostic Note
      ACC SW Power switch status / ON or OFF ON: Power switch on (ACC)
      OFF: Power switch off
      -
      IG SW Power switch status / ON or OFF ON: Power switch on (IG)
      OFF: Power switch off
      -

    NG → See step   38 

    OK: Go to next step 

  18. CHECK HARNESS AND CONNECTOR (CERTIFICATION ECU - AUXILIARY BATTERY AND BODY GROUND) 
    1. Disconnect the H57 and H58 certification ECU (smart key ECU assembly) connectors.
      GTY418400Courtesy of © TOYOTA, LICENSE AGREEMENT TMS1002
    2. Measure the resistance according to the value(s) in the table below.

      Standard Resistance

      Tester Connection Condition Specified Condition
      H57-1 (E) - Body ground Always Below 1 Ω
    3. Measure the voltage according to the value(s) in the table below.

      Standard Voltage

      Tester Connection Condition Specified Condition
      H58-4 (CUTB) - Body ground Power switch off 11 to 14 V
      H58-5 (+B) - Body ground Power switch off 11 to 14 V
      TEXT IN ILLUSTRATION

      *a Front view of wire harness connector
      (to Certification ECU (Smart Key ECU Assembly))
      - -

    NG → REPAIR OR REPLACE HARNESS OR CONNECTOR 

    OK: Go to next step 

  19. CHECK HARNESS AND CONNECTOR (CERTIFICATION ECU - DOOR CONTROL RECEIVER) 
    1. w/o Side Marker Light:
      1. Disconnect the Q1 certification ECU (smart key ECU assembly) connector.
      2. Disconnect the P30 door control receiver connector.
      3. Measure the resistance according to the value(s) in the table below.

        Standard Resistance

        Tester Connection Condition Specified Condition
        Q1-15 (RCO) - P30-4 (+5) Always Below 1 Ω
        Q1-6 (RDAM) - P30-5 (DATA) Always Below 1 Ω
        Q1-7 (CSEL) - P30-2 (CSEL) Always Below 1 Ω
        Q1-15 (RCO) or P30-4 (+5) - Body ground Always 10 kΩ or higher
        Q1-6 (RDAM) or P30-5 (DATA) - Body ground Always 10 kΩ or higher
        Q1-7 (CSEL) or P30-2 (CSEL) - Body ground Always 10 kΩ or higher
    2. w/ Side Marker Light:
      1. Disconnect the Q1 certification ECU (smart key ECU assembly) connector.
      2. Disconnect the P29 door control receiver connector.
      3. Measure the resistance according to the value(s) in the table below.

        Standard Resistance

        Tester Connection Condition Specified Condition
        Q1-15 (RCO) - P29-10 (+5) Always Below 1 Ω
        Q1-6 (RDAM) - P29-9 (DATA) Always Below 1 Ω
        Q1-7 (CSEL) - P29-6 (CSEL) Always Below 1 Ω
        Q1-15 (RCO) or P29-10 (+5) - Body ground Always 10 kΩ or higher
        Q1-6 (RDAM) or P29-9 (DATA) - Body ground Always 10 kΩ or higher
        Q1-7 (CSEL) or P29-6 (CSEL) - Body ground Always 10 kΩ or higher

    NG → REPAIR OR REPLACE HARNESS OR CONNECTOR 

    OK: Go to next step 

  20. CHECK DOOR CONTROL RECEIVER 
    1. Connect the P30*1 or P29*2 door control receiver connector.
      GTY407043Courtesy of © TOYOTA, LICENSE AGREEMENT TMS1002
    2. Connect the Q1 certification ECU (smart key ECU assembly) connector.
    3. Measure the resistance according to the value(s) in the table below.

      Standard Resistance

      Tester Connection Condition Specified Condition
      P30-1 (GND)*1 - Body ground Always Below 1 Ω
      P29-12 (GND)*2 - Body ground
      TEXT IN ILLUSTRATION

      *A w/o Side Marker Light
      *B w/ Side Marker Light
      *a Component with harness connected
      (Door Control Receiver)
      • *1: w/o Side Marker Light
      • *2: w/ Side Marker Light

      Result

      Result Proceed to
      OK A
      NG (w/o Side Marker Light) B
      NG (w/ Side Marker Light) C

    B → See step   39 

    C → See step   41 

    A: Go to next step 

  21. CHECK CERTIFICATION ECU (SMART KEY ECU ASSEMBLY) 
    1. w/o Side Marker Light:
      1. Connect the Q1 certification ECU (smart key ECU assembly) connector.
      2. Connect the P30 door control receiver connector.
      3. Measure the voltage according to the value(s) in the table below.
        GTY419535Courtesy of © TOYOTA, LICENSE AGREEMENT TMS1002

        Standard Voltage

        Tester Connection Condition Specified Condition
        P30-4 (+5) - P30-1 (GND) Procedure:
        1. Power switch off
        2. Electrical key transmitter sub-assembly switch not pressed
        Below 1 V
        Procedure:
        1. Power switch off
        2. Electrical key transmitter sub-assembly switch pressed
        4.5 to 5.5 V
        TEXT IN ILLUSTRATION

        *a Component with harness connected
        (Door Control Receiver)
    2. w/ Side Marker Light:
      1. Connect the Q1 certification ECU (smart key ECU assembly) connector.
      2. Connect the P29 door control receiver connector.
      3. Measure the voltage according to the value(s) in the table below.
        GTY397418Courtesy of © TOYOTA, LICENSE AGREEMENT TMS1002

        Standard Voltage

        Tester Connection Condition Specified Condition
        P29-10 (+5) - P29-12 (GND) Procedure:
        1. Power switch off
        2. Electrical key transmitter sub-assembly switch not pressed
        Below 1 V
        Procedure:
        1. Power switch off
        2. Electrical key transmitter sub-assembly switch pressed
        4.5 to 5.5 V
        P29-6 (CSEL) - P29-12 (GND) Power switch off and all doors closed Below 1 V → 4.4 to 6.5 V → Below 1 V
        P29-1 (IG) - P29-12 (GND) Power switch on (IG) 10 to 16 V
        TEXT IN ILLUSTRATION

        *a Component with harness connected
        (Door Control Receiver)

    NG → See step   34 

    OK: Go to next step 

  22. CHECK DOOR CONTROL RECEIVER 
    1. w/o Side Marker Light:
      1. Connect the Q1 certification ECU (smart key ECU assembly) connector.
      2. Connect the P30 door control receiver connector.
      3. Measure the voltage according to the value(s) in the table below.
        GTY412457Courtesy of © TOYOTA, LICENSE AGREEMENT TMS1002

        Standard Voltage

        Tester Connection Condition Specified Condition
        P30-5 (DATA) - P30-1 (GND) Procedure:
        1. All doors closed
        2. All doors locked
        3. Electrical key transmitter sub-assembly switch pressed
        Below 1 V → 11 to 14 V → Below 1 V
        P30-2 (CSEL) - P30-1 (GND) Procedure:
        1. Power switch off
        2. All doors closed
        Below 1 V → 4.4 to 6.5 V → Below 1 V
        TEXT IN ILLUSTRATION

        *a Component with harness connected
        (Door Control Receiver)
    2. w/ Side Marker Light:
      1. Connect the Q1 certification ECU (smart key ECU assembly) connector.
      2. Connect the P29 door control receiver connector.
      3. Measure the voltage according to the value(s) in the table below.
        GTY397417Courtesy of © TOYOTA, LICENSE AGREEMENT TMS1002

        Standard Voltage

        Tester Connection Condition Specified Condition
        P29-9 (DATA) - P29-12 (GND) Procedure:
        1. All doors closed
        2. All doors locked
        3. Electrical key transmitter sub-assembly switch pressed
        Below 1 V → 10 to 16 V → Below 1 V
        P29-6 (CSEL) - P29-12 (GND) Procedure:
        1. Power switch off
        2. All doors closed
        Below 1 V → 4.5 to 6 V → Below 1 V
        TEXT IN ILLUSTRATION

        *a Component with harness connected
        (Door Control Receiver)

        Result

        Result Proceed to
        OK A
        NG (w/o Side Marker Light) B
        NG (w/ Side Marker Light) C

    B → See step   39 

    C → See step   41 

    A: Go to next step 

  23. REPLACE CERTIFICATION ECU (SMART KEY ECU ASSEMBLY) 
    1. Temporarily replace the certification ECU (smart key ECU assembly) with a new one.

      HINT: 

    NEXT: Go to next step 

  24. CHECK WIRELESS DOOR LOCK CONTROL SYSTEM 
    1. Check that the wireless door lock functions operate normally. Refer to OPERATION CHECK [08/2014 - ] .

      OK

      Wireless door lock functions operate normally.

    NG → See step   36 

    OK → END (CERTIFICATION ECU (SMART KEY ECU ASSEMBLY) WAS DEFECTIVE) 

  25. CHECK WAVE ENVIRONMENT 
    1. Bring the electrical key transmitter sub-assembly that was checked first near the door control receiver and select the failed channel (the channel in which the buzzer did not sound) to recheck key diagnostic mode. Refer to OPERATION CHECK [08/2014 - ] .

      HINT: 

      • When the electrical key transmitter sub-assembly is brought near the door control receiver, the possibility of wave interference decreases, and it can be determined if wave interference is causing the problem symptom.
      • If the inspection result is that the problem only occurs in certain locations or at certain times of day, the possibility of wave interference is high. Also, added vehicle components may cause wave interference. If installed, remove them and perform the operation check.
      • There may be wave interference if the vehicle is near broadcasting antennas, large video displays, wireless garage door opener systems, wireless security cameras, home security systems, etc. In this case, move the vehicle to a different location and check if there is any improvement.
      • If a tool for checking radio waves, such as a signal strength meter, is available, move around the area while observing both the LF band (used by the vehicle antenna to form the detection area) and RF band (used by the electrical key transmitter sub-assembly for transmission) to check for locations where there is wave interference.

      OK

      Wireless door lock buzzer sounds.

    NG → See step   26 

    OK → AFFECTED BY WAVE INTERFERENCE 

  26. CHECK ELECTRICAL KEY TRANSMITTER SUB-ASSEMBLY 
    1. Check if there is another electrical key transmitter sub-assembly available that is already registered to the vehicle.

      Result

      Result Proceed to
      Another registered electrical key transmitter sub-assembly is not available A
      Another registered electrical key transmitter sub-assembly is available B

    B → See step   28 

    A: Go to next step 

  27. ELECTRICAL KEY TRANSMITTER SUB-ASSEMBLY REGISTRATION (NEW ELECTRICAL KEY TRANSMITTER SUB-ASSEMBLY) 
    1. Register a new electrical key transmitter sub-assembly. Refer to REGISTRATION [08/2014 - ] .

    NEXT: Go to next step 

  28. CHECK KEY DIAGNOSTIC MODE 
    1. Bring another registered electrical key transmitter sub-assembly near the door control receiver and select the failed channel (the channel in which the buzzer did not sound) to recheck key diagnostic mode. Refer to OPERATION CHECK [08/2014 - ] .

      OK

      Wireless door lock buzzer sounds.

    NG → See step   29 

    OK → END (ELECTRICAL KEY TRANSMITTER SUB-ASSEMBLY THAT WAS INSPECTED FIRST WAS DEFECTIVE) 

  29. CHECK HARNESS AND CONNECTOR (CERTIFICATION ECU - DOOR CONTROL RECEIVER) 
    1. Disconnect the Q1 certification ECU (smart key ECU assembly) connector.
    2. Disconnect the P29 door control receiver connector.
    3. Measure the resistance according to the value(s) in the table below.

      Standard Resistance

      Tester Connection Condition Specified Condition
      Q1-7 (CSEL) - P29-6 (CSEL) Always Below 1 Ω
      Q1-7 (CSEL) or P29-6 (CSEL) - Body ground Always 10 kΩ or higher

    NG → REPAIR OR REPLACE HARNESS OR CONNECTOR 

    OK: Go to next step 

  30. CHECK CERTIFICATION ECU (SMART KEY ECU ASSEMBLY) 
    1. Connect the Q1 certification ECU (smart key ECU assembly) connector.
    2. Connect the P29 door control receiver connector.
    3. Measure the voltage according to the value(s) in the table below.
      GTY397420Courtesy of © TOYOTA, LICENSE AGREEMENT TMS1002

      Standard Voltage

      Tester Connection Condition Specified Condition
      P29-6 (CSEL) - P29-12 (GND) Power switch off and all doors closed Below 1 V → 4.5 to 6 V → Below 1 V
      TEXT IN ILLUSTRATION

      *a Component with harness connected
      (Door Control Receiver)

    NG → See step   34 

    OK: Go to next step 

  31. CHECK DOOR CONTROL RECEIVER 
    1. Connect the Q1 certification ECU (smart key ECU assembly) connector.
    2. Connect the P29 door control receiver connector.
    3. Measure the voltage according to the value(s) in the table below.

      HINT: 

      Inspection should be performed while the electrical key antenna check in key diagnostic mode is being performed on the failed channel (the channel in which the buzzer did not sound).

      GTY397419Courtesy of © TOYOTA, LICENSE AGREEMENT TMS1002

      Standard Voltage

      Tester Connection Condition Specified Condition
      P29-9 (DATA) - P29-12 (GND) Procedure:
      1. All doors closed
      2. All doors locked
      3. Electrical key transmitter sub-assembly switch pressed*
      Below 1 V → 10 to 16 V → Below 1 V
      TEXT IN ILLUSTRATION

      *a Component with harness connected
      (Door Control Receiver)

    NG → See step   41 

    OK: Go to next step 

  32. REPLACE CERTIFICATION ECU (SMART KEY ECU ASSEMBLY) 
    1. Temporarily replace the certification ECU (smart key ECU assembly) with a new one.

      HINT: 

    NEXT: Go to next step 

  33. CHECK WIRELESS DOOR LOCK CONTROL SYSTEM 
    1. Check that the wireless door lock functions operate normally. Refer to OPERATION CHECK [08/2014 - ] .

      OK

      Wireless door lock functions operate normally.

    NG → See step   36 

    OK → END (CERTIFICATION ECU (SMART KEY ECU ASSEMBLY) WAS DEFECTIVE) 

  34. REPLACE CERTIFICATION ECU (SMART KEY ECU ASSEMBLY). Refer to  REMOVAL [08/2014 - ] 
  35. GO TO POWER DOOR LOCK CONTROL SYSTEM. Refer to  HOW TO PROCEED WITH TROUBLESHOOTING [08/2014 - ] 
  36. REPLACE MAIN BODY ECU (MULTIPLEX NETWORK BODY ECU). Refer to  REMOVAL [08/2014 - ] 
  37. REPLACE TRANSMITTER BATTERY. Refer to  REPLACEMENT [08/2014 - ] 
  38. TROUBLESHOOT MAIN BODY ECU (MULTIPLEX NETWORK BODY ECU). Refer to  TERMINALS OF ECU [08/2014 - ] 
  39. REPLACE DOOR CONTROL RECEIVER. Refer to  REMOVAL [08/2014 - ] 
  40. GO TO DIAGNOSTIC TROUBLE CODE CHART. Refer to  DIAGNOSTIC TROUBLE CODE CHART [08/2014 - ] 
  41. REPLACE DOOR CONTROL AND TIRE PRESSURE MONITORING SYSTEM RECEIVER ASSEMBLY. Refer to  REMOVAL [08/2014 - ] 
  42. REPLACE POWER MANAGEMENT CONTROL ECU. Refer to  REMOVAL [08/2014 - ]