LEMON Manuals: Even more car manuals for everyone: 1960-2025
Home >> Lexus >> 2015 >> ES 300h >> Repair and Diagnosis (Single Page) >> Accessories & Equipment >> Anti-Theft Systems >> Smart Access System With Push-Button Start (Keyless Entry) (Diagnostic Codes & Symptom Tests) >> SMART ACCESS SYSTEM WITH PUSH-BUTTON START (for Entry Function) >> Rear Door RH Entry Unlock Function does not Operate [08/2014 - ] >> Procedure
April 5, 2026: LEMON Manuals is launched! Read the announcement.

Rear Door RH Entry Unlock Function does not Operate [08/2014 - ]: Procedure

  1. CHECK POWER DOOR LOCK CONTROL SYSTEM 
    1. When the door control switch on the multiplex network master switch assembly is operated, check that the doors unlock and lock according to the switch operation. Refer to OPERATION CHECK [08/2014 - ] .

      OK

      Door locks operate normally.

    NG → See step   6 

    OK: Go to next step 

  2. READ VALUE USING TECHSTREAM 
    1. Connect the Techstream to the DLC3.
    2. Turn the power switch on (IG).
    3. Turn the Techstream on.
    4. Enter the following menus: Body Electrical / Main Body / Data List.
    5. Read the Data List according to the display on the Techstream.
      MAIN BODY

      Tester Display Measurement Item/Range Normal Condition Diagnostic Note
      RR-Door Lock Pos SW Rear door RH and LH unlock detection switch signal / ON or OFF ON: Rear door RH or LH unlocked
      OFF: Rear door RH and LH locked
      -

      OK

      The Techstream display changes correctly in response to the lock/unlock operation of the rear door LH/RH.

    NG → See step   9 

    OK: Go to next step 

  3. READ VALUE USING TECHSTREAM 
    1. Connect the Techstream to the DLC3.
    2. Turn the power switch on (IG).
    3. Turn the Techstream on.
    4. Enter the following menus: Body Electrical / Smart Access / Data List.
    5. Read the Data List according to the display on the Techstream.
      SMART ACCESS

      Tester Display Measurement Item/Range Normal Condition Diagnostic Note
      Pr-Door Touch Sensor* Rear door RH touch sensor (unlock sensor) / ON or OFF ON: Rear door RH touch sensor (unlock sensor) touched
      OFF: Rear door RH touch sensor (unlock sensor) not touched
      • Displays whether the unlock sensor is on or off (even if the sensor is touched and contact is maintained, "ON" is displayed only momentarily).
      • Use this Data List item to help determine if there is an unlock sensor malfunction when the entry unlock function does not operate.

      OK

      The Techstream display changes correctly in response to the operation of the rear door outside handle assembly RH (for rear door RH).

    NG → See step   4 

    OK → See step   7 

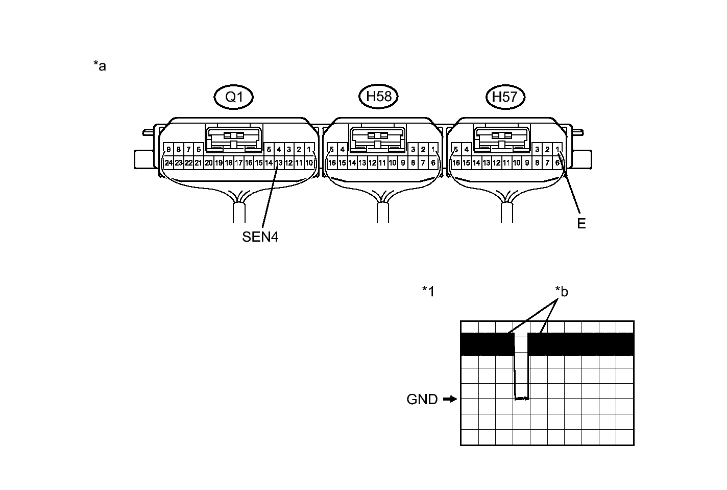
  4. CHECK HARNESS AND CONNECTOR (REAR DOOR OUTSIDE HANDLE ASSEMBLY RH - CERTIFICATION ECU AND BODY GROUND) 
    1. Disconnect the N8 rear door outside handle assembly RH (for rear door RH) connector.
    2. Disconnect the H57 and Q1 certification ECU (smart key ECU assembly) connectors.
    3. Measure the resistance according to the value(s) in the table below.

      Standard Resistance

      Tester Connection Condition Specified Condition
      N8-4 (SENS) - Q1-13 (SEN4) Always Below 1 Ω
      H57-1 (E) - Body ground Always Below 1 Ω
      N8-4 (SENS) or Q1-13 (SEN4) - Body ground Always 10 kΩ or higher

    NG → REPAIR OR REPLACE HARNESS OR CONNECTOR 

    OK: Go to next step 

  5. CHECK REAR DOOR OUTSIDE HANDLE ASSEMBLY RH (FOR REAR DOOR RH) (REAR DOOR RH UNLOCK SENSOR SIGNAL INPUT) 
    1. Connect the N8 rear door outside handle assembly RH (for rear door RH) connector.
      GTY406214Courtesy of © TOYOTA, LICENSE AGREEMENT TMS1002
      TEXT IN ILLUSTRATION

      *1 Waveform - -
      *a Component with harness connected
      (Certification ECU (Smart Key ECU Assembly))
      *b In actuality, sampling is being performed
    2. Connect the H57 and Q1 certification ECU (smart key ECU assembly) connectors.
    3. Using an oscilloscope, check the waveform.

      OK

      Tester Connection Condition Tool Setting Specified Condition
      Q1-13 (SEN4) - H57-1 (E) Procedure:
      1. Power switch off
      2. Electrical key transmitter sub-assembly brought outside vehicle
      3. All doors locked
      4. Electrical key transmitter sub-assembly not sufficiently close to vehicle
      5. rear door RH unlock sensor not touched → touched
      2 V/DIV., 500 ms/DIV. Pulse generation (See waveform)

    NG → See step   8 

    OK → See step   7 

  6. GO TO POWER DOOR LOCK CONTROL SYSTEM. Refer to  HOW TO PROCEED WITH TROUBLESHOOTING [08/2014 - ] 
  7. REPLACE CERTIFICATION ECU (SMART KEY ECU ASSEMBLY). Refer to  REMOVAL [08/2014 - ] 
  8. REPLACE REAR DOOR OUTSIDE HANDLE ASSEMBLY RH (FOR REAR DOOR RH). Refer to  DISASSEMBLY [08/2014 - ] 
  9. GO TO LIGHTING SYSTEM (Proceed to Door Unlock Detection Switch Circuit). Refer to  Door Unlock Detection Switch Circuit [08/2014 - ]