LEMON Manuals: Even more car manuals for everyone: 1960-2025
Home >> Lexus >> 2015 >> GS 350 Base, AWD >> Repair and Diagnosis >> Engine Performance >> System >> Engine Control System - Diagnostic Codes (3 Of 4) >> SFI System >> DTC P0705: Transmission Range Sensor Circuit Malfunction (PRNDL Input) [09/2014 - 10/2015] >> Procedure
April 5, 2026: LEMON Manuals is launched! Read the announcement.

DTC P0705: Transmission Range Sensor Circuit Malfunction (PRNDL Input) [09/2014 - 10/2015]: Procedure

  1. READ VALUE USING TECHSTREAM 
    1. Connect the Techstream to the DLC3.
    2. Turn the engine switch on (IG).
    3. Turn the Techstream on.
    4. Enter the following menus: Powertrain / Engine / Data List / All Data /
    5. According to the display on the Techstream.

      OK

      Tester Display Shift Lever Position Specified Condition
      Neutral Position SW Signal N → R → P ON → OFF → ON
      Shift SW Status (R Range) N → R OFF → ON
      Shift SW Status (P Range) P ON
      Shift SW Status (N Range) N ON
      Shift SW Status (D Range) N → D OFF → ON

    Result: 

    NG 

    See step  5

    Result: 

    OK 

    See step  2

  2. READ VALUE USING TECHSTREAM 
    1. Connect the Techstream to the DLC3.
    2. Turn the engine switch on (IG).
    3. Turn the Techstream on.
    4. Enter the following menus: Powertrain / Engine / Data List / All Data /
    5. According to the display on the Techstream.

      OK

      Tester Display Shift Lever Position Specified Condition
      Sports Mode Selection SW D → M OFF → ON

    Result: 

    OK 

    CHECK FOR INTERMITTENT PROBLEMS 

    (Refer to CHECK FOR INTERMITTENT PROBLEMS [09/2014 - 10/2015] )

    Result: 

    NG 

    See step  3

  3. INSPECT TRANSMISSION FLOOR SHIFT ASSEMBLY (TRANSMISSION CONTROL SWITCH) 
    1. Inspect the transmission control switch (Refer to PROCEDURE - Step 2 ).

    Result: 

    NG 

    REPLACE TRANSMISSION FLOOR SHIFT ASSEMBLY (TRANSMISSION CONTROL SWITCH) 

    (Refer to REMOVAL [09/2014 - 10/2015] )

    Result: 

    OK 

    See step  4

  4. CHECK HARNESS AND CONNECTOR (ECM CONNECTOR - BODY GROUND) 
    GTY664179Courtesy of © TOYOTA, LICENSE AGREEMENT TMS1002
    1. Disconnect the A21 ECM connector.
    2. Turn the engine switch on (IG).
    3. Measure the voltage according to the value(s) in the table below.

      Standard Voltage

      Tester Connection Shift Lever Position Switch Condition Specified Condition
      A21-16 (S) - Body ground M Engine switch on (IG) 11 to 14 V*
      Not in M Engine switch on (IG) 0 to 1.5 V*
      TEXT IN ILLUSTRATION

      *a Component without harness connected
      (ECM)

      HINT: 

      *: The voltage will drop slightly due to the turning on of the back-up light.

    Result: 

    OK 

    REPLACE ECM 

    (Refer to REMOVAL [09/2014 - 10/2015] )

    Result: 

    NG 

    REPAIR OR REPLACE HARNESS OR CONNECTOR 

  5. CHECK HARNESS AND CONNECTOR (BATTERY - PARK/NEUTRAL POSITION SWITCH) 
    GTY619009Courtesy of © TOYOTA, LICENSE AGREEMENT TMS1002
    1. Disconnect the F48 park/neutral position switch.
    2. Turn the engine switch on (IG).
    3. Measure the voltage according to the value(s) in the table below.

      Standard Voltage

      Tester Connection Switch Condition Specified Condition
      F48-2 (RB) - Body ground Engine switch on (IG) 11 to 14 V
      TEXT IN ILLUSTRATION

      *a Front view of wire harness connector
      (to Park/neutral Position Switch)

    Result: 

    NG 

    REPAIR OR REPLACE HARNESS OR CONNECTOR 

    Result: 

    OK 

    See step  6

  6. INSPECT PARK/NEUTRAL POSITION SWITCH ASSEMBLY 
    1. Inspect the park/neutral position switch (Refer to INSPECTION [09/2014 - ] ).

    Result: 

    NG 

    REPLACE PARK/NEUTRAL POSITION SWITCH ASSEMBLY 

    (Refer to REMOVAL [09/2014 - ] )

    Result: 

    OK 

    See step  7

  7. CHECK HARNESS AND CONNECTOR (ECM - PARK/NEUTRAL POSITION SWITCH) 
    1. Turn the engine switch on (IG).
      GTY618257Courtesy of © TOYOTA, LICENSE AGREEMENT TMS1002
    2. Measure the voltage according to the value(s) in the table below.

      Standard Voltage

      Tester Connection Shift Lever Position Switch Condition Specified Condition
      A21-29 (NSW) - F4-1 (E1) P or N Engine switch on (IG) 0 to 1.5 V
      Except P or N Engine switch on (IG) 11 to 14 V
      TEXT IN ILLUSTRATION

      *a Component with harness connected
      (ECM)
    3. Turn the engine switch off.
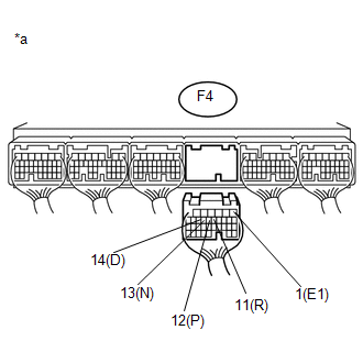
    4. Disconnect the F4 ECM connector.
    5. Turn the engine switch on (IG).
      GTY619702Courtesy of © TOYOTA, LICENSE AGREEMENT TMS1002
    6. Measure the voltage according to the value(s) in the table below.

      Standard Voltage

      Tester Connection Shift Lever Position Switch Condition Specified Condition
      F4-12 (P) - F4-1 (E1) P Engine switch on (IG) 11 to 14 V
      Except P Engine switch on (IG) 0 to 1.5 V
      F4-11 (R) - F4-1 (E1) R Engine switch on (IG) 11 to 14 V
      Except R Engine switch on (IG) 0 to 1.5 V
      F4-13 (N) - F4-1 (E1) N Engine switch on (IG) 11 to 14 V
      Except N Engine switch on (IG) 0 to 1.5 V
      F4-14 (D) - F4-1 (E1) D Engine switch on (IG) 11 to 14 V
      Except D Engine switch on (IG) 0 to 1.5 V
      TEXT IN ILLUSTRATION

      *a Component without harness connected
      (ECM)

    Result: 

    OK 

    REPLACE ECM 

    (Refer to REMOVAL [09/2014 - 10/2015] )

    Result: 

    NG 

    REPAIR OR REPLACE HARNESS OR CONNECTOR