LEMON Manuals: Even more car manuals for everyone: 1960-2025
Home >> Lexus >> 2015 >> RC 350 Base, AWD >> Repair and Diagnosis (Single Page) >> Accessories & Equipment >> Infotainment >> LEXUS ENFORM System - Diagnostics & Symptom Tests >> LEXUS ENFORM System >> System Diagram [11/2019 - ] >> System Diagram [11/2019 - ]
April 5, 2026: LEMON Manuals is launched! Read the announcement.

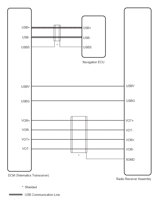
System Diagram [11/2019 - ]

w/ Navigation System 

GTY778405Courtesy of © TOYOTA, LICENSE AGREEMENT TMS1002