LEMON Manuals: Even more car manuals for everyone: 1960-2025
Home >> Lexus >> 2016 >> GX 460 Base >> Repair and Diagnosis (Single Page) >> Accessories & Equipment >> Anti-Theft Systems >> Smart Access System (Entry Function) (Diagnostic Codes & Symptom Tests) >> SMART ACCESS SYSTEM WITH PUSH-BUTTON START (for Entry Function) >> All Door Entry Lock/Unlock Functions and Wireless Functions do not Operate [08/2015 - 08/2019] >> Procedure
April 5, 2026: LEMON Manuals is launched! Read the announcement.

All Door Entry Lock/Unlock Functions and Wireless Functions do not Operate [08/2015 - 08/2019]: Procedure

  1. INSPECT BATTERY VOLTAGE 
    1. Measure the voltage of the battery.

      Standard voltage

      11 to 14 V

      HINT: 

      It may be possible to tell whether the battery is depleted by operating the horn.

      1. If the voltage is below 11 V, recharge or replace the battery before proceeding.

    Result: 

    NEXT 

    See step  2

  2. CHECK FOR DTC 
    1. Open the driver side door using the mechanical key built into the electrical key transmitter.
    2. Connect the Techstream and check for DTCs (Refer to DTC CHECK / CLEAR [08/2015 - 08/2019] ).

      HINT: 

      When using the Techstream with the engine switch off to troubleshoot: Connect the Techstream to the DLC3 and turn a courtesy light switch on and off at 1.5-second intervals until communication between the Techstream and vehicle begins.

      OK

      DTC is not output.

    Result: 

    NG 

    Go to DIAGNOSTIC TROUBLE CODE CHART 

    (Refer to DIAGNOSTIC TROUBLE CODE CHART [08/2015 - 08/2019] )

    Result: 

    OK 

    See step  3

  3. CHECK POWER DOOR LOCK CONTROL SYSTEM 
    1. When the door control switch on the multiplex network master switch assembly on the driver side door is operated, check that the doors unlock and lock according to the switch operation (Refer to OPERATION CHECK [08/2015 - 08/2019] ).

      OK

      Door locks operate normally.

    Result: 

    NG 

    Go to POWER DOOR LOCK CONTROL SYSTEM 

    (Refer to PROBLEM SYMPTOMS TABLE [08/2015 - 08/2019] )

    Result: 

    OK 

    See step  4

  4. CHECK ELECTRICAL KEY TRANSMITTER 
    1. When another registered electrical key transmitter is used, check that the wireless and entry functions operate normally (Refer to OPERATION CHECK [08/2015 - 08/2016] , or refer to OPERATION CHECK [08/2016 - 08/2019] ).
      RESULT

      Result Proceed to
      Entry function operates A
      Entry function does not operate B

    Result: 

    See step  7

    Result: 

    See step  5

  5. CHECK ELECTRICAL KEY TRANSMITTER (LED) 
    1. Press and hold the lock switch of the transmitter for 5 seconds and check the number of times that the transmitter LED illuminates.
      RESULT

      Result Proceed to
      Transmitter LED does not illuminate when switch is pressed and held A
      Transmitter LED illuminates 3 times or more when switch is pressed and held B
      Transmitter LED illuminates once or twice but not third time C

      HINT: 

      • The key sends voltage information to the certification ECU when it is being used. The certification ECU displays "Yes" for the "Key Low Battery" item of the Data List when this voltage information indicates 2.1 V or less (Refer to DATA LIST / ACTIVE TEST [08/2015 - 08/2019] ).
      • Even if the key battery is depleted, it is still possible to start the engine by holding the key against the engine switch, depressing the brake pedal and pressing the engine switch.

    Result: 

    REPLACE ELECTRICAL KEY TRANSMITTER 

    Result: 

    REPLACE TRANSMITTER BATTERY 

    (Refer to REPLACEMENT [08/2015 - 08/2019] )

    Result: 

    See step  6

  6. INSPECT TRANSMITTER BATTERY (VOLTAGE) 
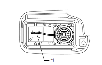
    1. Remove the battery from the electrical key transmitter that does not operate (Refer to REPLACEMENT [08/2015 - 08/2019] ).
      GTY617702Courtesy of © TOYOTA, LICENSE AGREEMENT TMS1002
    2. Attach a lead wire (0.60 mm [0.027 in.] in diameter or less including wire sheath) with tape or equivalent to the negative terminal.
      TEXT IN ILLUSTRATION

      *1 Lead Wire
      NOTE:

      Do not wrap the lead wire around a terminal, wedge it between terminals, or solder it. The terminal may be deformed or damaged, and the battery will not be able to be installed correctly.

    3. Carefully pull the lead wire out from the position shown in the illustration and install the previously removed transmitter battery.
    4. Measure the voltage of the transmitter battery.

      HINT: 

      • When measuring the battery voltage, bring the electrical key transmitter within the lock entry operating range while operating the lock sensor of a door handle to perform the measurement. For the entry lock operating range, refer to System Description (Refer to SYSTEM DESCRIPTION [08/2015 - 08/2016] , or refer to SYSTEM DESCRIPTION [08/2016 - 08/2019] ).
      • Perform the measurement when the key is at room temperature.
      • The key sends voltage information to the certification ECU when it is transmitting. When this voltage is 2.1 V or less the Data List item "Key Low Battery" displays "Yes".
      GTY672656Courtesy of © TOYOTA, LICENSE AGREEMENT TMS1002

      Standard Voltage

      Tester Connection Condition Specified Condition
      Battery positive (+) - Battery negative (-) Engine switch off, all doors closed and lock sensor touched 2.2 to 3.2 V

    Result: 

    OK 

    REPLACE ELECTRICAL KEY TRANSMITTER 

    Result: 

    NG 

    REPLACE TRANSMITTER BATTERY 

    (Refer to REPLACEMENT [08/2015 - 08/2019] )

  7. CHECK WAVE ENVIRONMENT 
    1. Bring the electrical key transmitter near the door control receiver and perform a wireless and entry function operation check.

      HINT: 

      • When the electrical key transmitter is brought near the door control receiver, the possibility of electric wave interference decreases, and it can be determined if electric wave interference is causing the problem symptom.
      • If the inspection result is that the problem only occurs in certain locations or at certain times of day, the possibility of wave interference is high. Also, added vehicle components may cause wave interference. If installed, remove them and perform the operation check.
      • There may be electric wave interference if the vehicle is near broadcasting antennas, large video displays, wireless garage door opener systems, wireless security cameras, home security systems, etc. In this case, move the vehicle to a different location and check if there is any improvement.
      • If a tool for checking electric waves, such as a signal strength meter, is available, move around the area while observing both the LF band (used by the vehicle antenna to form the key detection area) and RF band (used by the key for transmission) to check for locations where there is wave interference.

      OK

      Wireless and entry functions operate normally.

    Result: 

    OK 

    AFFECTED BY WAVE INTERFERENCE 

    Result: 

    NG 

    See step  8

  8. CHECK POWER SOURCE 
    1. When the power source mode is off, check that the functions other than the entry functions recognize the power source mode as being off.

      HINT: 

      • Check if systems that should not be operating when the power source mode is off are operating.
      • When the certification ECU mistakenly determines the power source mode to be on (IG) for some reason (example: an ECU mistakenly determines the power source mode to be on (IG) and sends that information to the certification ECU) even though the power source mode is off, the certification ECU stops the entry and wireless functions.

      OK

      When the power source mode is off, functions other than the entry functions recognize the power source mode as being off.

    Result: 

    NG 

    Go to SMART ACCESS SYSTEM WITH PUSH-BUTTON START (FOR START FUNCTION) 

    (Refer to HOW TO PROCEED WITH TROUBLESHOOTING [08/2015 - 08/2019] )

    Result: 

    OK 

    See step  9

  9. CHECK HARNESS AND CONNECTOR (CERTIFICATION ECU - BATTERY AND BODY GROUND) 
    1. Disconnect the G26 ECU connector.
      GTY628570Courtesy of © TOYOTA, LICENSE AGREEMENT TMS1002
    2. Measure the voltage according to the value(s) in the table below.

      Standard Voltage

      Tester Connection Condition Specified Condition
      G26-17 (CUTB) - Body ground Always 11 to 14 V
      G26-1 (+B) - Body ground Always 11 to 14 V
    3. Measure the resistance according to the value(s) in the table below.

      Standard Resistance

      Tester Connection Condition Specified Condition
      G26-15 (E) - Body ground Always Below 1 Ω
      TEXT IN ILLUSTRATION

      *a Front view of wire harness connector
      (to Certification ECU)

    Result: 

    NG 

    REPAIR OR REPLACE HARNESS OR CONNECTOR 

    Result: 

    OK 

    See step  10

  10. CHECK HARNESS AND CONNECTOR (DOOR CONTROL RECEIVER - CERTIFICATION ECU AND BODY GROUND) 
    1. Disconnect the R20 door control receiver connector.
    2. Disconnect the G27 certification ECU connector.
    3. Measure the resistance according to the value(s) in the table below.

      Standard Resistance

      Tester Connection Condition Specified Condition
      R20-4 (+5) - G27-5 (RCO) Always Below 1 Ω
      R20-5 (DATA) - G27-15 (RDA) Always Below 1 Ω
      R20-2 (RSSI) - G27-16 (RSSI) Always Below 1 Ω
      R20-1 (GND) - Body ground Always Below 1 Ω
      R20-4 (+5) or G27-5 (RCO) - Body ground Always 10 kΩ or higher
      R20-5 (DATA) or G27-15 (RDA) - Body ground Always 10 kΩ or higher
      R20-2 (RSSI) or G27-16 (RSSI) - Body ground Always 10 kΩ or higher

      HINT: 

      For the waveforms between the certification ECU and door control receiver when the key is operated, refer to Terminals of ECU (Refer to TERMINALS OF ECU [08/2015 - 08/2019] ).

    Result: 

    NG 

    REPAIR OR REPLACE HARNESS OR CONNECTOR 

    Result: 

    OK 

    See step  11

  11. CHECK DOOR CONTROL RECEIVER (OPERATION) 
    1. Temporarily replace the door control receiver with a new or normally functioning one (Refer to REMOVAL [08/2015 - 08/2016] , or refer to REMOVAL [08/2016 - 08/2019] ).
    2. Check that the wireless and entry functions operate normally.

      OK

      Wireless and entry functions operate normally.

    Result: 

    OK 

    END (DOOR CONTROL RECEIVER IS DEFECTIVE) 

    Result: 

    NG 

    REPLACE CERTIFICATION ECU 

    (Refer to REMOVAL [08/2015 - 08/2019] )