LEMON Manuals: Even more car manuals for everyone: 1960-2025
Home >> Lexus >> 2016 >> RC 350 Base, AWD >> Repair and Diagnosis (Single Page) >> Engine Performance >> System >> Engine Control System (2GR-FSE) - Diagnostic Codes (5 Of 5) & Circuit Tests >> SFI System >> Fuel Pump Control Circuit [10/2015 - 11/2017] >> Procedure
April 5, 2026: LEMON Manuals is launched! Read the announcement.

Fuel Pump Control Circuit [10/2015 - 11/2017]: Procedure

  1. PERFORM ACTIVE TEST USING TECHSTREAM (CONTROL THE FUEL PUMP/SPEED) 
    1. Connect the Techstream to the DLC3.
    2. Turn the engine switch on (IG).
    3. Turn the Techstream on.
    4. Enter the following menus: Powertrain / Engine and ECT / Active Test / Control the Fuel Pump/Speed.

      Powertrain > Engine > Active Test 

      Tester Display
      Control the Fuel Pump / Speed
    5. Check whether operating sounds can be heard while operating the fuel pump using the Techstream.

      OK

      Operating sounds can be heard from the fuel pump.

      Result

      Proceed to
      OK
      NG

    Result: 

    NG 

    See step  5

    Result: 

    OK 

    See step  2

  2. PERFORM ACTIVE TEST USING TECHSTREAM (CONTROL THE FUEL PUMP) 
    GTY502749Courtesy of © TOYOTA, LICENSE AGREEMENT TMS1002
    *a Component with harness connected (Fuel Pump)
    1. Remove the fuel pump (for low pressure side) from the fuel tank assembly.

      Refer to REMOVAL [09/2014 - 11/2017]

    2. Clean the fuel pump to completely remove any remaining fuel.
    3. Connect the fuel pump connector.
      WARNING:

      Make sure that there is no fuel remaining inside or on the outside of the fuel pump.

    4. Connect the Techstream to the DLC3.
    5. Turn the engine switch on (IG).
    6. Turn the Techstream on.
    7. Enter the following menus: Powertrain / Engine and ECT / Active Test / Control the Fuel Pump Duty.

      Powertrain > Engine > Active Test 

      Tester Display
      Control the Fuel Pump Duty
    8. Operate the fuel pump using the Active Test function and measure the voltage according to the value(s) in the table below.

      Standard Voltage

      Tester Connection Techstream Operation Specified Condition
      1 - 2 FPC Duty: 25% 3.2 to 4.05 V
      FPC Duty: 80% 8.8 to 12.5 V
    9. Enter the following menus: Powertrain / Engine and ECT / Active Test / Control the Fuel Pump/Speed.

      Powertrain > Engine > Active Test 

      Tester Display
      Control the Fuel Pump / Speed
    10. Operate the fuel pump using the Active Test function and measure the voltage according to the value(s) in the table below.

      Standard Voltage

      Tester Connection Techstream Operation Specified Condition
      1 - 2 ON (FPC Duty: 90%) 9.0 to 14.0 V

      HINT: 

      • Be sure to measure the voltage with all the connectors connected.
      • Before performing this inspection, check that the battery voltage is between 11 and 14 V (not depleted).

      Result

      Proceed to
      OK
      NG

    Result: 

    NG 

    See step  10

    Result: 

    OK 

    See step  3

  3. CHECK HARNESS AND CONNECTOR (FUEL PUMP CONTROL ECU ASSEMBLY - ECM) 
    1. Disconnect the fuel pump control ECU assembly connector.
    2. Disconnect the ECM connector.
    3. Measure the resistance according to the value(s) in the table below.

      Standard Resistance

      Tester Connection Condition Specified Condition
      U56-2 (FPC) - A70-5 (FPC) Always Below 1 Ω
      U56-2 (FPC) or A70-5 (FPC) - Body ground Always 10 kΩ or higher

      Result

      Proceed to
      OK
      NG

    Result: 

    NG 

    REPAIR OR REPLACE HARNESS OR CONNECTOR 

    Result: 

    OK 

    See step  4

  4. REPLACE FUEL PUMP (FOR LOW PRESSURE SIDE) 
    1. Replace the fuel pump (for low pressure side).

      Refer to REMOVAL [09/2014 - 11/2017]

      HINT: 

      Perform "Inspection After Repair" after replacing the fuel pump (for low pressure side).

      Refer to INITIALIZATION [09/2014 - 11/2017]

      Result

      Proceed to
      NEXT

    Result: 

    NEXT 

    See step  11

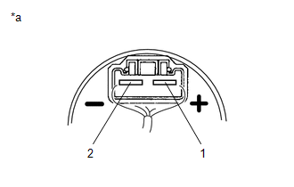
  5. INSPECT FUEL PUMP CONTROL ECU ASSEMBLY (POWER SOURCE VOLTAGE) 
    GTY617656Courtesy of © TOYOTA, LICENSE AGREEMENT TMS1002
    *a Front view of wire harness connector
    (to Fuel Pump Control ECU Assembly)
    1. Disconnect the fuel pump control ECU assembly connector.
    2. Turn the engine switch on (IG).
    3. Measure the voltage according to the value(s) in the table below.

      Standard Voltage

      Tester Connection Condition Specified Condition
      U56-1 (+B) - Body Ground Engine switch on (IG) 11 to 14 V

      Result

      Proceed to
      OK
      NG

    Result: 

    NG 

    See step  12

    Result: 

    OK 

    See step  6

  6. CHECK HARNESS AND CONNECTOR (FUEL PUMP (FOR LOW PRESSURE SIDE) - FUEL PUMP CONTROL ECU ASSEMBLY) 
    1. Disconnect the fuel pump (for low pressure side) connector.
    2. Disconnect the fuel pump control ECU assembly connector.
    3. Measure the resistance according to the value(s) in the table below.

      Standard Resistance

      Tester Connection Condition Specified Condition
      U25-4 (B) - U56-6 (FP) Always Below 1 Ω
      U25-5 (E) - U56-1 (FP-) Always Below 1 Ω
      U25-4 (B) or U56-6 (FP) - Body ground Always 10 kΩ or higher
      U25-5 (E) or U56-1 (FP-) - Body ground Always 10 kΩ or higher

      Result

      Proceed to
      OK
      NG

    Result: 

    NG 

    REPAIR OR REPLACE HARNESS OR CONNECTOR 

    Result: 

    OK 

    See step  7

  7. INSPECT FUEL PUMP (FOR LOW PRESSURE SIDE) 
    1. Inspect the fuel pump (for low pressure side).

      Refer to INSPECTION [09/2014 - 11/2017]

      HINT: 

      Perform "Inspection After Repair" after replacing the fuel pump (for low pressure side).

      Refer to INITIALIZATION [09/2014 - 11/2017]

      Result

      Proceed to
      OK
      NG

    Result: 

    NG 

    REPLACE FUEL PUMP (FOR LOW PRESSURE SIDE). Refer to  REMOVAL [09/2014 - 11/2017] 

    Result: 

    OK 

    See step  8

  8. CHECK HARNESS AND CONNECTOR (FUEL PUMP CONTROL ECU ASSEMBLY - BODY GROUND) 
    1. Disconnect the fuel pump control ECU assembly connector.
    2. Measure the resistance according to the value(s) in the table below.

      Standard Resistance

      Tester Connection Condition Specified Condition
      U56-4 (E) - Body ground Always Below 1 Ω

      Result

      Proceed to
      OK
      NG

    Result: 

    NG 

    REPAIR OR REPLACE HARNESS OR CONNECTOR 

    Result: 

    OK 

    See step  9

  9. CHECK HARNESS AND CONNECTOR (FUEL PUMP CONTROL ECU ASSEMBLY - ECM) 
    1. Disconnect the fuel pump control ECU assembly connector.
    2. Disconnect the ECM connector.
    3. Measure the resistance according to the value(s) in the table below.

      Standard Resistance

      Tester Connection Condition Specified Condition
      U56-2 (FPC) - A70-5 (FPC) Always Below 1 Ω
      U56-2 (FPC) or A70-5 (FPC) - Body ground Always 10 kΩ or higher

      Result

      Proceed to
      OK
      NG

    Result: 

    NG 

    REPAIR OR REPLACE HARNESS OR CONNECTOR 

    Result: 

    OK 

    See step  10

  10. REPLACE FUEL PUMP CONTROL ECU ASSEMBLY 
    1. Replace the fuel pump control ECU assembly.

      Refer to REMOVAL [10/2015 - 11/2017]

      Result

      Proceed to
      NEXT

    Result: 

    NEXT 

    See step  11

  11. CONFIRM WHETHER MALFUNCTION HAS BEEN SUCCESSFULLY REPAIRED 
    1. Check the fuel pump operation.

      Refer to PROCEDURE - Step 1

      OK

      Malfunction has been repaired successfully.

      Result

      Proceed to
      OK
      NG

    Result: 

    OK 

    END 

    Result: 

    NG 

    REPLACE ECM. Refer to  REMOVAL [09/2014 - 11/2017] 

  12. INSPECT RELAY (EFI MAIN NO. 2) 
    1. Inspect the EFI MAIN NO. 2 relay.

      Refer to PROCEDURE - Step 2

      Result

      Proceed to
      OK
      NG

    Result: 

    NG 

    REPLACE RELAY (EFI MAIN NO. 2) 

    Result: 

    OK 

    See step  13

  13. CHECK HARNESS AND CONNECTOR (EFI MAIN NO. 2 RELAY - FUEL PUMP CONTROL ECU ASSEMBLY) 
    1. Remove the EFI MAIN NO. 2 relay from the No. 2 engine room relay block and No. 2 junction block assembly.
    2. Disconnect the fuel pump control ECU assembly connector.
    3. Measure the resistance according to the value(s) in the table below.

      Standard Resistance

      Tester Connection Condition Specified Condition
      3 (EFI MAIN NO. 2 relay) - U56-1 (+B) Always Below 1 Ω
      3 (EFI MAIN NO. 2 relay) or U56-1 (+B) - Body ground Always 10 kΩ or higher

      Result

      Proceed to
      OK
      NG

    Result: 

    NG 

    REPAIR OR REPLACE HARNESS OR CONNECTOR 

    Result: 

    OK 

    See step  14

  14. CHECK HARNESS AND CONNECTOR (SEMICONDUCTOR PWR INTEGRATION ECU - EFI MAIN NO. 2 RELAY) 
    1. Remove the EFI MAIN NO. 2 relay from the No. 2 engine room relay block and No. 2 junction block assembly.
    2. Disconnect the semiconductor pwr integration ECU connector.
    3. Measure the resistance according to the value(s) in the table below.

      Standard Resistance

      Tester Connection Condition Specified Condition
      2G-1 - 2 (EFI MAIN NO. 2 relay) Always Below 1 Ω
      2G-1 or 2 (EFI MAIN NO. 2 relay) - Body ground Always 10 kΩ or higher

      Result

      Proceed to
      OK
      NG

    Result: 

    NG 

    REPAIR OR REPLACE HARNESS OR CONNECTOR 

    Result: 

    OK 

    See step  15

  15. CHECK HARNESS AND CONNECTOR (EFI MAIN NO. 2 RELAY - BODY GROUND) 
    1. Remove the EFI MAIN NO. 2 relay from the No. 2 engine room relay block and No. 2 junction block assembly.
    2. Measure the resistance according to the value(s) in the table below.

      Standard Resistance

      Tester Connection Condition Specified Condition
      1 (EFI MAIN NO. 2 relay) - Body ground Always Below 1 Ω

      Result

      Proceed to
      OK
      NG

    Result: 

    OK 

    REPAIR OR REPLACE HARNESS OR CONNECTOR (BATTERY - EFI MAIN NO. 2 RELAY) 

    Result: 

    NG 

    REPAIR OR REPLACE HARNESS OR CONNECTOR