LEMON Manuals: Even more car manuals for everyone: 1960-2025
Home >> Lexus >> 2017 >> GS 450h Base >> Repair and Diagnosis (Single Page) >> Steering >> Manual Steering >> Variable Gear Ratio Steering System (Diagnostics - Introduction) >> Variable Gear Ratio Steering System >> System Diagram [09/2014 - ] >> System Diagram [09/2014 - ]
April 5, 2026: LEMON Manuals is launched! Read the announcement.

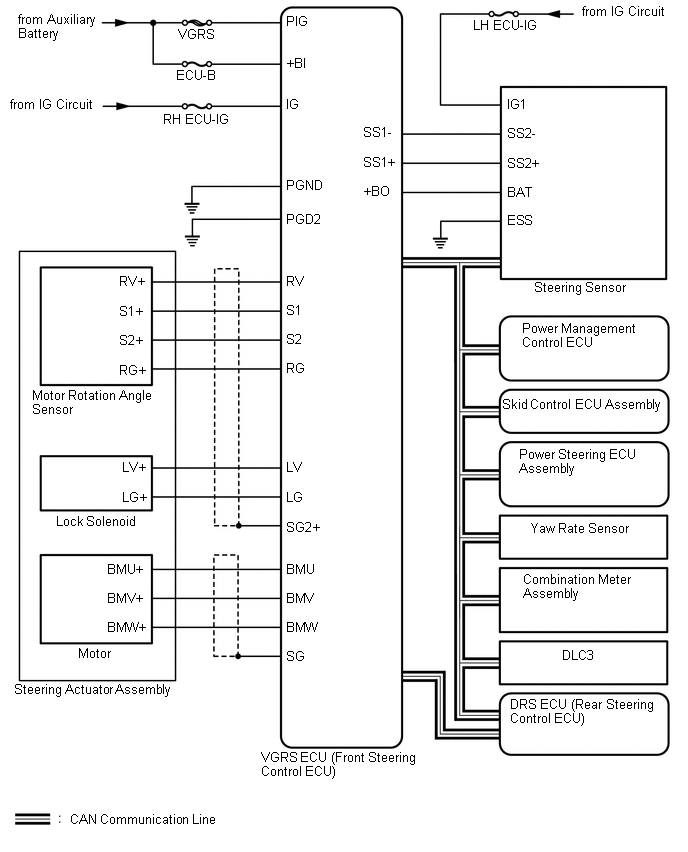
System Diagram [09/2014 - ]

Fig 1: Variable Gear Ratio Steering System Wiring Diagram
GTY513632Courtesy of © TOYOTA, LICENSE AGREEMENT TMS1002