LEMON Manuals: Even more car manuals for everyone: 1960-2025
Home >> Lexus >> 2017 >> IS 350 Base, AWD >> Repair and Diagnosis (Single Page) >> Steering >> Steering Column >> Steering Column - Service Information >> Steering Column Assembly >> Removal [10/2016 - 10/2017] >> Procedure
April 5, 2026: LEMON Manuals is launched! Read the announcement.

Removal [10/2016 - 10/2017]: Procedure

  1. PRECAUTION 

    Refer to PRECAUTION [10/2016 - ]

  2. CUSTOMIZE POWER TILT AND POWER TELESCOPIC STEERING COLUMN SYSTEM (for Power Tilt and Power Telescopic Steering Column) 
    1. Disable the auto tilt away function by changing the customize parameter.

      Refer to CUSTOMIZE PARAMETERS [04/2013 - ]

      NOTE:

      Record the current customize parameter setting (whether the auto tilt away function is enabled or disabled) in order to restore the current setting after finishing the operation.

      HINT: 

      Performing the above operation causes the auto tilt away function to be disabled when the engine switch is turned off.

    2. Turn the engine switch on (IG). Operate the tilt and telescopic switch to fully extend and lower the steering column assembly.
  3. ALIGN FRONT WHEELS FACING STRAIGHT AHEAD 
  4. REMOVE HORN BUTTON ASSEMBLY 

    Refer to REMOVAL [04/2013 - ]

  5. REMOVE STEERING WHEEL ASSEMBLY 

    See step  3

  6. REMOVE STEERING COLUMN COVER 
    1. for Manual Tilt and Manual Telescopic Steering Column:
      1. Remove the 2 screws.
        GTY467307Courtesy of © TOYOTA, LICENSE AGREEMENT TMS1002
      2. Disengage the 2 claws.
        GTY467306Courtesy of © TOYOTA, LICENSE AGREEMENT TMS1002
      3. Disengage the claw and remove the steering column cover (lower).
        GTY467301Courtesy of © TOYOTA, LICENSE AGREEMENT TMS1002
    2. for Power Tilt and Power Telescopic Steering Column:
      1. Remove the 3 screws.
        GTY467309Courtesy of © TOYOTA, LICENSE AGREEMENT TMS1002
      2. Disengage the 2 claws and remove the steering column cover (lower).
        GTY467308Courtesy of © TOYOTA, LICENSE AGREEMENT TMS1002
    3. Disengage the 6 clips from the steering column cover (upper).
      GTY467312Courtesy of © TOYOTA, LICENSE AGREEMENT TMS1002
    4. Disengage the 2 claws and remove the steering column cover (upper).
      GTY470964Courtesy of © TOYOTA, LICENSE AGREEMENT TMS1002
  7. REMOVE TURN SIGNAL SWITCH ASSEMBLY WITH SPIRAL CABLE SUB-ASSEMBLY 
    NOTE:
    • Do not replace the spiral cable with sensor sub-assembly with the battery connected and the engine switch on (IG).
    • Do not rotate the spiral cable with sensor sub-assembly without the steering wheel assembly with the battery connected and the engine switch on (IG).
    • Ensure that the steering wheel assembly is installed and aligned straight when inspecting the steering sensor.
    1. Disconnect each connector from the turn signal switch assembly with spiral cable sub-assembly.
    2. Disengage the 3 claws to remove the turn signal switch assembly with spiral cable sub-assembly from the steering column assembly.
      GTY467316Courtesy of © TOYOTA, LICENSE AGREEMENT TMS1002
  8. REMOVE LOWER NO. 1 INSTRUMENT PANEL AIRBAG ASSEMBLY 

    Refer to REMOVAL [04/2013 - 09/2020]

  9. REMOVE AIR DUCT SUB-ASSEMBLY 
    1. Remove the bolt and air duct sub-assembly.
      GTY467732Courtesy of © TOYOTA, LICENSE AGREEMENT TMS1002
  10. REMOVE STEERING COLUMN ASSEMBLY 
    1. Put matchmarks on the No. 2 steering intermediate shaft assembly and steering column assembly.
      GTY469490Courtesy of © TOYOTA, LICENSE AGREEMENT TMS1002
      *a Matchmark
    2. Remove the bolt.
    3. Remove the brake pedal return spring from the steering column assembly and push rod pin.
    4. Disconnect each connector and disengage each wire harness clamp from the steering column assembly.
    5. for Manual Tilt and Manual Telescopic Steering Column:
      1. Remove the 4 nuts and steering column assembly.
        GTY467317Courtesy of © TOYOTA, LICENSE AGREEMENT TMS1002
    6. for Power Tilt and Power Telescopic Steering Column:
      GTY467321Courtesy of © TOYOTA, LICENSE AGREEMENT TMS1002
      1. Remove the 4 nuts and steering column assembly.
    7. Separate the steering column assembly from the No. 2 steering intermediate shaft assembly.
  11. REMOVE FRONT SUSPENSION MEMBER BRACE (for 2WD) 

    for 8AR-FTS: Refer to PROCEDURE - Step 12

    for 2GR-FSE: Refer to PROCEDURE - Step 13

  12. REMOVE FRONT WHEEL LH (for AWD) 
  13. REMOVE NO. 2 STEERING INTERMEDIATE SHAFT ASSEMBLY 
    1. for 2WD:
      1. Loosen the clamp.
        GTY467323Courtesy of © TOYOTA, LICENSE AGREEMENT TMS1002
      2. Loosen the bolt (A).
        NOTE:

        Do not remove the bolt (A)

        GTY685369Courtesy of © TOYOTA, LICENSE AGREEMENT TMS1002
      3. Remove the bolt (B).
      4. Slide the steering sliding yoke sub-assembly and put matchmarks on the steering sliding yoke sub-assembly and the power steering link assembly.
        GTY658957Courtesy of © TOYOTA, LICENSE AGREEMENT TMS1002
        *a Matchmark
      5. Separate the steering sliding yoke sub-assembly from the power steering link assembly.
      6. Remove the steering sliding yoke sub-assembly with the No. 2 steering intermediate shaft assembly from the vehicle.
    2. for AWD:
      1. Loosen the clamp.
        GTY470966Courtesy of © TOYOTA, LICENSE AGREEMENT TMS1002
      2. Remove the bolt.
        GTY467327Courtesy of © TOYOTA, LICENSE AGREEMENT TMS1002
      3. Slide the No. 2 steering intermediate shaft assembly and put matchmarks on the No. 2 steering intermediate shaft assembly and the power steering link assembly.
        GTY459209Courtesy of © TOYOTA, LICENSE AGREEMENT TMS1002
        *a Matchmark
      4. Separate the No. 2 steering intermediate shaft assembly from the power steering link assembly.
      5. Remove the No. 2 steering intermediate shaft assembly from the vehicle.
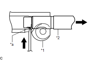
  14. REMOVE STEERING SLIDING YOKE SUB-ASSEMBLY (for 2WD) 
    1. Put matchmarks on the steering sliding yoke sub-assembly and No. 2 steering intermediate shaft assembly.
      GTY643607Courtesy of © TOYOTA, LICENSE AGREEMENT TMS1002
      *a Matchmark
    2. Remove the bolt.
    3. Using a screwdriver, disengage the claw and remove the steering sliding yoke sub-assembly from the No. 2 steering intermediate shaft assembly.
      GTY470115Courtesy of © TOYOTA, LICENSE AGREEMENT TMS1002
      *1 Steering Sliding Yoke Sub-assembly
      *2 No. 2 Steering Intermediate Shaft Assembly
      *a Claw

      HINT: 

      Even if the claw is broken, the No. 2 steering intermediate shaft assembly can be reused if the claw is removed.