LEMON Manuals: Even more car manuals for everyone: 1960-2025
Home >> Lexus >> 2017 >> NX 200t Base, AWD >> Repair and Diagnosis (Single Page) >> Body & Frame >> Door Locks >> Smart Access System (W/ Push Button (For Entry Function)) - Diagnostics - Introduction >> SMART ACCESS SYSTEM WITH PUSH-BUTTON START (For Entry Function) >> Operation Check [10/2014 - 09/2017] >> Operation Check [10/2014 - 09/2017]
April 5, 2026: LEMON Manuals is launched! Read the announcement.

Operation Check [10/2014 - 09/2017]

  1. CHECK SMART ACCESS SYSTEM WITH PUSH-BUTTON START (for Entry Function) OPERATION 
    NOTE:

    Make sure that the smart access system with push-button start (for Entry Function) has not been canceled before performing this inspection.

    1. Check the entry unlock function (driver door, front passenger door, rear door LH, rear door RH).
      1. Perform a wireless lock operation to lock the door, touch the unlock sensor built into the backside of the front door outside handle assembly of the driver door while carrying the electrical key transmitter sub-assembly and check that the door unlocks.
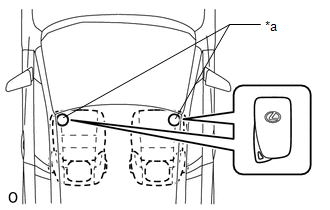
      2. Inspect the entry unlock detection area. Hold the electrical key transmitter sub-assembly at the same height as the door outside handle assembly and approximately 0.7 to 1 m (2.30 to 3.28 ft.) from the vehicle as shown in the illustration and check that the LED (red) of the electrical key transmitter sub-assembly blinks.
        Fig 1: Entry Unlock Detection Distance
        GTY497606Courtesy of © TOYOTA, LICENSE AGREEMENT TMS1002
        *a 0.7 to 1 m (2.30 to 3.28 ft.)
      3. With the system in unlock standby mode, grasp the front door outside handle assembly (for driver door) and check that the door unlocks.

        HINT: 

        • The system is in unlock standby mode when the electrical key transmitter sub-assembly is in the detection area and the key ID code sent by the electrical key transmitter sub-assembly matches the key ID code stored by the certification ECU (smart key ECU assembly).
        • Communication may not be possible if the electrical key transmitter sub-assembly is within 0.2 m (0.656 ft.) of the door outside handle assembly.
        • Inspect the front passenger door, rear door LH and rear door RH using the same procedure.
      4. Check the unlock response sensitivity. With the system in unlock standby mode, touch the area shown in the illustration and check that the door unlocks.
        NOTE:

        If the sensor is touched too quickly or released too slowly, the sensor may not react and the door will not unlock.

        Fig 2: Unlock Sensor (Backside)
        GTY508302Courtesy of © TOYOTA, LICENSE AGREEMENT TMS1002
        *a Unlock Sensor (Backside)

        HINT: 

        Inspect the front passenger door, rear door LH and rear door RH using the same procedure.

    2. Check the entry lock function (driver door, front passenger door, rear door LH, rear door RH).
      NOTE:

      If the electrical key transmitter sub-assembly is in the vehicle but outside the detection area (on the instrument panel, in the glove box, on the floor) and a door lock operation is performed, the key lock-in prevention function will not operate and the electrical key transmitter sub-assembly will be locked inside the vehicle.

      Fig 3: Lock Sensor
      GTY502811Courtesy of © TOYOTA, LICENSE AGREEMENT TMS1002
      *a Lock Sensor
      1. With the door closed and unlocked, touch the lock sensor of the front door outside handle assembly of the driver door while carrying the electrical key transmitter sub-assembly and check that the door locks.

        HINT: 

        • If the door does not lock even when touching the lock sensor, touch it with your palm.
        • Inspect the front passenger door, rear door LH and rear door RH using the same procedure.
      2. Inspect the entry lock operating range. Hold the electrical key transmitter sub-assembly approximately 0.7 to 1 m (2.30 to 3.28 ft.) below the bottom edge of the door glass and approximately 0.3 m (0.984 ft.) from the vehicle as shown in the illustration, touch the lock sensor and check that the door locks.

        HINT: 

        • If the door does not lock even when touching the lock sensor, touch it with your palm.
        • As communication may not be possible if the electrical key transmitter sub-assembly is within 0.2 m (0.656 ft.) of the front door outside handle assembly, the door may not lock if the lock sensor is touched with the same hand that is carrying the electrical key transmitter sub-assembly, etc.
        • If the key lock-in prevention function buzzer sounds, radio waves from the indoor electrical key antenna may be leaking from the vehicle.
        • Inspect the front passenger door, rear door LH and rear door RH using the same procedure.
        • The door lock operation cannot be performed more than 3 times consecutively.
        Fig 4: Entry Unlock Detection Distance
        GTY497606Courtesy of © TOYOTA, LICENSE AGREEMENT TMS1002
        *a 0.7 to 1 m (2.30 to 3.28 ft.)
    3. Check the entry back door open function.
      1. Perform a wireless lock operation to lock the doors, operate the open switch of the back door opener switch assembly while carrying the electrical key transmitter sub-assembly and check that the back door opens.
        Fig 5: Back Door Opener Switch Assembly (Open Switch)
        GTY499908Courtesy of © TOYOTA, LICENSE AGREEMENT TMS1002
        *1 Back Door Opener Switch Assembly (Open Switch)
        *a 0.7 to 1 m (2.30 to 3.28 ft.)
      2. Inspect the entry back door open operating range. Hold the electrical key transmitter sub-assembly at the same height as the rear bumper upper surface and approximately 0.7 to 1 m (2.30 to 3.28 ft.) from the vehicle as shown in the illustration, press the open switch of the back door opener switch assembly and check that the back door opens.
    4. Check the entry back door lock function.
      NOTE:

      If the electrical key transmitter sub-assembly is in the vehicle but outside the detection area (on the instrument panel, in the glove box or on the floor) and a back door lock operation is performed, the key lock-in prevention function will not operate and the electrical key transmitter sub-assembly will be locked inside the vehicle.

      1. With the back door closed and unlocked, press the lock switch of the back door opener switch assembly while carrying the electrical key transmitter sub-assembly outside of the vehicle and check that the back door locks.
      2. Inspect the entry back door lock operating range. Hold the electrical key transmitter sub-assembly at the same height as the rear bumper upper surface and approximately 0.7 to 1 m (2.30 to 3.28 ft.) from the vehicle as shown in the illustration, press the lock switch of the back door opener switch assembly and check that the back door locks.
        Fig 6: Back Door Opener Switch Assembly (Lock Switch)
        GTY512984Courtesy of © TOYOTA, LICENSE AGREEMENT TMS1002
        *1 Back Door Opener Switch Assembly (Lock Switch)
        *a 0.7 to 1 m (2.30 to 3.28 ft.)

        HINT: 

        • Communication may not be possible if the electrical key transmitter sub-assembly is within 0.2 m (0.656 ft.) of the rear bumper.
        • If the key lock-in prevention function buzzer sounds, radio waves from the indoor electrical key antenna may be leaking from the vehicle.
    5. Check the push-button start function.
      1. With the engine switch off, move the shift lever to P, depress the brake pedal while carrying the electrical key transmitter sub-assembly. Then, press the engine switch and check that the engine starts.
      2. With the brake pedal released and the engine switch off, press the engine switch while carrying the electrical key transmitter sub-assembly and check that the power source mode changes as follows: off → on (ACC) → on (IG) → off.

        When the engine switch is pressed with the engine switch on (IG) and the shift lever not in P, the power source mode does not change to off, but changes to on (ACC).

      3. Stop the vehicle, press the engine switch and check that the power source mode changes to off (the engine stops and all electrical systems are off).

        With the shift lever in P, check that the steering lock operates when a door is opened.

        When the engine switch is pressed after the vehicle is stopped, the engine stops and all the power turns off. However, if the shift lever is not in P when the engine switch is pressed with the vehicle stopped, the power source mode does not change to off, but changes to on (ACC).

      4. Inspect the push-button start operating range (front floor). Place the electrical key transmitter sub-assembly on the front seat at either inspection point so that it is facing in the direction shown in the illustration and check that the engine can be started.
        Fig 7: Inspection Point
        GTY504584Courtesy of © TOYOTA, LICENSE AGREEMENT TMS1002
        *a Inspection Point
        NOTE:

        Even if the electrical key transmitter sub-assembly is within the vehicle interior detection area, the electrical key transmitter sub-assembly may not be properly detected if it is on the instrument panel, in the glove box or on the floor.

        HINT: 

        • Communication may not be possible if the electrical key transmitter sub-assembly is within 0.2 m (0.656 ft.) of the shift lever.
        • Perform the inspection for both inspection points.
      5. Inspect the push-button start operating range (rear floor). Place the key on the rear seat at either inspection point so that it is facing in the direction shown in the illustration and check that the engine can be started.
        Fig 8: Inspection Point
        GTY498443Courtesy of © TOYOTA, LICENSE AGREEMENT TMS1002
        *a Inspection Point
        NOTE:

        Even if the electrical key transmitter sub-assembly is within the vehicle interior detection area, the electrical key transmitter sub-assembly may not be properly detected if it is on the instrument panel, in the glove box or on the floor.

        HINT: 

        • Communication may not be possible if the key is within 0.2 m (0.656 ft.) of the center of the rear seat cushion.
        • Perform the inspection for both inspection points.
      6. Inspect the push-button start operating range (luggage room). Place the electrical key transmitter sub-assembly on the luggage room floor at either inspection point so that it is facing in the direction shown in the illustration and check that the engine can be started.
        Fig 9: Inspection Point
        GTY519389Courtesy of © TOYOTA, LICENSE AGREEMENT TMS1002
        *a Inspection Point
        NOTE:

        Even if the electrical key transmitter sub-assembly is within the vehicle interior detection area, the electrical key transmitter sub-assembly may not be properly detected if it is on the instrument panel, in the glove box or on the floor.

        HINT: 

        • Communication may not be possible if the electrical key transmitter sub-assembly is within 0.2 m (0.656 ft.) of the rear corners of the luggage room.
        • Perform the inspection for both inspection points.
    6. Check the key lock-in prevention function (vehicle interior).
      NOTE:

      In order to prevent the electrical key transmitter sub-assembly from being locked inside the vehicle, perform this inspection with the window of a door open.

      1. Turn the engine switch off.
      2. Place the electrical key transmitter sub-assembly on a front or rear seat.
      3. Close the door, making sure the doors are unlocked.
      4. Touch a door lock sensor and check that the doors do not lock and the key lock-in prevention function buzzer (external) sounds for approximately 5 seconds.
    7. Check the transmitter battery saving function
      1. Press the unlock switch of the electrical key transmitter sub-assembly twice while pressing the lock switch and check that the electrical key transmitter sub-assembly LED blinks 4 times and enters transmitter battery saving mode.
      2. Check that the smart access system with push-button start (for Entry Function) does not operate while in transmitter battery saving mode.

        HINT: 

        To cancel transmitter battery saving mode, press a switch of the electrical key transmitter sub-assembly.

    8. Check the entry cancel function.
      1. Cancel the smart access system with push-button start and check that all the functions of the smart access system with push-button start (for Entry Function) no longer operate.

        Refer to CUSTOMIZE PARAMETERS [10/2014 - 09/2017] 

        HINT: 

        While the smart access system with push-button start is canceled, it is possible to lock and unlock the doors with the wireless operation, and the start system can be operated by holding the electrical key transmitter sub-assembly near the engine switch.

    9. Check the answer-back function (hazard warning light flashing and buzzer sounding).
      Entry Operation Hazard Warning Light Wireless Buzzer
      Entry Lock Flashes once Sounds once
      Entry Unlock Flashes twice Sounds twice
  2. KEY DIAGNOSTIC MODE (Using Techstream) 

    HINT: 

    The buzzer sounds in short, repeated beeps for all items except "Overhead + Rear Room"*6. For "Overhead + Rear Room"*6, the buzzer sounds in one long, continuous beep.

    HINT: 

    • With key diagnostic mode, it is possible to check if the electrical key transmitter sub-assembly is operating properly with the selected electrical key antenna and within the selected detection area by the sounding of the wireless buzzer.
    • If the buzzer sounds with [CH1] displayed but not with [CH2], the electrical key transmitter sub-assembly cannot be detected by channel 2 due to a malfunction, such as wave interference.
    1. Enter the following menus: Body Electrical / Smart Access / Utility / Communication Check (Key Diag Mode).

      Body Electrical > Smart Access > Utility 

      Tester Display
      Communication Check (Key Diag Mode)
    2. Inspect the appropriate item according to the following table.
      Tester Display Inspection Item
      [CH1/CH2] Overhead + Driver Side*1 Front door outside handle assembly (electrical key antenna) (for Driver Door)
      [CH1] Overhead + Driver Side*1
      [CH2] Overhead + Driver Side*1
      [CH1/CH2] Overhead + Passenger Side*2 Front door outside handle assembly (electrical key antenna) (for Front Passenger Door)
      [CH1] Overhead + Passenger Side*2
      [CH2] Overhead + Passenger Side*2
      [CH1/CH2] Overhead + Driver Side Rear*3 Rear door outside handle assembly LH (electrical key antenna)
      [CH1] Overhead + Driver Side Rear*3
      [CH2] Overhead + Driver Side Rear*3
      [CH1/CH2] Overhead + Passenger Side Rear*4 Rear door outside handle assembly RH (electrical key antenna)
      [CH1] Overhead + Passenger Side Rear*4
      [CH2] Overhead + Passenger Side Rear*4
      [CH1/CH2] Overhead + Front Room*5 No. 1 indoor electrical key antenna assembly (front floor)
      [CH1] Overhead + Front Room*5
      [CH2] Overhead + Front Room*5
      [CH1/CH2] Overhead + Rear Room*6 No. 2 indoor electrical key antenna assembly (rear floor)
      [CH1] Overhead + Rear Room*6
      [CH2] Overhead + Rear Room*6
      [CH1/CH2] Overhead + Back Door*7 Electrical key antenna (outside luggage compartment)
      [CH1] Overhead + Back Door*7
      [CH2] Overhead + Back Door*7
      [CH1/CH2] Luggage + Back Door (inside)*8 No. 3 indoor electrical key antenna assembly (inside luggage)
      [CH1] Luggage + Back Door (inside)*8
      [CH2] Luggage + Back Door (inside)*8
      [CH1/CH2] Immobiliser Amp*9 Amplifier (engine switch)
      [CH1] Immobiliser Amp*9
      [CH2] Immobiliser Amp*9
      • [CH1]: Channel 1 is set.
      • [CH2]: Channel 2 is set.
      • [CH1/CH2]: Channel 1 and 2 switch automatically at a specific interval*.

        *: If the electrical key transmitter sub-assembly is detected with either channel 1 or 2, the buzzer sounds.

    3. Bring the electrical key transmitter sub-assembly near the selected electrical key antenna and check that the wireless buzzer sounds.
      1. *1: Front door outside handle assembly (for Driver door)
        Fig 10: Entry Unlock Detection Distance
        GTY497606Courtesy of © TOYOTA, LICENSE AGREEMENT TMS1002
        *a 0.7 to 1 m (2.30 to 3.28 ft.)

        HINT: 

        • Hold the electrical key transmitter sub-assembly at the same height as the front door outside handle assembly in the position shown in the illustration.
        • *2, *3, *4: Perform the same inspection for the front passenger side, rear door LH side and rear door RH side.
    4. *5: No. 1 indoor electrical key antenna assembly (front floor)
      Fig 11: Inspection Point
      GTY504584Courtesy of © TOYOTA, LICENSE AGREEMENT TMS1002
      *a Inspection Point

      HINT: 

      Place the electrical key transmitter sub-assembly on the front seat cushion of the driver seat or front passenger seat.

    5. *6: No. 2 indoor electrical key antenna assembly (rear floor)
      Fig 12: Inspection Point
      GTY498443Courtesy of © TOYOTA, LICENSE AGREEMENT TMS1002
      *a Inspection Point

      HINT: 

      Place the electrical key transmitter sub-assembly on the rear seat cushion.

    6. *7: Electrical key antenna (outside luggage compartment)
      Fig 13: Detection Distance
      GTY505745Courtesy of © TOYOTA, LICENSE AGREEMENT TMS1002
      *a 0.7 to 1 m (2.30 to 3.28 ft.)

      HINT: 

      Hold the electrical key transmitter sub-assembly at the same height as the rear bumper upper surface and align it with the center of the rear of the vehicle as shown in the illustration.

    7. *8: No. 3 indoor electrical key antenna assembly (inside luggage)
      Fig 14: Inspection Point
      GTY506113Courtesy of © TOYOTA, LICENSE AGREEMENT TMS1002
      *a Inspection Point

      HINT: 

      Place the electrical key transmitter sub-assembly on the luggage room floor.

    8. *9: Amplifier (engine switch)
      Fig 15: Identifying Engine Switch Electrical Key Transmitter Sub-assembly
      GTY513558Courtesy of © TOYOTA, LICENSE AGREEMENT TMS1002
      *A w/ Power Back Door System
      *1 Engine Switch
      *2 Electrical Key Transmitter Sub-assembly

      HINT: 

      While facing the logo side of the electrical key transmitter sub-assembly towards the engine switch, hold the transmitter near the engine switch.