LEMON Manuals: Even more car manuals for everyone: 1960-2025
Home >> Lexus >> 2017 >> RX 350 Base, AWD >> Repair and Diagnosis (Single Page) >> Accessories & Equipment >> Infotainment >> Navigation System - Diagnostics - Circuit Tests >> Navigation System >> Circuit Tests >> Vehicle Speed Signal Circuit between Stereo Component Amplifier and Combination Meter [09/2015 - 08/2019] >> Procedure
April 5, 2026: LEMON Manuals is launched! Read the announcement.

Vehicle Speed Signal Circuit between Stereo Component Amplifier and Combination Meter [09/2015 - 08/2019]: Procedure

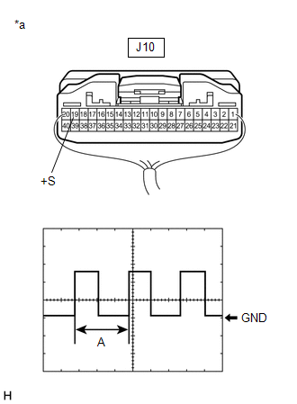
  1. INSPECT COMBINATION METER ASSEMBLY (OUTPUT WAVEFORM) 
    1. Check the output waveform.
      GTY641385Courtesy of © TOYOTA, LICENSE AGREEMENT TMS1002
      *a Component with harness connected
      (Combination Meter Assembly)
      1. Remove the combination meter assembly with the connector(s) still connected.
      2. Connect an oscilloscope to terminal J10-19 (+S) and body ground.
      3. Turn the engine switch on (IG).
      4. Turn a wheel slowly.
      5. Check the signal waveform according to the condition(s) in the table below.
        Item Condition
        Measurement terminal J10-19 (+S) - Body ground
        Tool setting 5 V/DIV., 20 ms./DIV.
        Vehicle condition Wheel being rotated

        OK

        The waveform is similar to that shown in the illustration.

        HINT: 

        When the system is functioning normally, one wheel revolution generates 4 pulses. As the vehicle speed increases, the width indicated by (A) in the illustration narrows.

      Result

      Proceed to
      OK
      NG

    Result: 

    NG 

    GO TO METER / GAUGE SYSTEM. Refer to  Speed Signal Circuit [09/2015 - 08/2019] 

    Result: 

    OK 

    See step  2

  2. INSPECT STEREO COMPONENT AMPLIFIER ASSEMBLY (INPUT WAVEFORM) 
    1. Check the input waveform.
      GTY626668Courtesy of © TOYOTA, LICENSE AGREEMENT TMS1002
      *a Component with harness connected
      (Stereo Component Amplifier Assembly)
      1. Remove the stereo component amplifier assembly with the connector(s) still connected.
      2. Connect an oscilloscope to terminal J66-17 (SPD) and body ground.
      3. Turn the engine switch on (IG).
      4. Turn a wheel slowly.
      5. Check the signal waveform according to the condition(s) in the table below.
        Item Condition
        Measurement terminal J66-17 (SPD) - Body ground
        Tool setting 5 V/DIV., 20 ms./DIV.
        Vehicle condition Wheel being rotated

        OK

        The waveform is similar to that shown in the illustration.

        HINT: 

        When the system is functioning normally, one wheel revolution generates 4 pulses. As the vehicle speed increases, the width indicated by (A) in the illustration narrows.

      Result

      Proceed to
      OK
      NG

    Result: 

    OK 

    PROCEED TO NEXT SUSPECTED AREA SHOWN IN PROBLEM SYMPTOMS TABLE. Refer to  PROBLEM SYMPTOMS TABLE [09/2015 - 12/2017]  , or refer to  PROBLEM SYMPTOMS TABLE [12/2017 - 08/2019] 

    Result: 

    NG 

    See step  3

  3. CHECK HARNESS AND CONNECTOR (COMBINATION METER ASSEMBLY - JUNCTION CONNECTOR) 
    1. Disconnect the J10 combination meter assembly connector.
    2. Disconnect the J118 junction connector.
    3. Measure the resistance according to the value(s) in the table below.

      Standard Resistance

      Tester Connection Condition Specified Condition
      J10-19 (+S) - J118-21 Always Below 1 Ω

      Result

      Proceed to
      OK
      NG

    Result: 

    NG 

    REPAIR OR REPLACE HARNESS OR CONNECTOR 

    Result: 

    OK 

    See step  4

  4. CHECK HARNESS AND CONNECTOR (STEREO COMPONENT AMPLIFIER ASSEMBLY - JUNCTION CONNECTOR) 
    1. Disconnect the J66 stereo component amplifier assembly connector.
    2. Disconnect the J118 junction connector.
    3. Measure the resistance according to the value(s) in the table below.

      Standard Resistance

      Tester Connection Condition Specified Condition
      J66-17 (SPD) - J118-17 Always Below 1 Ω

      Result

      Proceed to
      OK
      NG

    Result: 

    OK 

    REPAIR OR REPLACE JUNCTION CONNECTOR 

    Result: 

    NG 

    REPAIR OR REPLACE HARNESS OR CONNECTOR