LEMON Manuals: Even more car manuals for everyone: 1960-2025
Home >> Lexus >> 2018 >> RX 450h Base >> Repair and Diagnosis (Single Page) >> Electrical >> Fuses & Circuit Breakers >> OEM Junction Block, Ecu & Fuse/Relay Locations >> Junction Block Fuse, Relay & Circuit Identification >> Fuse Block Assembly No. 2 >> Fuse Block Assembly No. 2 Inner Circuit
April 5, 2026: LEMON Manuals is launched! Read the announcement.

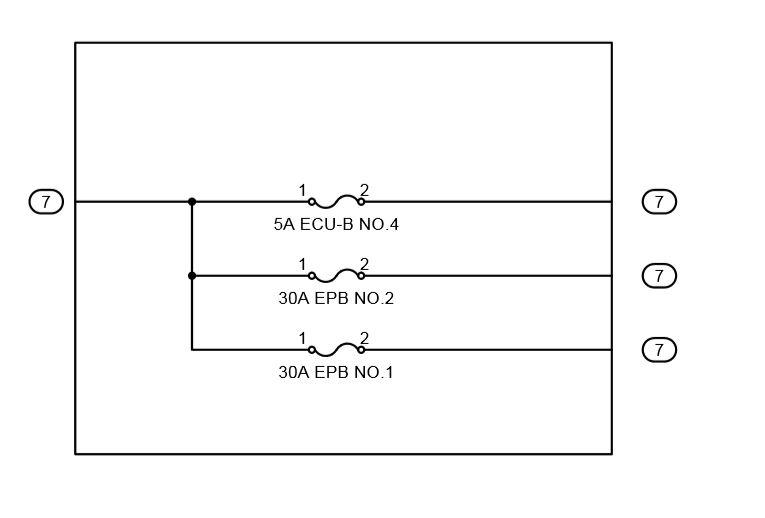
Fuse Block Assembly No. 2 Inner Circuit

Fig 1: Fuse Block Assembly No. 2 Inner Circuit Diagram
G00584370Courtesy of © TOYOTA, LICENSE AGREEMENT TMS1002