LEMON Manuals: Even more car manuals for everyone: 1960-2025
Home >> Lexus >> 2019 >> LS 500 Base, AWD >> Repair and Diagnosis (Single Page) >> Steering >> Steering Column >> Steering Column - Service Information >> Steering Column Assembly >> Removal [09/2018 - 09/2019] >> Procedure
April 5, 2026: LEMON Manuals is launched! Read the announcement.

Removal [09/2018 - 09/2019]: Procedure

  1. PRECAUTION 

    Refer to PRECAUTION [12/2017 - 10/2023]

  2. CUSTOMIZE POWER TILT AND POWER TELESCOPIC STEERING COLUMN SYSTEM 
    1. Disable the auto tilt away function by changing the customize settings.

      Refer to CUSTOMIZE PARAMETERS [12/2017 - ]

      NOTE:

      Record the current customize setting (whether the auto tilt away function is enabled or disabled) in order to restore the current setting after finishing the operation.

      HINT: 

      Performing the above operation causes the auto tilt away function to be disabled when the engine switch is turned off.

    2. Turn the engine switch on (IG). Operate the tilt and telescopic switch to fully extend and lower the steering column assembly.
  3. ALIGN FRONT WHEELS FACING STRAIGHT AHEAD 
  4. AIR SUSPENSION CONTROL PROHIBITED (w/ Air Suspension) 

    Refer to PRECAUTION [12/2017 - ]

  5. REMOVE HORN BUTTON ASSEMBLY 

    Refer to REMOVAL [09/2018 - 10/2020]

  6. REMOVE STEERING WHEEL ASSEMBLY 

    Refer to REMOVAL [09/2018 - 10/2020] 

  7. REMOVE LOWER STEERING COLUMN COVER 
    GTY798959Courtesy of © TOYOTA, LICENSE AGREEMENT TMS1002
    1. Remove the 3 screws.
    2. Press in, in the direction shown by the arrow (1) in the illustration, and disengage the claws.
      GTY799691Courtesy of © TOYOTA, LICENSE AGREEMENT TMS1002
      *a Felt
      Push Area
      Remove in this Direction (1)
      Remove in this Direction (2)
    3. Pull out in the direction indicated by the arrow (2) in the illustration, disengage the claws to remove the lower steering column cover.
      NOTE:

      Do not damage the felt.

    4. Disengage the 2 claws.
      GTY803324Courtesy of © TOYOTA, LICENSE AGREEMENT TMS1002
      *a Felt
      Remove in this Direction
    5. Pull in the direction indicated by the arrow to remove the lower steering column cover.
      NOTE:

      Do not damage the tilt and telescopic switch and felt.

  8. REMOVE UPPER STEERING COLUMN COVER 
    1. Detach the claws and guides as shown in the illustration.
      GTY780099Courtesy of © TOYOTA, LICENSE AGREEMENT TMS1002
      Place Hand Here
      Remove in this Direction
    2. Disengage the claw to remove the upper steering column cover.
      GTY810146Courtesy of © TOYOTA, LICENSE AGREEMENT TMS1002
      Remove in this Direction
  9. REMOVE TURN SIGNAL SWITCH ASSEMBLY WITH SPIRAL CABLE SUB-ASSEMBLY 
    NOTE:
    • Do not replace the spiral cable with sensor sub-assembly with the battery connected and the engine switch on (IG).
    • Do not rotate the spiral cable with sensor sub-assembly without the steering wheel assembly installed, with the battery connected and the engine switch on (IG).
    • Ensure that the steering wheel assembly is installed and aligned straight when inspecting the steering sensor.
    1. Disconnect each connector from the turn signal switch assembly with spiral cable sub-assembly.
    2. Using pliers, support the band clamp while loosened.
      GTY798957Courtesy of © TOYOTA, LICENSE AGREEMENT TMS1002
    3. Disengage the claw to remove the turn signal switch assembly with spiral cable sub-assembly from the steering column assembly.
      GTY791680Courtesy of © TOYOTA, LICENSE AGREEMENT TMS1002
      Remove in this Direction
  10. REMOVE LOWER NO. 1 INSTRUMENT PANEL AIRBAG ASSEMBLY 

    Refer to REMOVAL [09/2018 - 10/2020]

  11. REMOVE NO. 1 AIR DUCT SUB-ASSEMBLY 
    1. Remove the 2 bolts and No. 1 air duct sub-assembly in the direction of the arrow shown in the illustration.
      GTY808290Courtesy of © TOYOTA, LICENSE AGREEMENT TMS1002
      Remove in this Direction
  12. REMOVE NO. 1 HEATER TO REGISTER DUCT 
    1. Remove the 2 screws and No. 1 heater to register duct.
      GTY821650Courtesy of © TOYOTA, LICENSE AGREEMENT TMS1002
  13. REMOVE STEERING COLUMN ASSEMBLY 
    1. w/o VGRS for 2WD:
      1. Put matchmarks on the No. 2 steering intermediate shaft assembly and steering column assembly.
        GTY820957Courtesy of © TOYOTA, LICENSE AGREEMENT TMS1002
        *a Matchmark
      2. Remove the bolt.
    2. For AWD:
      GTY795745Courtesy of © TOYOTA, LICENSE AGREEMENT TMS1002
      *a Matchmark
      1. Put matchmarks on the No. 2 steering intermediate shaft assembly and steering column assembly.
      2. Remove the bolt.
    3. w/ VGRS:
      1. Put matchmarks on the steering actuator assembly and steering column assembly.
        GTY801539Courtesy of © TOYOTA, LICENSE AGREEMENT TMS1002
        *a Matchmark
      2. Remove the bolt.
    4. Disconnect each connector and disengage each wire harness clamp from the steering column assembly.
      GTY799026Courtesy of © TOYOTA, LICENSE AGREEMENT TMS1002
    5. Remove the 2 nuts, bolt and steering column assembly.
      GTY825132Courtesy of © TOYOTA, LICENSE AGREEMENT TMS1002
    6. w/o VGRS:
      1. Separate the steering column assembly from the No. 2 steering intermediate shaft assembly.
    7. w/ VGRS:
      1. Separate the steering column assembly from the steering actuator assembly.
  14. REMOVE TRANSMISSION UNDER COVER (for 2WD) 

    Refer to PROCEDURE - Step 16

  15. REMOVE NO. 2 ENGINE UNDER COVER ASSEMBLY (for 2WD) 

    Refer to PROCEDURE - Step 17

  16. REMOVE FRONT WHEEL LH (for AWD) 

    Refer to REMOVAL [12/2017 - 10/2023]

  17. REMOVE NO. 2 STEERING INTERMEDIATE SHAFT ASSEMBLY (w/o VGRS for 2WD) 
    1. Loosen the clamp.
      GTY822125Courtesy of © TOYOTA, LICENSE AGREEMENT TMS1002
    2. Loosen the bolt (A).
      NOTE:

      Do not remove the bolt (A).

      GTY782905Courtesy of © TOYOTA, LICENSE AGREEMENT TMS1002
    3. Using a SST and 12 mm union nut wrench, Remove the bolt (B).
      • SST: 09961-00950 
    4. Slide the steering sliding with shaft yoke sub-assembly and put matchmarks on the steering sliding with shaft yoke sub-assembly and rack and pinion power steering gear assembly.
      GTY776341Courtesy of © TOYOTA, LICENSE AGREEMENT TMS1002
      *a Matchmark
    5. Separate the steering sliding with shaft yoke sub-assembly from the rack and pinion power steering gear assembly.
    6. Remove the steering sliding with shaft yoke sub-assembly with the No. 2 steering intermediate shaft assembly from the vehicle.
  18. REMOVE NO. 2 STEERING INTERMEDIATE SHAFT ASSEMBLY (for AWD) 
    1. Loosen the clamp.
      GTY822124Courtesy of © TOYOTA, LICENSE AGREEMENT TMS1002
    2. Remove the bolt.
      GTY822116Courtesy of © TOYOTA, LICENSE AGREEMENT TMS1002
    3. Slide the No. 2 steering intermediate shaft assembly and put matchmarks on the No. 2 steering intermediate shaft assembly and rack and pinion power steering gear assembly.
      GTY820952Courtesy of © TOYOTA, LICENSE AGREEMENT TMS1002
      *a Matchmark
    4. Remove the No. 2 steering intermediate shaft assembly from the vehicle.
  19. REMOVE STEERING ACTUATOR ASSEMBLY (w/ VGRS) 

    Refer to PROCEDURE - Step 5

  20. REMOVE STEERING SLIDING WITH SHAFT YOKE SUB-ASSEMBLY (for 2WD) 
    1. w/o VGRS:
      1. Put matchmarks on the steering sliding yoke sub-assembly and No. 2 steering intermediate shaft assembly.
        GTY830857Courtesy of © TOYOTA, LICENSE AGREEMENT TMS1002
        *a Matchmark
      2. Remove the bolt.
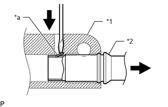
      3. Using a screwdriver, disengage the claw and remove the steering sliding yoke sub-assembly from the No. 2 steering intermediate shaft assembly.

        HINT: 

        Even if the claw is broken, the No. 2 steering intermediate shaft assembly can be reused if the claw is removed.

        GTY784496Courtesy of © TOYOTA, LICENSE AGREEMENT TMS1002
        *1 Steering Sliding Yoke with Shaft Sub-assembly
        *2 No. 2 Steering Intermediate Shaft Assembly
        *a Claw
    2. w/ VGRS:
      1. Put matchmarks on the steering sliding yoke sub-assembly and steering actuator assembly.
        GTY807215Courtesy of © TOYOTA, LICENSE AGREEMENT TMS1002
        *a Matchmark
      2. Remove the bolt.
      3. Using a screwdriver, disengage the claw and remove the steering sliding yoke sub-assembly from the steering actuator assembly.
        GTY784496Courtesy of © TOYOTA, LICENSE AGREEMENT TMS1002
        *1 Steering Sliding Yoke with Shaft Sub-assembly
        *2 Steering Actuator Assembly
        *a Claw