LEMON Manuals: Even more car manuals for everyone: 1960-2025
Home >> Lexus >> 2019 >> RC 350 Base, RWD >> Repair and Diagnosis (Single Page) >> Accessories & Equipment >> Infotainment >> Navigation System - Diagnostics - Introduction (1 Of 4) >> Navigation System >> System Description [11/2017 - 10/2018] >> System Description [11/2017 - 10/2018]
April 5, 2026: LEMON Manuals is launched! Read the announcement.

System Description [11/2017 - 10/2018]

  1. NAVIGATION SYSTEM OUTLINE 
    1. Vehicle position tracking methods

      It is essential that the navigation system correctly tracks the current vehicle position and displays it on the map. There are 2 methods to track the current vehicle position: autonomous (dead reckoning) and GPS* (satellite) navigation. Both navigation methods are used in conjunction with each other.

      *: GPS (Global Positioning System)

      GTY776546Courtesy of © TOYOTA, LICENSE AGREEMENT TMS1002
      Operation Description
      Vehicle Position Calculation The navigation ECU calculates the current vehicle position (direction and current position) using the direction deviation signal from the gyro sensor and driving distance signal from the vehicle speed sensor and creates the driving route.
      Map Display Processing The navigation ECU processes the vehicle position data, vehicle driving track and map data from the internal memory.
      Map Matching The map data from the internal memory is compared to the vehicle position and driving track data. Then, the vehicle position is matched with the nearest road.
      GPS Correction The vehicle position is matched to the position measured by the GPS. Then, the GPS measurement position data is compared with the vehicle position and driving track data. If the position is very different, the GPS measurement position is used.
      Distance Correction The vehicle speed signal includes the error caused by tire wear and slippage between the tires and road surface. Distance correction is performed to account for this. The radio receiver assembly automatically offsets the signal to make up for the difference between it and the distance data of the map. The offset is automatically updated.
      GTY497897Courtesy of © TOYOTA, LICENSE AGREEMENT TMS1002

      HINT: 

      The combination of autonomous and GPS navigation makes it possible to display the vehicle position even when the vehicle is in places where GPS signals cannot be received. When only autonomous navigation is used, however, the mapping accuracy may slightly decrease.

    2. Autonomous navigation

      This method determines the relative vehicle position based on the driving track determined by the gyro sensor located in the navigation ECU and the vehicle speed signal.

      1. Gyro sensor

        Used to calculate the direction by detecting angular velocity. It is located in the navigation ECU.

      2. Vehicle speed signal

        Used to calculate the vehicle driving distance.

    3. GPS* navigation (Satellite navigation)

      This method detects the absolute vehicle position using radio waves from GPS satellites.

      *: GPS satellites were launched by the U.S. Department of Defense for military purposes.

      GTY319708Courtesy of © TOYOTA, LICENSE AGREEMENT TMS1002
      Number of Satellites Measurement Description
      2 or less Measurement is impossible Vehicle position cannot be obtained because the number of satellites is not enough.
      3 2-dimensional measurement is possible Vehicle position is obtained based on the current longitude and latitude. (This is less precise than 3-dimensional measurement.)
      4 3-dimensional measurement is possible Vehicle position is obtained based on the current longitude, latitude and altitude.
    4. Map matching

      The current driving route is calculated by autonomous navigation (according to the gyro sensor and vehicle speed signal) and GPS navigation. This information is then compared with possible road shapes from the map data in the internal memory and the vehicle position is set onto the most appropriate road.

      GTY444716Courtesy of © TOYOTA, LICENSE AGREEMENT TMS1002
  2. DISC PLAYER OUTLINE 
    1. A disc player uses a laser pickup to read digital signals recorded on a disc. By converting the digital signals to analog, it can play music, video and audio.
      WARNING:

      Do not look directly at the laser pickup because the disc player uses an invisible laser beam. Be sure to operate the player only as instructed.

      NOTE:
      • Do not disassemble any part of the disc player.
      • Do not apply oil to the disc player.
      • Do not insert anything but a disc into the disc player.
    2. This player can play only audio CDs, CD-Rs (CD-Recordable) and CD-RWs (CD-ReWritable) that have any of the following marks:
      GTY101104Courtesy of © TOYOTA, LICENSE AGREEMENT TMS1002
    3. This player can play only DVD video discs that have any of the following marks:
      GTY811350Courtesy of © TOYOTA, LICENSE AGREEMENT TMS1002
    4. This player can play only DVD-Rs (DVD-Recordable) and DVD-RWs (DVD-ReWritable) that were recorded in video format and that have any of the following marks:
      GTY462514Courtesy of © TOYOTA, LICENSE AGREEMENT TMS1002
    5. The following products may not be playable on your player.
      • SACD
      • dts CD
      • Copy-protected CD
      • Super Video CD
      • DVD audio
      • DVD-RAM
    6. Precautions for use of discs
      NOTE:
      • CD-Rs, CD-RWs, DVD-Rs (DVD-Recordable) and DVD-RWs (DVD-ReWritable) may not be played depending on the recording conditions or characteristics of the discs, or due to damage, dirt or deterioration caused by leaving the discs in the cabin for a long time.
      • Unfinalized CD-Rs, CD-RWs, DVD-Rs (DVD-Recordable) and DVD-RWs (DVD-ReWritable) cannot be played.
      • CD-Rs, CD-RWs, DVD-Rs (DVD-Recordable) and DVD-RWs (DVD-ReWritable) are more easily affected by a hot and humid environment than discs used for normal audio CDs. For this reason, some CD-Rs, CD-RWs, DVD-Rs (DVD-Recordable) and DVD-RWs (DVD-ReWritable) may not be played.
      • If there are fingerprints or scratches on a disc, the disc may not be played or may skip.
      • Some CD-Rs, CD-RWs, DVD-Rs (DVD-Recordable) and DVD-RWs (DVD-ReWritable) may deteriorate if they are left in the cabin for a long time.
      • Keep CD-Rs, CD-RWs, DVD-Rs (DVD-Recordable) and DVD-RWs (DVD-ReWritable) in an opaque case.
      • DualDiscs that mate DVD recorded material on one side with CD digital audio material on the other cannot be played.
      • Keep discs away from dirt. Be careful not to damage discs or leave fingerprints on them.
      • Hold discs by the outer edge and center hole with the label side up.
      • Leaving a disc exposed halfway out of the slot for a long time after pressing the disc eject button may cause deformation of the disc, making the disc unusable.
      • If a disc has adhesive tape, stickers, disc labels or any traces of such labels attached, the disc may not be ejected or player malfunctions may result.
      • Keep discs away from direct sunlight. (Exposure to direct sunlight may cause deformation of a disc, making the disc unusable.)
      • Do not use odd-shaped discs because these may cause player malfunctions.
      • Do not use discs whose recording portion is transparent or translucent because they may not be inserted, ejected or played normally.
      • Use only 4.7 in. (12 cm) discs.
      • Do not use 3 in. (8 cm) discs either with or without adaptors.
      • SECAM color television standard discs cannot be played.

      HINT: 

      • When it is cold or raining, if the windows fog up, mist and condensation may form in the player. In such cases, a disc may skip or stop in the middle of play. Ventilate or dehumidify the cabin for a while before using the player.
      • The disc may skip if the player experiences strong vibrations when the vehicle is driven on rough roads or similar uneven surfaces.
    7. Cleaning
      GTY248073Courtesy of © TOYOTA, LICENSE AGREEMENT TMS1002
      NOTE:

      Do not use a lens cleaner because it may cause a malfunction in the pickup portion of the player.

      1. If dirt is on the disc surface, wipe it clean with a soft dry cloth, such as an eyeglass cleaner for plastic lenses, from the inside to the outside in a radial direction.
        NOTE:
        • Pressing on the disc by hand or rubbing the disc with a hard cloth may scratch the disc surface.
        • Use of solvents such as record spray, antistatic agents, alcohol, benzine, thinners or a chemical cloth may cause damage to the disc, making the disc unusable.
  3. USB AUDIO SYSTEM FUNCTION OUTLINE 
    1. The No. 1 stereo jack adapter assembly is equipped with a USB connector. Connecting a USB device or "iPod" to the No. 1 stereo jack adapter assembly allows music files to be played. Not only is it possible to play music from a USB device with audio functions, it is also possible to play MP3, WMA, AAC, WAV (LPCM), FLAC, ALAC or OGG Vorbis music files that are stored on a USB device. In addition, "iPod" control software is installed, allowing file selection from playlists and operation using shuffle mode.

      HINT: 

      Operation through the controls of a USB device or some "iPod" cannot be performed while it is connected.

    2. USB audio system compatible devices
      1. USB device

        The following device formats can be used:

        Compatible USB device formats
        • USB communication format: USB 2.0 HS (480 Mbps)
        • File format: FAT16/32 (Windows)
        • Class: Mass storage class

        MP3, WMA, AAC, WAV (LPCM), FLAC, ALAC and OGG Vorbis files written to a USB device with any format other than those listed above may not be played correctly, and their names and folder names may not be displayed correctly.

        Items related to standards and limitations are as follows:

        • Maximum directory hierarchy: 8 levels
        • Maximum number of folders in device: 3000 (including the root folder)
        • Maximum number of files in device: 9999
        • Maximum number of files per folder: 255
      2. "iPod"

        "iPhone", "iPod", "iPod classic", "iPod nano" and "iPod touch" are trademarks of Apple Inc., registered in the U.S. and other countries.

        The following "iPod", "iPod nano", "iPod classic", "iPod touch" and "iPhone" devices can be used with this system.

        Made for:

        • "iPod touch" (6th generation)
        • "iPod touch" (5th generation)
        • "iPod touch" (4th generation)
        • "iPod touch" (3rd generation)
        • "iPod touch" (2nd generation)
        • "iPod touch" (1st generation)
        • "iPod nano" (7th generation)
        • "iPod nano" (6th generation)
        • "iPod nano" (5th generation)
        • "iPod nano" (4th generation)
        • "iPhone SE"
        • "iPhone 6s Plus"
        • "iPhone 6s"
        • "iPhone 6 Plus"
        • "iPhone 6"
        • "iPhone 5s"
        • "iPhone 5c"
        • "iPhone 5"
        • "iPhone 4s"
        • "iPhone 4"
        • "iPhone 3GS"
        • "iPhone 3G"

        HINT: 

        • This system only supports audio playback.
        • Depending on differences between models or software versions etc., some models might be incompatible with this system.
          • "iPod classic"
          • "iPod with video"
          • "iPod nano" (3rd generation)
          • "iPod nano" (2nd generation)
          • "iPod nano" (1st generation)
          • "iPhone"
  4. USB VIDEO SYSTEM FUNCTION OUTLINE 
    1. Playable video file standards
      File format MPEG-4, AVI Container, Windows Media Video
      Corresponding screen size MAX 1920 x 1080
      Corresponding frame rate MAX 60i/30p
  5. HIGH-RESOLUTION SOUND SOURCE OUTLINE 
    1. This device supports high-resolution sound sources.
    2. The definition of high-resolution is based on the standards of groups such as the CTA (Consumer Technology Association).
    3. The following formats and media can be used:
      Supported formats WAV (LPCM), FLAC, ALAC, OGG Vorbis
      Playable media USB
  6. FILE INFORMATION OUTLINE 
    1. Playable MP3 file standards
      Compatible standard MPEG1 LAYER3, MPEG2 LSF LAYER3
      Compatible sampling frequency
      • MPEG1 LAYER3: 32, 44.1, 48 (kHz)
      • MPEG2 LSF LAYER3: 16, 22.05, 24 (kHz)
      Compatible bit rate
      • MPEG1 LAYER3: 32 to 320 (kbps)
      • MPEG2 LSF LAYER3: 8 to 160 (kbps)
      • Compatible with VBR
      Compatible channel mode Stereo, joint stereo, dual channel, monaural
    2. Playable WMA file standards
      Compatible standard WMA Ver. 7, 8, and 9
      Compatible sampling frequency 32, 44.1, 48 (kHz)
      Compatible bit rate (Only compatible with 2-channel playback)
      • Ver. 7, 8: CBR48 to 192 (kbps)
      • Ver. 9: CBR48 to 320 (kbps)
      • Compatible with VBR
    3. Playable AAC file standards
      Compatible standard MPEG4/AAC-LC
      Compatible sampling frequency 11.025, 12, 16, 22.05, 24, 32, 44.1, 48 (kHz)
      Compatible bit rate
      • 8 to 320 (kbps)
      • Compatible with VBR
    4. Playable WAV (LPCM) file standards*
      Compatible sampling frequency 8/11.025/12/16/22.05/24/32/44.1/48/88.2/96/176.4/192 (kHz)
      Compatible bit rate 16/24 (bit)

      *: Files with a sample rate higher than 48kHz are down-converted to 48kHz/24bit.

    5. Playable FLAC file standards*
      Compatible sampling frequency 8/11.025/12/16/22.05/24/32/44.1/48/88.2/96/176.4/192 (kHz)
      Compatible bit rate 16/24 (bit)

      *: Files with a sample rate higher than 48kHz are down-converted to 48kHz/24bit.

    6. Playable ALAC file standards*
      Compatible sampling frequency 8/11.025/12/16/22.05/24/32/44.1/48/64/88.2/96 (kHz)
      Compatible bit rate 16/24 (bit)

      *: Files with a sample rate higher than 48kHz are down-converted to 48kHz/24bit.

    7. Playable OGG Vorbis file standards*
      Compatible sampling frequency 8/11.025/16/22.05/32/44.1/48 (kHz)
      Compatible bit rate
      • 32-500 (kbps)
      • Compatible with VBR

      *: Files with a sample rate higher than 48kHz are down-converted to 48kHz/24bit.

    8. ID3 tag, WMA tag, AAC tag, TAG and Vorbis comment
      1. Additional text information called an ID3 tag can be input to MP3 files. Information such as song titles and artist names can be stored.

        HINT: 

        This player is compatible with ID3 tags of ID3 Ver. 1.0 and 1.1, and ID3 Ver. 2.2 and 2.3. (Number of characters complies with ID3 Ver. 1.0 and 1.1, and ID3 Ver. 2.2 and 2.3.)

      2. Additional text information called a WMA tag can be input to WMA files. Information such as song titles and artist names can be stored.
      3. Additional text information called an AAC tag can be input to AAC files. Information such as song titles and artist names can be stored.
      4. Additional text information called a TAG can be input to WAV (LPCM), FLAC, ALAC files. Information such as song titles and artist names can be stored.
      5. Additional text information called a Vorbis comment can be input to OGG Vorbis files. Information such as song titles and artist names can be stored.
    9. Usable media
      1. Only CD-ROMs, CD-Rs (CD-Recordable), CD-RWs (CD-ReWritable), DVD-ROMs, DVD-Rs (DVD Recordable), DVD-RWs (DVD-ReWritable) and USB devices can be used to play MP3/WMA/AAC files.
        NOTE:
        • CD-Rs, CD-RWs, DVD-Rs (DVD-Recordable) and DVD-RWs (DVD-ReWritable) are more easily affected by a hot and humid environment than discs used for normal audio CDs. For this reason, some CD-Rs, CD-RWs, DVD-Rs (DVD-Recordable) and DVD-RWs (DVD-ReWritable) may not be played.
        • If there are fingerprints or scratches on a disc, the disc may not be played or may skip.
        • Some CD-Rs and CD-RWs, DVD-Rs (DVD-Recordable) and DVD-RWs (DVD ReWritable) may deteriorate if they are left in the cabin for a long time.
        • Keep CD-Rs and CD-RWs, DVD-Rs (DVD-Recordable) and DVD-RWs (DVD ReWritable) in an opaque case.
      2. Only USB devices can be used to play WAV (LPCM)/FLAC/ALAC/OGG Vorbis files.
    10. Usable media format
      1. Usable media format
        Disc format CD-ROM Mode 1, CD-ROM XA Mode 2 Form 1, DVD ROM
        File format
        • ISO9660 Level 1 and Level 2 (Joliet, Romeo)
        • UDF2.01 (Universal Disk Format)

        HINT: 

        • MP3/WMA/AAC files written in any unlisted format may not be played normally or the file names or folder names may not be displayed correctly.
        • This player is compatible with multi-session discs and can play CD-Rs and CD-RWs on which MP3/WMA/AAC files have been added. However, only the first session can be played.
        • This player is compatible with multi-border discs and can play DVD-Rs (DVD-Recordable) and DVD-RWs (DVD-ReWritable) on which MP3/WMA/AAC files have been added. However, only the first session can be played.
        • Discs whose first session includes both music data and MP3, WMA and AAC format data may not be played.
      2. Standards and restrictions
        Maximum directory levels 8 levels
        Maximum number of characters for a folder name/file name 32 characters
        Maximum number of folders 192 (Including empty folders, root folders, and folders that do not contain MP3/WMA/AAC files)
        Maximum number of files in a disc 255 (Including non-MP3/WMA/AAC files)
    11. File names
      1. Only files with an extension of ".mp3", ".wma", ".m4a", ".wav", ".flac", ".alac", ".ogg" and ".oga" can be recognized and played as MP3, WMA, AAC, WAV (LPCM), FLAC, ALAC or OGG Vorbis files.
      2. Save MP3, WMA, AAC, WAV (LPCM), FLAC, ALAC or OGG Vorbis files with an extension of ".mp3", ".wma", ".m4a", ".wav", ".flac", ".alac", ".ogg" or ".oga".
        NOTE:

        If non-MP3, non-WMA, non-AAC, non-WAV (LPCM), non-FLAC, non-ALAC or non-OGG Vorbis files are saved with an extension of ".mp3", ".wma", ".m4a", ".wav", ".flac", ".alac", ".ogg" or ".oga", those files may be wrongly recognized as MP3, WMA, AAC, WAV (LPCM), FLAC, ALAC or OGG Vorbis files and played. A loud noise may occur and damage to the speakers may result.

  7. "Bluetooth" OUTLINE 
    GTY440771Courtesy of © TOYOTA, LICENSE AGREEMENT TMS1002
    *1 Radio Receiver Assembly
    (Built-in "Bluetooth" Antenna)
    - -
    *a Example *b Cellular Network
    *c Cellular Phone
    ("Bluetooth" Compatible Type)
    *d Portable Audio Player
    ("Bluetooth" Compatible Type)
    *e "Bluetooth" Wireless Connection - -
    1. "Bluetooth" is a trademark owned by Bluetooth SIG, Inc.
    2. "Bluetooth" is a wireless connection technology that uses the 2.4 GHz frequency band.

      HINT: 

      The communication performance of "Bluetooth" may vary depending on obstructions or radio wave conditions between communication devices, electromagnetic radiation, communication device sensitivity or antenna capacity.

    3. Hands-free function
      1. The "Bluetooth" built-in radio receiver assembly and a "Bluetooth" compatible cellular phone* can be connected using a "Bluetooth" wireless connection. This enables the use of the hands-free function on the cellular phone even if the phone is in a pocket or bag. For this reason, it is not necessary to use a connector or cable to connect the cellular phone.

        *: Some versions of "Bluetooth" compatible cellular phones may not function properly.

      2. The hands-free function uses a "Bluetooth" wireless connection. A "Bluetooth" wireless connection can be affected by uncertain elements, such as vehicle location, time of day, etc. Therefore, problems related to establishing connection may be caused temporarily by "Bluetooth" connection conditions. It is necessary to check the frequency of occurrence, connection conditions using another cellular phone, etc. when performing diagnosis.
      3. Compatible hands-free devices
        Required "Bluetooth" specifications Ver. 2.0 or higher (Ver. 4.1+EDR recommended)
        Compatible profiles
        • HFP (Hands-Free Profile) Ver. 1.0 or higher (Ver. 1.7 or higher recommended)*1
        • OPP (Object Push Profile) Ver. 1.1 or higher (Ver. 1.2 or higher recommended)*2
        • PBAP (Phone Book Access Profile) Ver. 1.0 or higher (Ver. 1.2 or higher recommended)*2
        • MAP (Message Access Profile) Ver. 1.0 or higher (Ver. 1.2 or higher recommended)*4
        • SPP (Serial Port Profile) Ver. 1.2 or higher*3
        Maximum number of hands-free devices that can be registered (including audio devices) 5
        1. *1: This profile is necessary when using the hands-free function.
        2. *2: This profile is necessary when transferring the phonebook data.
        3. *3: This profile is necessary when using the LEXUS App Suite function.
        4. *4: This profile is necessary when using the message function (w/ SMS/MMS/e-mail Function).

        HINT: 

        • "Bluetooth" compatible cellular phone can be checked at http:// www.lexus.com/MobileLink/.
        • The amount of remaining battery charge displayed on the radio receiver assembly may be different from that of the "Bluetooth" device.
    4. "Bluetooth" audio function
      1. The "Bluetooth" built-in radio receiver assembly and a "Bluetooth" compatible portable audio player* can be connected using a "Bluetooth" wireless connection. This enables files stored in the portable audio player to be heard from the vehicle speakers. In addition, operations such as play/stop can be performed directly from the radio receiver assembly.

        *: Some versions of "Bluetooth" compatible audio players may not be able to be connected via the "Bluetooth" function, or music may play, but functions available using the radio receiver assembly may be limited.

      2. Compatible "Bluetooth" audio devices
        Required "Bluetooth" specifications Ver. 2.0 or higher (Ver. 4.1 + EDR or higher recommended)
        Compatible profiles
        • A2DP (Advanced Audio Distribution Profile) Ver. 1.0 or higher (Ver. 1.3 or higher recommended)
        • AVRCP (Audio/Video Remote Control Profile) Ver. 1.0 or higher (Ver. 1.6 or higher recommended)
        Maximum number of audio devices that can be registered (including hands-free devices) 5
  8. RADIO DESCRIPTION 
    1. Radio frequency band
      1. Radio broadcasts use the radio frequency bands shown in the table below.
        GTY443847Courtesy of © TOYOTA, LICENSE AGREEMENT TMS1002
    2. Service area
      1. The service areas of AM and FM broadcasts are vastly different. Sometimes an AM broadcast can be received very clearly but an FM stereo broadcast cannot. FM stereo has the smallest service area, and is prone to pick up static and other types of interference such as noise.
        GTY444886Courtesy of © TOYOTA, LICENSE AGREEMENT TMS1002
        *a FM (Stereo)
        *b FM (Monaural)
        *c AM
    3. Radio reception problems

      HINT: 

      In addition to static, other problems such as "phasing", "multipath" and "fade out" exist. These problems are not caused by electrical noise, but by the radio signal propagation method itself.

      1. Phasing

        AM broadcasts are susceptible to electrical interference and another kind of interference called phasing. Occurring only at night, phasing is the interference created when a vehicle receives 2 radio wave signals from the same transmitter. One signal is reflected off the ionosphere and the other signal is received directly from the transmitter.

        GTY442397Courtesy of © TOYOTA, LICENSE AGREEMENT TMS1002
        *a Phasing
        *b Ionosphere
      2. Multipath

        Multipath is a type of interference created when a vehicle receives 2 radio wave signals from the same transmitter. One signal is reflected off buildings or mountains and the other signal is received directly from the transmitter.

        GTY438916Courtesy of © TOYOTA, LICENSE AGREEMENT TMS1002
        *a Multipath
      3. Fade out

        Fade out is caused by objects (buildings, mountains and other large obstructions) that deflect part of a signal, resulting in a weaker signal when the object is between the transmitter and vehicle. High frequency radio waves, such as FM broadcasts, are easily deflected by obstructions. Low frequency radio waves, such as AM broadcasts, are less likely to be deflected.

        GTY453023Courtesy of © TOYOTA, LICENSE AGREEMENT TMS1002
        *a Fade Out
    4. Noise problem

      Technicians must have a clear understanding about each customer's noise complaint. Use the following table to diagnose noise problems.

      Radio Frequency Noise Occurrence Condition Presumable Cause
      AM Noise occurs in a specific area Foreign noise
      Noise occurs when listening to an intermittent broadcast An identical program transmitted from multiple towers can cause noise where the signals overlap
      Noise occurs only at night Signal phasing
      FM Noise occurs while driving in a specific area Multipath resulting from a change in FM frequency
  9. VEHICLE CUSTOMIZATION OUTLINE 
    1. Customization of functions can also be performed on the multi-display assembly screen. Refer to the Owner's Service Information for further information on customizable items for the navigation system.

      HINT: 

      • Items available for customization via the navigation system can also be customized by using the Techstream.
      • Some customize parameters displayed on the Techstream will be displayed on the "Vehicle Customization" screen for the navigation system. Users can customize these items.
  10. "HD Radio" FUNCTION OUTLINE (w/ HD Radio Function) 
    1. The "HD Radio" system is a radio system that broadcasts in the IBOC (In-Band On-Channel) form that the iBiquity Co. has developed. By expanding the bandwidth per channel of conventional FM/AM bands, digital audio and data signals are additionally transmitted.

      "HD Radio" technology is manufactured under license from iBiquity Digital Corporation. U.S. and Foreign Patents. "HD Radio" and the HD and HD Radio logos are proprietary trademarks of iBiquity Digital Corporation. Also, traffic and weather information can be received and displayed on the navigation screen.

  11. SiriusXM FUNCTION OUTLINE (w/ SXM Function) 
    1. SiriusXM (SXM) satellite radio is a satellite digital radio broadcast provided by SiriusXM Radio Inc. The broadcast (pay-type) is performed through satellites and terrestrial repeater networks. Several unique channels are available, and even if a vehicle changes locations, the same information can be received without breaks. Information such as song names, broadcast station names, etc. can be received.
      NOTE:

      To receive pay-type broadcasts, the customer must enter into a pay-type contract with SiriusXM Satellite Radio Inc. After entering into a contract, registration of the Radio ID is necessary. Also, if parts are replaced, the Radio ID must be re-registered.

      HINT: 

      When disconnecting the cable from the negative (-) battery terminal, the broadcast station logo data will be initialized. It takes a while for the broadcast station logo data to be updated to the latest data.

  12. AUTOMATIC SOUND LEVELIZER (ASL) FUNCTION OUTLINE 
    1. The Automatic Sound Levelizer (ASL) function automatically adjusts the audio system volume in order to compensate for increased vehicle noise (vehicle noise tends to increase as vehicle speed increases). The ASL adjusts the volume based upon vehicle speed signals sent from the combination meter assembly.
  13. DYNAMIC VOICE RECOGNITION FUNCTION OUTLINE (w/ Dynamic Voice Recognition Function) 
    1. There are two types of voice recognition; the voice recognition function uses voice recognition data stored in the onboard device. The other is communication based and uses voice recognition data sent from communication with the DCM (telematics transceiver) as audio signals to be stored at the center.

      HINT: 

      Refer to the Lexus Enform system for information about communication based voice recognition.

      Refer to SYSTEM DESCRIPTION [11/2017 - 11/2019]

  14. MOBILE ASSISTANT FUNCTION OUTLINE 
    1. With a compatible portable device connected via "Bluetooth", this function allows the system to interface directly for voice recognition functions. The steering pad switch assembly is operated to start the Mobile Assistant function and the function is operated by using voice commands.

      HINT: 

      Mobile assistant may not operate or the device may become unresponsive depending on the type of device connected, OS (iOS/Android) version or Google app version.

  15. "Wi-Fi" hotspot OUTLINE (w/ "Wi-Fi" hotspot Function) 

    HINT: 

    • To use the "Wi-Fi" hotspot function, initial setup of the LEXUS App Suite function is necessary.
    • To perform initial setup, refer to http://www.lexus.com/MobileLink/.
    1. "Wi-Fi" is a worldwide wireless communication standard widely used as a short range communication tool.
    2. "Wi-Fi" is a trademark owned by Wi-Fi Alliance, a non-profit industry association.
    3. The radio receiver assembly uses the 2.4 GHz frequency band for "Wi-Fi" communication.

      HINT: 

      The communication performance of "Wi-Fi" may vary depending on obstructions or radio wave conditions between communication devices, electromagnetic radiation, communication device sensitivity or antenna capacity.

  16. DIAGNOSTIC FUNCTION OUTLINE 
    1. The navigation system has a diagnostic function (the result is indicated on the master unit).
  17. COMMUNICATION SYSTEM 
    1. MOST Network Outline
      GTY817147Courtesy of © TOYOTA, LICENSE AGREEMENT TMS1002
      *a Example *b MOST Communication Line
      *c Shielded *d Wake-up Signal
      *e Master Unit *f Slave Unit
      1. Components of the navigation system communicate with each other via the MOST network.
      2. The MOST network uses a shielded twisted pair of wires for its communication lines.
      3. The master unit of the MOST network is the radio receiver assembly.
      4. MOST communication lines connect each slave unit centering around the master unit to form a MOST network ring.
      5. The master unit sends a wake-up signal to activate each slave unit connected to the MOST network.

        HINT: 

        If a short or open occurs in the MOST network, communication will be interrupted and the system will not operate normally.

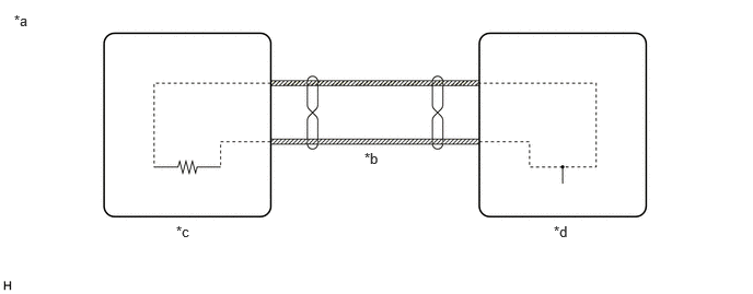
    2. AVC-LAN Outline
      GTY824385Courtesy of © TOYOTA, LICENSE AGREEMENT TMS1002
      *a Example *b AVC-LAN Communication Line
      *c Master Unit *d Slave Unit
      1. Components of the navigation system communicate with each other via AVC-LAN communication.
      2. The AVC-LAN uses a twisted pair of wires for its communication lines.
      3. The master unit of the AVC-LAN is the radio receiver assembly.

        HINT: 

        • The radio receiver assembly has the resistance (60 to 80 Ω) necessary for communication.
        • If a short or open occurs in the AVC-LAN circuit, communication is interrupted and the system will not operate normally.
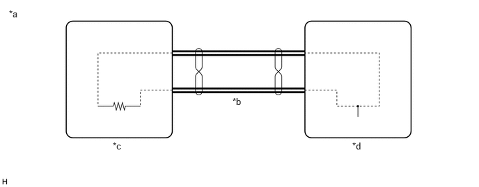
    3. Local Bus Communication Outline
      GTY784237Courtesy of © TOYOTA, LICENSE AGREEMENT TMS1002
      *a Example *b Local Bus Communication Line
      *c Master Unit *d Slave Unit
      1. Components of the navigation system communicate with each other via the local bus.
      2. The local bus uses a twisted pair of wires for its communication lines.
      3. The master unit of the local bus is the radio receiver assembly.

        HINT: 

        • The radio receiver assembly has the resistance (108 to 132 Ω) necessary for communication.
        • If a short or open occurs in the local bus circuit, communication is interrupted and the system will not operate normally.
    4. CAN Communication Outline
      1. The navigation system uses CAN communication between the radio receiver assembly and ECUs.
  18. TOUCH FUNCTION CANCELLATION FUNCTION OUTLINE (w/ Touch Function Cancellation Function) 
    1. Touch function cancellation function
      1. The touch function cancellation function disables touchpad operation of the remote touch, if it is not operated for 12 seconds or more.

        Refer to CUSTOMIZE PARAMETERS [11/2017 - ]

        HINT: 

        • Touchpad operation of the remote touch can be resumed if any of the following conditions are met:
          • The "MAP", "MENU", "Back" or sub-function switch of the remote touch is pressed.
          • A finger is slid from one side of the touchpad to the other.
        • When the touchpad operation of the remote touch is disabled and the compass screen is being displayed, pressing the "Back" switch does not change the display (the first switch operation will be ignored by the navigation system) until touchpad operation resumes.
        • When the handwriting input method is being used, it is necessary to enter the next stroke within 12 seconds as touchpad operation will be disabled if the touchpad is not operated for 12 seconds or more.

          (The first touchpad operation to resume operation may also be detected as handwriting input, possibly resulting in a typographical error.)