LEMON Manuals: Even more car manuals for everyone: 1960-2025
Home >> Lexus >> 2019 >> UX 250h Base >> Repair and Diagnosis (Single Page) >> Accessories & Equipment >> Anti-Theft Systems >> Smart Access System W/ Push-Button Start (Start Function) (Symptom Tests) (2 Of 2) (Hybrid) >> SMART ACCESS SYSTEM WITH PUSH-BUTTON START (for Start Function, HV Model) >> Steering Lock does not Lock [10/2018 - 07/2022] >> Procedure
April 5, 2026: LEMON Manuals is launched! Read the announcement.

Steering Lock does not Lock [10/2018 - 07/2022]: Procedure

  1. READ VALUE USING TECHSTREAM (LOCK REQUEST RECEIVE) 
    1. Connect the Techstream to the DLC3.
    2. Turn the power switch on (IG).
    3. Turn the Techstream on.
    4. Enter the following menus: Body Electrical / Smart Access / Data List.
    5. Read the Data List according to the display on the Techstream.

      Body Electrical > Smart Access > Data List 

      Tester Display Measurement Item Range Normal Condition Diagnostic Note
      Lock Request Receive Status of steering lock command from certification ECU (smart key ECU assembly) OK or NG OK: Certification ECU (smart key ECU assembly) sends steering lock command (within 10 seconds of any door opened with shift lever in P and power switch off)
      NG: Certification ECU (smart key ECU assembly) does not send steering lock command (no door opened with shift lever in P and power switch off)
      If OK is not displayed even though the steering lock conditions are met, the certification ECU (smart key ECU assembly) may be malfunctioning.

      Body Electrical > Smart Access > Data List 

      Tester Display
      Lock Request Receive

      OK

      The certification ECU (smart key ECU assembly) receives a lock request signal within 10 seconds of turning the power switch from on (IG) to on (ACC) or off and opening a door with the shift lever in P, and OK is displayed on the Techstream screen.

      Result

      Proceed to
      OK
      NG

    Result: 

    NG 

    See step  10

    Result: 

    OK 

    See step  2

  2. READ VALUE USING TECHSTREAM (S CODE CHECK) 
    1. Read the Data List according to the display on the Techstream.

      Body Electrical > Smart Access > Data List 

      Tester Display Measurement Item Range Normal Condition Diagnostic Note
      S Code Check S code verification result OK or NG OK: Verification result normal
      NG: Verification result abnormal
      When NG is displayed:
      • The ID code for the certification ECU (smart key ECU assembly) or ID code box (immobiliser code ECU) is not registered, or the certification ECU (smart key ECU assembly) or ID code box (immobiliser code ECU) is malfunctioning.
      • The steering cannot be locked.
      • The steering cannot be unlocked (the hybrid control system cannot be started).

      Body Electrical > Smart Access > Data List 

      Tester Display
      S Code Check

      OK

      OK is displayed on the Techstream.

      HINT: 

      Reasons for verification failure:

      • The certification ECU (smart key ECU assembly) or ID code box (immobiliser code ECU) is malfunctioning.
      • There is a problem with the communication between ECUs.
      • An ECU was replaced, but not registered.
      • An ECU was replaced with an ECU which has already been registered to another vehicle.

      Result

      Proceed to
      OK
      NG

    Result: 

    NG 

    See step  9

    Result: 

    OK 

    See step  3

  3. READ VALUE USING TECHSTREAM (L CODE CHECK) 
    1. Read the Data List according to the display on the Techstream.

      Body Electrical > Smart Access > Data List 

      Tester Display Measurement Item Range Normal Condition Diagnostic Note
      L Code Check Verification result between certification ECU (smart key ECU assembly) and steering lock ECU (steering lock actuator or upper bracket assembly) OK or NG OK: Verification result normal
      NG: Verification result abnormal
      When NG is displayed:
      • The ID code for the certification ECU (smart key ECU assembly) or steering lock ECU (steering lock actuator or upper bracket assembly) is not registered, or the certification ECU (smart key ECU assembly) or steering lock ECU (steering lock actuator or upper bracket assembly) is malfunctioning.
      • The steering cannot be locked.
      • The steering cannot be unlocked (the hybrid control system cannot be started).

      Body Electrical > Smart Access > Data List 

      Tester Display
      L Code Check

      OK

      OK is displayed on the Techstream.

      HINT: 

      Reasons for verification failure:

      • The steering lock ECU (steering lock actuator or upper bracket assembly) or certification ECU (smart key ECU assembly) is malfunctioning.
      • There is a problem with the communication between ECUs.
      • An ECU is replaced, but is not registered.
      • An ECU is replaced with an ECU which has a code already stored in it.

      Result

      Proceed to
      OK
      NG

    Result: 

    NG 

    See step  8

    Result: 

    OK 

    See step  4

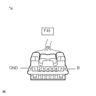
  4. CHECK HARNESS AND CONNECTOR (POWER SOURCE) 
    1. Disconnect the F45 steering lock ECU (steering lock actuator or upper bracket assembly) connector.
    2. Measure the resistance and voltage according to the value(s) in the table below.
      GTY790985Courtesy of © TOYOTA, LICENSE AGREEMENT TMS1002
      *a Front view of wire harness connector
      (to Steering Lock ECU (Steering Lock Actuator or Upper Bracket Assembly))

      Standard Resistance

      Tester Connection Condition Specified Condition
      F45-1 (GND) - Body ground Always Below 1 Ω
      NOTE:

      If the result is not as specified, check for looseness in the ground cable connection.

      Standard Voltage

      Tester Connection Switch Condition Specified Condition
      F45-7 (B) - Body ground Power switch off 11 to 14 V

      Result

      Proceed to
      OK
      NG

    Result: 

    NG 

    REPAIR OR REPLACE HARNESS OR CONNECTOR 

    Result: 

    OK 

    See step  5

  5. CHECK STEERING LOCK ECU (STEERING LOCK ACTUATOR OR UPPER BRACKET ASSEMBLY) 
    1. Connect the F45 steering lock ECU (steering lock actuator or upper bracket assembly) connector.
    2. Move the shift lever to P and turn the power switch off.
    3. Check the signal waveform according to the condition(s) in the table below.
      GTY815999Courtesy of © TOYOTA, LICENSE AGREEMENT TMS1002
      *a Component with harness connected
      (Steering Lock ECU (Steering Lock Actuator or Upper Bracket Assembly))
      *b Steering lock motor not operating
      *c Steering lock motor operating *d Waveform

      OK

      Tester Connection Condition Tool Setting Specified Condition
      F45-3 (IGE) - F45-1 (GND) 2 V/DIV., 200 ms./DIV. Steering lock motor not operating → Operating → Not operating Pulse generation
      (See waveform)

      HINT: 

      • When taking measurements when the lock motor is stopped, it is not necessary to perform any operations.
      • In order to take measurements when the lock motor is operating, perform either of the following operations:
        • To unlock the steering, carry the electrical key transmitter sub-assembly and turn the power switch on (ACC) or on (IG).
        • To lock the steering, turn the power switch off with the shift lever in P, and then open a door.

      Result

      Result Proceed to
      OK (for Manual Tilt and Manual Telescopic Steering Column) A
      OK (for Power Tilt and Power Telescopic Steering Column) B
      NG C

    Result: 

    REPLACE STEERING LOCK ECU (STEERING LOCK ACTUATOR OR UPPER BRACKET ASSEMBLY). Refer to  DISASSEMBLY [10/2018 - 07/2022] 

    Result: 

    REPLACE STEERING LOCK ECU (STEERING LOCK ACTUATOR OR UPPER BRACKET ASSEMBLY). Refer to  DISASSEMBLY [10/2018 - 07/2022] 

    Result: 

    See step  6

  6. CHECK HARNESS AND CONNECTOR (STEERING LOCK ECU (STEERING LOCK ACTUATOR OR UPPER BRACKET ASSEMBLY) - CERTIFICATION ECU (SMART KEY ECU ASSEMBLY)) 
    1. Disconnect the F45 steering lock ECU (steering lock actuator or upper bracket assembly) connector.
    2. Disconnect the F44 certification ECU (smart key ECU assembly) connector.
    3. Measure the resistance according to the value(s) in the table below.

      Standard Resistance

      Tester Connection Condition Specified Condition
      F45-3 (IGE) - F44-25 (SLR+) Always Below 1 Ω
      F45-3 (IGE) or F44-25 (SLR+) - Other terminals and body ground Always 10 kΩ or higher

      Result

      Proceed to
      OK
      NG

    Result: 

    NG 

    REPAIR OR REPLACE HARNESS OR CONNECTOR 

    Result: 

    OK 

    See step  7

  7. CHECK STEERING LOCK ECU (STEERING LOCK ACTUATOR OR UPPER BRACKET ASSEMBLY) 
    1. Connect the F45 steering lock ECU (steering lock actuator or upper bracket assembly) connector.
    2. Connect the F44 certification ECU (smart key ECU assembly) connector.
    3. Measure the voltage according to the value(s) in the table below.

      Standard Voltage

      Tester Connection Switch Condition Specified Condition
      F45-3 (IGE) - Body ground Power switch off 11 to 14 V
      GTY828817Courtesy of © TOYOTA, LICENSE AGREEMENT TMS1002
      *a Component with harness connected
      (Steering Lock ECU (Steering Lock Actuator or Upper Bracket Assembly))

      Result

      Result Proceed to
      OK A
      NG (for Manual Tilt and Manual Telescopic Steering Column) B
      NG (for Power Tilt and Power Telescopic Steering Column) C

    Result: 

    REPLACE CERTIFICATION ECU (SMART KEY ECU ASSEMBLY). Refer to  REMOVAL [10/2018 - 07/2022] 

    Result: 

    REPLACE STEERING LOCK ECU (STEERING LOCK ACTUATOR OR UPPER BRACKET ASSEMBLY). Refer to  DISASSEMBLY [10/2018 - 07/2022] 

    Result: 

    REPLACE STEERING LOCK ECU (STEERING LOCK ACTUATOR OR UPPER BRACKET ASSEMBLY). Refer to  DISASSEMBLY [10/2018 - 07/2022] 

  8. CHECK STEERING LOCK ECU (STEERING LOCK ACTUATOR OR UPPER BRACKET ASSEMBLY) 
    1. Replace the steering lock ECU (steering lock actuator or upper bracket assembly) with a new one and perform registration.
      1. for Manual Tilt and Manual Telescopic Steering Column: Refer to DISASSEMBLY [10/2018 - 07/2022]
      2. for Power Tilt and Power Telescopic Steering Column: Refer to DISASSEMBLY [10/2018 - 07/2022]
    2. Read the Data List according to the display on the Techstream.

      Body Electrical > Smart Access > Data List 

      Tester Display Measurement Item Range Normal Condition Diagnostic Note
      L Code Check Verification result between ID code box (immobiliser code ECU) and steering lock ECU (steering lock actuator or upper bracket assembly) OK or NG OK: Verification result normal
      NG: Verification result abnormal
      When NG is displayed:
      • The ID code for the ID code box (immobiliser code ECU) or steering lock ECU (steering lock actuator or upper bracket assembly) is not registered, or the ID code box (immobiliser code ECU) or steering lock ECU (steering lock actuator or upper bracket assembly) is malfunctioning.
      • The steering cannot be locked.
      • The steering cannot be unlocked (the hybrid control system cannot be started).

      Body Electrical > Smart Access > Data List 

      Tester Display
      L Code Check

      OK

      OK is displayed on the Techstream.

      Result

      Proceed to
      OK
      NG

    Result: 

    OK 

    END (STEERING LOCK ECU (STEERING LOCK ACTUATOR OR UPPER BRACKET ASSEMBLY) WAS DEFECTIVE) 

    Result: 

    NG 

    REPLACE ID CODE BOX (IMMOBILISER CODE ECU). Refer to  REMOVAL [10/2018 - 07/2022] 

  9. CHECK CERTIFICATION ECU (SMART KEY ECU ASSEMBLY) 
    1. Replace the certification ECU (smart key ECU assembly) with a new one and perform registration.

      Refer to REMOVAL [10/2018 - 07/2022]

    2. Read the Data List according to the display on the Techstream.

      Body Electrical > Smart Access > Data List 

      Tester Display Measurement Item Range Normal Condition Diagnostic Note
      S Code Check S code verification result OK or NG OK: Verification result normal
      NG: Verification result abnormal
      When NG is displayed:
      • The ID code for the certification ECU (smart key ECU assembly) or ID code box (immobiliser code ECU) is not registered, or the certification ECU (smart key ECU assembly) or ID code box (immobiliser code ECU) is malfunctioning.
      • The steering cannot be locked.
      • The steering cannot be unlocked (the hybrid control system cannot be started).

      Body Electrical > Smart Access > Data List 

      Tester Display
      S Code Check

      OK

      OK is displayed on the Techstream.

      Result

      Proceed to
      OK
      NG

    Result: 

    OK 

    END (CERTIFICATION ECU (SMART KEY ECU ASSEMBLY) WAS DEFECTIVE) 

    Result: 

    NG 

    REPLACE ID CODE BOX (IMMOBILISER CODE ECU) 

  10. READ VALUE USING TECHSTREAM (FL DOOR COURTESY SW) 
    1. Using the Techstream, check the following main body ECU (multiplex network body ECU) Data List item by opening and closing the driver door to confirm the state of the front door courtesy light switch assembly.

      Body Electrical > Main Body > Data List 

      Tester Display Measurement Item Range Normal Condition Diagnostic Note
      FL Door Courtesy SW Front door LH courtesy light switch signal OFF or ON OFF: Front door LH closed
      ON: Front door LH open
      -

      Body Electrical > Main Body > Data List 

      Tester Display
      FL Door Courtesy SW

      OK

      The Data List item changes in accordance with the opening and closing of the driver door.

      Result

      Proceed to
      OK
      NG

    Result: 

    NG 

    GO TO LIGHTING SYSTEM (Door Courtesy Switch Circuit). Refer to  Door Courtesy Switch Circuit [10/2018 - 07/2022] 

    Result: 

    OK 

    See step  11

  11. READ VALUE USING TECHSTREAM (SHIFT P SIGNAL) 
    1. Move the shift lever to P.
    2. Read the Data List according to the display on the Techstream.

      Body Electrical > Power Source Control > Data List 

      Tester Display Measurement Item Range Normal Condition Diagnostic Note
      Shift P Signal Shift position P OFF or ON OFF: Shift lever not in P
      ON: Shift lever in P
      Use this item to determine whether the shift lever position switch (P) is malfunctioning.

      Body Electrical > Power Source Control > Data List 

      Tester Display
      Shift P Signal

      OK

      ON is displayed on the Techstream.

      Result

      Proceed to
      OK
      NG

    Result: 

    NG 

    GO TO OTHER PROBLEM. Refer to  PROBLEM SYMPTOMS TABLE [10/2018 - 08/2021]  , or refer to  PROBLEM SYMPTOMS TABLE [08/2021 - 07/2022] 

    Result: 

    OK 

    See step  12

  12. READ VALUE USING TECHSTREAM (STEERING LOCK) 
    1. Check that the steering is unlocked.
    2. Read the Data List according to the display on the Techstream.

      Body Electrical > Smart Access > Data List 

      Tester Display Measurement Item Range Normal Condition Diagnostic Note
      Steering Lock Steering lock ECU (steering lock actuator or upper bracket assembly) lock confirmation status Unset or Set Unset: Lock not confirmed
      Set: Lock confirmed
      When Unset is displayed, the steering is not locked.

      Body Electrical > Smart Access > Data List 

      Tester Display
      Steering Lock

      OK

      Set is displayed on the Techstream.

      Result

      Result Proceed to
      OK A
      NG (for Manual Tilt and Manual Telescopic Steering Column) B
      NG (for Power Tilt and Power Telescopic Steering Column) C

    Result: 

    REPLACE STEERING LOCK ECU (STEERING LOCK ACTUATOR OR UPPER BRACKET ASSEMBLY). Refer to  DISASSEMBLY [10/2018 - 07/2022] 

    Result: 

    REPLACE STEERING LOCK ECU (STEERING LOCK ACTUATOR OR UPPER BRACKET ASSEMBLY). Refer to  DISASSEMBLY [10/2018 - 07/2022] 

    Result: 

    See step  13

  13. READ VALUE USING TECHSTREAM (LOCK REQUEST RECEIVE) 
    1. Replace the certification ECU (smart key ECU assembly) with a new one and perform registration.

      Refer to REGISTRATION [10/2018 - 10/2019] , or refer to REGISTRATION [10/2019 - 07/2022]

    2. Read the Data List according to the display on the Techstream.

      Body Electrical > Smart Access > Data List 

      Tester Display Measurement Item Range Normal Condition Diagnostic Note
      Lock Request Receive Status of steering unlock command from certification ECU (smart key ECU assembly) OK or NG OK: Certification ECU (smart key ECU assembly) sends steering lock command (within 10 seconds of any door opened with shift lever in P and power switch off)
      NG: Certification ECU (smart key ECU assembly) does not send steering lock command (no door opened with shift lever in P and power switch off)
      If OK is not displayed even though the steering lock conditions are met, the certification ECU (smart key ECU assembly) may be malfunctioning.

      Body Electrical > Smart Access > Data List 

      Tester Display
      Lock Request Receive

      OK

      Within 10 seconds after any of the doors is opened with shift lever in P and power switch off, the Data List item changes to "OK".

      Result

      Proceed to
      OK
      NG

    Result: 

    OK 

    REPLACE CERTIFICATION ECU (SMART KEY ECU ASSEMBLY). Refer to  REMOVAL [10/2018 - 07/2022] 

    Result: 

    NG 

    REPLACE ID CODE BOX (IMMOBILISER CODE ECU). Refer to  REMOVAL [10/2018 - 07/2022]