LEMON Manuals: Even more car manuals for everyone: 1960-2025
Home >> Lexus >> 2019 >> UX 250h Base >> Repair and Diagnosis (Single Page) >> Accessories & Equipment >> Anti-Theft Systems >> Smart Access System W/ Push-Button Start (Start Function) (Symptom Tests) (2 Of 2) (Hybrid) >> SMART ACCESS SYSTEM WITH PUSH-BUTTON START (for Start Function, HV Model) >> Unable to Unlock Steering Wheel (Hybrid Control System cannot Start) [10/2018 - 07/2022] >> Procedure
April 5, 2026: LEMON Manuals is launched! Read the announcement.

Unable to Unlock Steering Wheel (Hybrid Control System cannot Start) [10/2018 - 07/2022]: Procedure

  1. CHECK POWER SWITCH (SWITCH CONDITION) 
    1. Check the power source mode change.
      1. When the electrical key transmitter sub-assembly is inside the vehicle and the shift lever is in P, check that pressing the power switch with the brake pedal released causes the power source mode to change as follows:

        OK

        Off → On (ACC) → On (IG) → Off

      Result

      Proceed to
      OK
      NG

    Result: 

    NG 

    GO TO OTHER PROBLEM. Refer to  PROBLEM SYMPTOMS TABLE [10/2018 - 08/2021]  , or refer to  PROBLEM SYMPTOMS TABLE [08/2021 - 07/2022] 

    Result: 

    OK 

    See step  2

  2. CHECK INDICATOR 
    1. With the power switch on (IG), check that Steering Lock active is displayed on the multi-information display in the combination meter assembly.

      Result

      Result Proceed to
      Steering Lock active is displayed. A
      Steering Lock active is not displayed. B

    Result: 

    See step  4

    Result: 

    See step  3

  3. CHECK STEERING UNLOCK 
    1. Turn the steering wheel left and right, and then press the power switch.
    2. Check that the steering is unlocked.

      Result

      Result Proceed to
      The steering is unlocked. A
      The steering is not unlocked. B

    Result: 

    USE SIMULATION METHOD TO CHECK. Refer to  HOW TO PROCEED WITH TROUBLESHOOTING [10/2018 - ] 

    Result: 

    See step  4

  4. CHECK FOR DTC 
    1. Using the Techstream, check if the certification ECU (smart key ECU assembly) DTC is output.

      Body Electrical > Smart Access > Trouble Codes 

      Result

      Result Proceed to
      DTCs are not output. A
      DTCs are output. B

    Result: 

    GO TO DIAGNOSTIC PROCEDURE INDICATED BY OUTPUT DTC 

    Result: 

    See step  5

  5. READ VALUE USING TECHSTREAM (UNLOCK REQUEST RECEIVE) 
    1. Connect the Techstream to the DLC3.
    2. Turn the power switch on (IG).
    3. Turn the Techstream on.
    4. Enter the following menus: Body Electrical / Smart Access / Data List.
    5. Read the Data List according to the display on the Techstream.

      Body Electrical > Smart Access > Data List 

      Tester Display Measurement Item Range Normal Condition Diagnostic Note
      Unlock Request Receive Status of steering unlock command from certification ECU (smart key ECU assembly) OK or NG OK: Certification ECU (smart key ECU assembly) sends steering unlock command (within 10 seconds of power switch turned on (ACC) or on (IG), or of hybrid control system start operation performed)
      NG: Certification ECU (smart key ECU assembly) does not send steering unlock command (power switch not turned on (ACC) or on (IG), and hybrid control system start operation not performed)
      • The hybrid control system cannot be started when an unlock request signal cannot be received.
      • If OK is not displayed even though the steering unlock conditions are met, the certification ECU (smart key ECU assembly) may be malfunctioning.

      Body Electrical > Smart Access > Data List 

      Tester Display
      Unlock Request Receive

      OK

      Within 10 seconds of turning the power switch on (ACC) or on (IG) or starting the hybrid control system, the Data List item changes to "OK".

      Result

      Proceed to
      OK
      NG

    Result: 

    NG 

    See step  14

    Result: 

    OK 

    See step  6

  6. READ VALUE USING TECHSTREAM (S CODE CHECK) 
    1. Read the Data List according to the display on the Techstream.

      Body Electrical > Smart Access > Data List 

      Tester Display Measurement Item Range Normal Condition Diagnostic Note
      S Code Check Verification result between certification ECU (smart key ECU assembly) and ID code box (immobiliser code ECU) OK or NG OK: Verification result normal
      NG: Verification result abnormal
      When NG is displayed:
      • The ID code for the certification ECU (smart key ECU assembly) or ID code box (immobiliser code ECU) is not registered, or the certification ECU (smart key ECU assembly) or ID code box (immobiliser code ECU) is malfunctioning.
      • The steering cannot be locked.
      • The steering cannot be unlocked (the hybrid control system cannot be started).

      Body Electrical > Smart Access > Data List 

      Tester Display
      S Code Check

      OK

      OK is displayed on the Techstream.

      HINT: 

      Reasons for verification failure:

      • The certification ECU (smart key ECU assembly) or ID code box (immobiliser code ECU) is malfunctioning.
      • There is a problem with the communication between ECUs.
      • An ECU was replaced, but not registered.
      • An ECU was replaced with an ECU which has already been registered to another vehicle.

      Result

      Proceed to
      OK
      NG

    Result: 

    NG 

    See step  13

    Result: 

    OK 

    See step  7

  7. READ VALUE USING TECHSTREAM (L CODE CHECK) 
    1. Read the Data List according to the display on the Techstream.

      Body Electrical > Smart Access > Data List 

      Tester Display Measurement Item Range Normal Condition Diagnostic Note
      L Code Check Verification result between certification ECU (smart key ECU assembly) and steering lock ECU (steering lock actuator or upper bracket assembly) OK or NG OK: Verification result normal
      NG: Verification result abnormal
      When NG is displayed:
      • The ID code for the certification ECU (smart key ECU assembly) or steering lock ECU (steering lock actuator or upper bracket assembly) is not registered, or the certification ECU (smart key ECU assembly) or steering lock ECU (steering lock actuator or upper bracket assembly) is malfunctioning.
      • The steering cannot be locked.
      • The steering cannot be unlocked (the hybrid control system cannot be started).

      Body Electrical > Smart Access > Data List 

      Tester Display
      L Code Check

      OK

      OK is displayed on the Techstream.

      HINT: 

      Reasons for verification failure:

      • The steering lock ECU (steering lock actuator or upper bracket assembly) or certification ECU (smart key ECU assembly) is malfunctioning.
      • There is a problem with the communication between ECUs.
      • An ECU is replaced, but is not registered.
      • An ECU is replaced with an ECU which has a code already stored in it.

      Result

      Proceed to
      OK
      NG

    Result: 

    NG 

    See step  12

    Result: 

    OK 

    See step  8

  8. CHECK HARNESS AND CONNECTOR (POWER SOURCE AND GROUND) 
    1. Measure the resistance and voltage according to the value(s) in the table below.
      GTY782203Courtesy of © TOYOTA, LICENSE AGREEMENT TMS1002
      *a Component with harness connected
      (Steering Lock ECU (Steering Lock Actuator or Upper Bracket Assembly))

      Standard Resistance

      Tester Connection Condition Specified Condition
      F45-1 (GND) - Body ground Always Below 1 Ω
      NOTE:

      If the result is not as specified, check for looseness in the ground cable connection.

      Standard Voltage

      Tester Connection Switch Condition Specified Condition
      F45-7 (B) - Body ground Power switch off 11 to 14 V

      Result

      Proceed to
      OK
      NG

    Result: 

    NG 

    REPAIR OR REPLACE HARNESS OR CONNECTOR 

    Result: 

    OK 

    See step  9

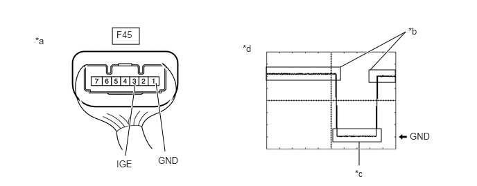
  9. CHECK STEERING LOCK ECU (STEERING LOCK ACTUATOR OR UPPER BRACKET ASSEMBLY) 
    1. Move the shift lever to P and turn the power switch off.
    2. Check the signal waveform according to the condition(s) in the table below.
      GTY816000Courtesy of © TOYOTA, LICENSE AGREEMENT TMS1002
      *a Component with harness connected
      (Steering Lock ECU (Steering Lock Actuator or Upper Bracket Assembly))
      *b Steering lock motor not operating
      *c Steering lock motor operating *d Waveform

      OK

      Tester Connection Condition Tool Setting Specified Condition
      F45-3 (IGE) - F45-1 (GND) 2 V/DIV., 200 ms./DIV. Steering lock motor not operating → Operating → Not operating Pulse generation
      (See waveform)

      HINT: 

      • When taking measurements when the lock motor is stopped, it is not necessary to perform any operations.
      • In order to take measurements when the lock motor is operating, perform either of the following operations:
        • To unlock the steering, carry the electrical key transmitter sub-assembly and turn the power switch on (ACC) or on (IG).
        • To lock the steering, turn the power switch off with the shift lever in P, and then open a door.

      Result

      Result Proceed to
      OK (for Manual Tilt and Manual Telescopic Steering Column) A
      OK (for Power Tilt and Power Telescopic Steering Column) B
      NG C

    Result: 

    REPLACE STEERING LOCK ECU (STEERING LOCK ACTUATOR OR UPPER BRACKET ASSEMBLY). Refer to  DISASSEMBLY [10/2018 - 07/2022] 

    Result: 

    REPLACE STEERING LOCK ECU (STEERING LOCK ACTUATOR OR UPPER BRACKET ASSEMBLY). Refer to  DISASSEMBLY [10/2018 - 07/2022] 

    Result: 

    See step  10

  10. CHECK HARNESS AND CONNECTOR (STEERING LOCK ECU (STEERING LOCK ACTUATOR OR UPPER BRACKET ASSEMBLY) - CERTIFICATION ECU (SMART KEY ECU ASSEMBLY)) 
    1. Disconnect the F45 steering lock ECU (steering lock actuator or upper bracket assembly) connector.
    2. Disconnect the F44 certification ECU (smart key ECU assembly) connector.
    3. Measure the resistance according to the value(s) in the table below.

      Standard Resistance

      Tester Connection Condition Specified Condition
      F45-3 (IGE) - F44-25 (SLR+) Always Below 1 Ω
      F45-3 (IGE) or F44-25 (SLR+) - Other terminals and body ground Always 10 kΩ or higher

      Result

      Proceed to
      OK
      NG

    Result: 

    NG 

    REPAIR OR REPLACE HARNESS OR CONNECTOR 

    Result: 

    OK 

    See step  11

  11. CHECK STEERING LOCK ECU (STEERING LOCK ACTUATOR OR UPPER BRACKET ASSEMBLY) 
    1. Connect the F45 steering lock ECU (steering lock actuator or upper bracket assembly) connector.
    2. Connect the F44 certification ECU (smart key ECU assembly) connector.
    3. Measure the voltage according to the value(s) in the table below.
      GTY782204Courtesy of © TOYOTA, LICENSE AGREEMENT TMS1002
      *a Component with harness connected
      (Steering Lock ECU (Steering Lock Actuator or Upper Bracket Assembly))

      Standard Voltage

      Tester Connection Condition Specified Condition
      F45-3 (IGE) - Body ground Power switch off 11 to 14 V

      Result

      Result Proceed to
      OK A
      NG (for Manual Tilt and Manual Telescopic Steering Column) B
      NG (for Power Tilt and Power Telescopic Steering Column) C

    Result: 

    REPLACE CERTIFICATION ECU (SMART KEY ECU ASSEMBLY). Refer to  REMOVAL [10/2018 - 07/2022] 

    Result: 

    REPLACE STEERING LOCK ECU (STEERING LOCK ACTUATOR OR UPPER BRACKET ASSEMBLY). Refer to  DISASSEMBLY [10/2018 - 07/2022] 

    Result: 

    REPLACE STEERING LOCK ECU (STEERING LOCK ACTUATOR OR UPPER BRACKET ASSEMBLY). Refer to  DISASSEMBLY [10/2018 - 07/2022] 

  12. CHECK STEERING LOCK ECU (STEERING LOCK ACTUATOR OR UPPER BRACKET ASSEMBLY) 
    1. Replace the steering lock ECU (steering lock actuator or upper bracket assembly) with a new one and perform registration.
      1. for Manual Tilt and Manual Telescopic Steering Column: Refer to DISASSEMBLY [10/2018 - 07/2022]
      2. for Power Tilt and Power Telescopic Steering Column: Refer to DISASSEMBLY [10/2018 - 07/2022]
    2. Read the Data List according to the display on the Techstream.

      Body Electrical > Smart Access > Data List 

      Tester Display Measurement Item Range Normal Condition Diagnostic Note
      L Code Check Verification result between certification ECU (smart key ECU assembly) and steering lock ECU (steering lock actuator or upper bracket assembly) OK or NG OK: Verification result normal
      NG: Verification result abnormal
      When NG is displayed:
      • The ID code for the certification ECU (smart key ECU assembly) or steering lock ECU (steering lock actuator or upper bracket assembly) is not registered, or the certification ECU (smart key ECU assembly) or steering lock ECU (steering lock actuator or upper bracket assembly) is malfunctioning.
      • The steering cannot be locked.
      • The steering cannot be unlocked (the hybrid control system cannot be started).

      Body Electrical > Smart Access > Data List 

      Tester Display
      L Code Check

      OK

      OK is displayed on the Techstream.

      Result

      Proceed to
      OK
      NG

    Result: 

    OK 

    END (STEERING LOCK ECU (STEERING LOCK ACTUATOR OR UPPER BRACKET ASSEMBLY) WAS DEFECTIVE) 

    Result: 

    NG 

    REPLACE ID CODE BOX (IMMOBILISER CODE ECU). Refer to  REMOVAL [10/2018 - 07/2022] 

  13. CHECK CERTIFICATION ECU (SMART KEY ECU ASSEMBLY) 
    1. Replace the certification ECU (smart key ECU assembly) with a new one and perform registration.

      Refer to REGISTRATION [10/2018 - 10/2019] , or refer to REGISTRATION [10/2019 - 07/2022]

    2. Read the Data List according to the display on the Techstream.

      Body Electrical > Smart Access > Data List 

      Tester Display Measurement Item Range Normal Condition Diagnostic Note
      S Code Check Verification result between certification ECU (smart key ECU assembly) and ID code box (immobiliser code ECU) OK or NG OK: Verification result normal
      NG: Verification result abnormal
      When NG is displayed:
      • The ID code for the certification ECU (smart key ECU assembly) or ID code box (immobiliser code ECU) is not registered, or the certification ECU (smart key ECU assembly) or ID code box (immobiliser code ECU) is malfunctioning.
      • The steering cannot be locked.
      • The steering cannot be unlocked (the hybrid control system cannot be started).

      Body Electrical > Smart Access > Data List 

      Tester Display
      S Code Check

      OK

      OK is displayed on the Techstream.

      Result

      Proceed to
      OK
      NG

    Result: 

    OK 

    END (CERTIFICATION ECU (SMART KEY ECU ASSEMBLY) WAS DEFECTIVE) 

    Result: 

    NG 

    REPLACE ID CODE BOX (IMMOBILISER CODE ECU). Refer to  REMOVAL [10/2018 - 07/2022] 

  14. CHECK STEERING LOCK ECU (STEERING LOCK ACTUATOR OR UPPER BRACKET ASSEMBLY) 
    1. Measure the voltage according to the value(s) in the table below.
      GTY782205Courtesy of © TOYOTA, LICENSE AGREEMENT TMS1002
      *a Component with harness connected
      (Steering Lock ECU (Steering Lock Actuator or Upper Bracket Assembly))

      Standard Voltage

      Tester Connection Switch Condition Specified Condition
      F45-4 (SLP1) - Body ground Power switch off 11 to 14 V

      Result

      Proceed to
      OK
      NG

    Result: 

    NG 

    See step  16

    Result: 

    OK 

    See step  15

  15. READ VALUE USING TECHSTREAM (STEERING UNLOCK) 
    1. Turn the power switch off.
    2. Check that the steering is locked.
    3. Connect the Techstream to the DLC3.
    4. Turn the Techstream on.

      HINT: 

      When using the Techstream with the power switch off, connect the Techstream to the vehicle and turn a courtesy light switch on and off at intervals of 1.5 seconds or less until communication between the Techstream and the vehicle begins. Then select the Model Code "KEY REGIST" under manual mode and enter the following menus: Body Electrical / Smart Access. While using the Techstream, periodically turn a courtesy light switch on and off at intervals of 1.5 seconds or less to maintain communication between the Techstream and the vehicle.

    5. Enter the following menus: Body Electrical / Smart Access / Data List.
    6. Read the Data List according to the display on the Techstream.

      Body Electrical > Smart Access > Data List 

      Tester Display Measurement Item Range Normal Condition Diagnostic Note
      Steering Unlock Steering lock ECU (steering lock actuator or upper bracket assembly) unlock confirmation status Unset or Set Unset: Unlock not confirmed
      Set: Unlock confirmed
      When Unset is displayed, the steering is not unlocked (the hybrid control system cannot be started).

      Body Electrical > Smart Access > Data List 

      Tester Display
      Steering Unlock

      OK

      Set is displayed on the Techstream.

      Result

      Result Proceed to
      OK A
      NG (for Manual Tilt and Manual Telescopic Steering Colum) B
      NG (for Power Tilt and Power Telescopic Steering Column) C

    Result: 

    REPLACE CERTIFICATION ECU (SMART KEY ECU ASSEMBLY). Refer to  REMOVAL [10/2018 - 07/2022] 

    Result: 

    REPLACE STEERING LOCK ECU (STEERING LOCK ACTUATOR OR UPPER BRACKET ASSEMBLY). Refer to  DISASSEMBLY [10/2018 - 07/2022] 

    Result: 

    REPLACE STEERING LOCK ECU (STEERING LOCK ACTUATOR OR UPPER BRACKET ASSEMBLY). Refer to  DISASSEMBLY [10/2018 - 07/2022] 

  16. CHECK HARNESS AND CONNECTOR (STEERING LOCK ECU (STEERING LOCK ACTUATOR OR UPPER BRACKET ASSEMBLY) - CERTIFICATION ECU (SMART KEY ECU ASSEMBLY)) 
    1. Disconnect the F45 steering lock ECU (steering lock actuator or upper bracket assembly) connector.
    2. Disconnect the F44 certification ECU (smart key ECU assembly) connector.
    3. Measure the resistance according to the value(s) in the table below.

      Standard Resistance

      Tester Connection Condition Specified Condition
      F45-4 (SLP1) - F44-14 (SLP) Always Below 1 Ω
      F45-4 (SLP1) or F44-14 (SLP) - Other terminals and body ground Always 10 kΩ or higher

      Result

      Proceed to
      OK
      NG

    Result: 

    NG 

    REPAIR OR REPLACE HARNESS OR CONNECTOR 

    Result: 

    OK 

    See step  17

  17. READ VALUE USING TECHSTREAM (UNLOCK REQUEST RECEIVE) 
    1. Replace the steering lock ECU (steering lock actuator or upper bracket assembly) with a new one.
      1. for Manual Tilt and Manual Telescopic Steering Column: Refer to DISASSEMBLY [10/2018 - 07/2022]
      2. for Power Tilt and Power Telescopic Steering Column: Refer to DISASSEMBLY [10/2018 - 07/2022]
    2. Perform registration.

      Refer to REGISTRATION [10/2018 - 10/2019] , or refer to REGISTRATION [10/2019 - 07/2022]

    3. Turn the power switch on (IG).
    4. Use the Data List to check if the steering lock request is functioning properly.

      Body Electrical > Smart Access > Data List 

      Tester Display Measurement Item Range Normal Condition Diagnostic Note
      Unlock Request Receive Status of steering unlock command from certification ECU (smart key ECU assembly) OK or NG OK: Certification ECU (smart key ECU assembly) sends steering unlock command (within 10 seconds of power switch turned on (ACC) or on (IG), or of hybrid control system start operation performed)
      NG: Certification ECU (smart key ECU assembly) does not send steering unlock command (power switch not turned on (ACC) or on (IG), and hybrid control system start operation not performed)
      • The hybrid control system cannot be started when an unlock request signal cannot be received.
      • If OK is not displayed even though the steering unlock conditions are met, the certification ECU (smart key ECU assembly) may be malfunctioning.

      Body Electrical > Smart Access > Data List 

      Tester Display
      Unlock Request Receive

      OK

      Within 10 seconds of turning the power switch on (ACC) or on (IG) or starting the hybrid control system, the Data List item changes to "OK".

      Result

      Proceed to
      OK
      NG

    Result: 

    OK 

    END (STEERING LOCK ECU (STEERING LOCK ACTUATOR OR UPPER BRACKET ASSEMBLY) WAS) 

    Result: 

    NG 

    REPLACE CERTIFICATION ECU (SMART KEY ECU ASSEMBLY). Refer to  REMOVAL [10/2018 - 07/2022]