LEMON Manuals: Even more car manuals for everyone: 1960-2025
Home >> Lexus >> 2019 >> UX 250h Base >> Repair and Diagnosis (Single Page) >> Body & Frame >> Door Locks >> Smart Access System W/ Push-Button Start (Entry Function) (Diagnostic Codes & Symptom Tests) (Hybrid) >> SMART ACCESS SYSTEM WITH PUSH-BUTTON START (for Entry Function, HV Model) >> Driver Side Door Entry Unlock Function does not Operate [10/2018 - ] >> Procedure
April 5, 2026: LEMON Manuals is launched! Read the announcement.

Driver Side Door Entry Unlock Function does not Operate [10/2018 - ]: Procedure

  1. CHECK POWER DOOR LOCK CONTROL SYSTEM 
    1. When the door control switch on the multiplex network master switch assembly is operated, check that the doors unlock and lock according to the switch operation.

      Refer to OPERATION CHECK [10/2018 - 07/2022] , or refer to OPERATION CHECK [07/2022 - ]

      OK

      Door locks operate normally.

      Result

      Proceed to
      OK
      NG

    Result: 

    NG 

    GO TO POWER DOOR LOCK CONTROL SYSTEM. Refer to  HOW TO PROCEED WITH TROUBLESHOOTING [10/2018 - 07/2022]  , or refer to  HOW TO PROCEED WITH TROUBLESHOOTING [07/2022 - ] 

    Result: 

    OK 

    See step  2

  2. READ VALUE USING TECHSTREAM (FL DOOR LOCK POS) 
    1. Connect the Techstream to the DLC3.
    2. Turn the power switch on (IG).
    3. Turn the Techstream on.
    4. Enter the following menus: Body Electrical / Main Body / Data List.
    5. Read the Data List according to the display on the Techstream.

      Body Electrical > Main Body > Data List 

      Tester Display Measurement Item Range Normal Condition Diagnostic Note
      FL Door Lock Pos Front door LH unlock detection switch signal UNLOCK or LOCK UNLOCK: Front door LH unlocked
      LOCK: Front door LH locked
      -

      Body Electrical > Main Body > Data List 

      Tester Display
      FL Door Lock Pos

      OK

      The Techstream display changes correctly in response to the lock/unlock operation of the driver door.

      Result

      Proceed to
      OK
      NG

    Result: 

    NG 

    GO TO LIGHTING SYSTEM (Proceed to Door Unlock Detection Switch Circuit). Refer to  Door Unlock Detection Switch Circuit [10/2018 - 07/2022]  , or refer to  Door Unlock Detection Switch Circuit [07/2022 - ] 

    Result: 

    OK 

    See step  3

  3. READ VALUE USING TECHSTREAM (D-DOOR TOUCH SENSOR) 
    1. Turn the power switch off.
    2. Open and close the driver door.
    3. With the electrical key transmitter sub-assembly outside of the vehicle, press the lock switch of the electrical key transmitter sub-assembly to lock all of the doors.
    4. Hold the electrical key transmitter sub-assembly at the same height as the door outside handle assembly and approximately 0.3 m (0.984 ft.) from the driver door.
    5. Check that the LED of the electrical key transmitter sub-assembly blinks.
    6. Read the Data List according to the display on the Techstream.
    7. Touch the unlock sensor on the backside of the front door outside handle assembly LH.

      HINT: 

      When checking the operation of the unlock sensor again, make sure to perform the procedure from step (a).

      Body Electrical > Smart Access > Data List 

      Tester Display Measurement Item Range Normal Condition Diagnostic Note
      D-Door Touch Sensor Driver door touch sensor (unlock sensor) OFF or ON OFF: Driver door touch sensor (unlock sensor) not touched
      ON: Driver door touch sensor (unlock sensor) touched
      • Displays whether the unlock sensor is on or off (even if the sensor is touched and contact is maintained, "ON" is displayed only momentarily).
      • Use this Data List item to help determine if there is an unlock sensor malfunction when the entry unlock function does not operate.

      Body Electrical > Smart Access > Data List 

      Tester Display
      D-Door Touch Sensor

      OK

      The Techstream display changes correctly in response to the operation of the front door outside handle assembly LH.

      GTY779459Courtesy of © TOYOTA, LICENSE AGREEMENT TMS1002
      *a Unlock Sensor (Backside)

      Result

      Proceed to
      OK
      NG

    Result: 

    OK 

    REPLACE CERTIFICATION ECU (SMART KEY ECU ASSEMBLY). Refer to  REMOVAL [10/2018 - 07/2022]  , or refer to  REMOVAL [07/2022 - ] 

    Result: 

    NG 

    See step  4

  4. CHECK HARNESS AND CONNECTOR (CERTIFICATION ECU (SMART KEY ECU ASSEMBLY) - FRONT DOOR OUTSIDE HANDLE ASSEMBLY LH) 
    1. Disconnect the N61 certification ECU (smart key ECU assembly) connector.
    2. Disconnect the K3 front door outside handle assembly LH connector.
    3. Measure the resistance according to the value(s) in the table below.

      Standard Resistance

      Tester Connection Condition Specified Condition
      N61-17 (CLG1) - K3-4 (ANT1) Always Below 1 Ω
      N61-16 (CG1B) - K3-5 (ANT2) Always Below 1 Ω
      N61-17 (CLG1) or K3-4 (ANT1) - Other terminals and body ground Always 10 kΩ or higher
      N61-16 (CG1B) or K3-5 (ANT2) - Other terminals and body ground Always 10 kΩ or higher
    4. Reconnect the K3 front door outside handle assembly LH connector.
    5. Reconnect the N61 certification ECU (smart key ECU assembly) connector.

      Result

      Proceed to
      OK
      NG

    Result: 

    NG 

    REPAIR OR REPLACE HARNESS OR CONNECTOR 

    Result: 

    OK 

    See step  5

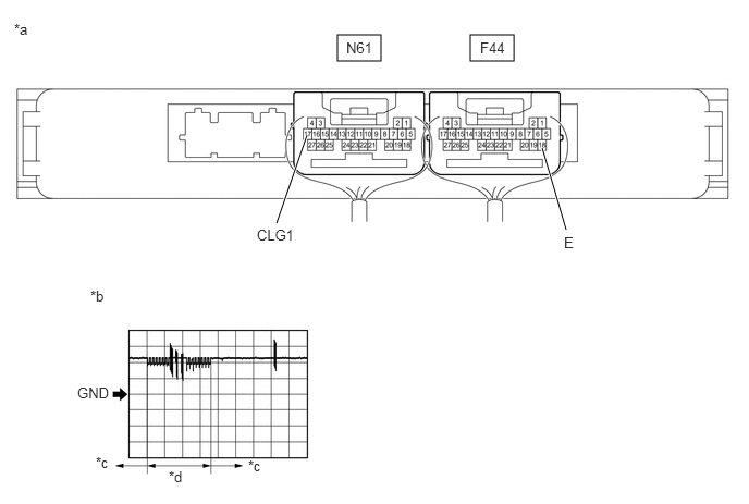
  5. CHECK FRONT DOOR OUTSIDE HANDLE ASSEMBLY LH (INPUT TO CERTIFICATION ECU (SMART KEY ECU ASSEMBLY)) 
    GTY793398Courtesy of © TOYOTA, LICENSE AGREEMENT TMS1002
    *a Component with harness connected
    (Certification ECU (Smart Key ECU Assembly))
    *b Waveform 1
    *c Unlock sensor not touched *d Unlock sensor touched
    1. Using an oscilloscope, check the waveform.

      OK

      Tester Connection Condition Tool Setting Specified Condition
      N61-17 (CLG1) - F44-18 (E) Procedure:
      1. Power switch off
      2. Electrical key transmitter sub-assembly brought outside vehicle
      3. All doors locked
      4. Electrical key transmitter sub-assembly not near the vehicle
      5. Driver door unlock sensor touched
      5 V/DIV., 50 ms./DIV. Pulse generation
      (See waveform 1)

      Result

      Proceed to
      OK
      NG

    Result: 

    OK 

    REPLACE CERTIFICATION ECU (SMART KEY ECU ASSEMBLY). Refer to  REMOVAL [10/2018 - 07/2022]  , or refer to  REMOVAL [07/2022 - ] 

    Result: 

    NG 

    REPLACE FRONT DOOR OUTSIDE HANDLE ASSEMBLY LH. Refer to  DISASSEMBLY [10/2018 - 07/2022]  , or refer to  DISASSEMBLY [07/2022 - ]