LEMON Manuals: Even more car manuals for everyone: 1960-2025
Home >> Lexus >> 2019 >> UX 250h Luxury >> Repair and Diagnosis >> External Pages >> Different car >> Section 5 (Smart Access System W/ Push-Button Start (Start Function) (Diagnostics - Introduction) (Except Hybrid)) >> SMART ACCESS SYSTEM WITH PUSH-BUTTON START (for Start Function, Gasoline Model) >> System Diagram [08/2021 - 07/2022] >> System Diagram [08/2021 - 07/2022]
April 5, 2026: LEMON Manuals is launched! Read the announcement.

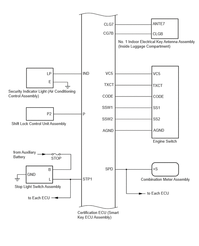
System Diagram [08/2021 - 07/2022]

WARNING: This page is about a different car, the 2022 Lexus UX 200, 2021 Lexus UX 200, 2020 Lexus UX 200, and 2019 Lexus UX 200. However, it is still accessible from the selected car via links, so may be relevant.
  1. SMART ACCESS SYSTEM WITH PUSH-BUTTON START (for Start Function, Gasoline Model) 
    GTY1087532Courtesy of © TOYOTA, LICENSE AGREEMENT TMS1002
    GTY1087723Courtesy of © TOYOTA, LICENSE AGREEMENT TMS1002
    GTY805961Courtesy of © TOYOTA, LICENSE AGREEMENT TMS1002
    GTY834674Courtesy of © TOYOTA, LICENSE AGREEMENT TMS1002
  2. SMART ACCESS SYSTEM WITH PUSH-BUTTON START (for Entry Function, Gasoline Model) 

    Refer to SYSTEM DIAGRAM [08/2021 - 07/2022]