LEMON Manuals: Even more car manuals for everyone: 1960-2025
Home >> Lexus >> 2020 >> UX 200 Base >> Repair and Diagnosis >> External Pages >> Different car >> Section 45 (Motor Generator Control System (Diagnostics - Introduction)) >> Motor Generator Control System >> Diagnosis System [10/2018 - ] >> Diagnosis System [10/2018 - ]
April 5, 2026: LEMON Manuals is launched! Read the announcement.

Diagnosis System [10/2018 - ]

WARNING: This page does not describe the selected car, but rather 6 other vehicles, including the 2024 Lexus UX 250h, 2023 Lexus UX 250h, 2022 Lexus UX 250h, 2021 Lexus UX 250h, and 2020 Lexus UX 250h. However, it is still accessible from the selected car via links, so may be relevant.
  1. DESCRIPTION 
    1. The motor generator control ECU (MG ECU) (inverter with converter assembly) has a self-diagnosis system. If the motor generator control ECU (MG ECU), motor generator system or a component is not working properly, the ECU records the conditions that relate to the fault. The ECU also provides other appropriate messages on the multi-information display, such as the HV system warning message, HV battery warning message or discharge warning message.
      • When troubleshooting OBD II (On-Board Diagnostics) vehicles, the Techstream (complying with SAE J1978) must be connected to the DLC3 (Data Link Connector 3) of the vehicle. Various data in the vehicle motor generator control ECU can then be read.
      • OBD II regulations require that the vehicle's on-board computer illuminates the MIL (Malfunction Indicator Lamp) on the instrument panel when the computer detects a malfunction in:
        GTY378248Courtesy of © TOYOTA, LICENSE AGREEMENT TMS1002
        1. The emission control system components.
        2. The powertrain control components (which affect vehicle emissions).
        3. The computer itself.

          In addition, the applicable DTCs prescribed by SAE J2012 are recorded in the motor generator control ECU memory. If the malfunction does not recur in 3 consecutive trips, the MIL turns off automatically but the DTCs remain recorded in the motor generator control ECU memory.

      • To check for DTCs, connect the Techstream to the DLC3. The Techstream displays DTCs, freeze frame data, and a variety of hybrid control system data. The DTCs and freeze frame data can be cleared with the Techstream. In order to enhance the OBD function on vehicles and develop the off-board diagnosis system, Controller Area Network (CAN) communication is used in this system. CAN is a network which uses a pair of data transmission lines spanning multiple computers and sensors. It allows for high speed communications between the systems and simplification of the wire harness connections.
  2. 2 TRIP DETECTION LOGIC 

    Following is the description for storage of DTC using "2 trip detection logic". 

    1. When a malfunction is first detected, the malfunction is temporarily stored in the motor generator control ECU memory (1st trip). If the same malfunction is detected during the next drive cycle, the MIL is illuminated (2nd trip).
  3. FREEZE FRAME DATA 
    1. The motor generator control ECU records vehicle and driving condition information as freeze frame data the moment a DTC is stored. When troubleshooting, freeze frame data can be helpful in determining whether the vehicle was moving or stationary, whether the engine was warmed up or not, as well as other data recorded at the time of a malfunction.
  4. AUXILIARY BATTERY VOLTAGE 

    Standard Voltage

    Switch Condition Specified Condition
    Power switch on (IG) 11 to 14 V
    1. If voltage is below 11 V, recharge or replace the auxiliary battery.
      NOTE:

      After turning the power switch off, waiting time may be required before disconnecting the cable from the negative (-) auxiliary battery terminal. Therefore, make sure to read the disconnecting the cable from the negative (-) auxiliary battery terminal notices before proceeding with work.

      Refer to PRECAUTION [10/2018 - 07/2022] Refer to PRECAUTION [07/2022 - ]

  5. MIL (Malfunction Indicator Lamp) 
    1. The MIL is illuminated when the power switch is first turned on (IG), before the READY indicator illuminates.
    2. When the READY indicator illuminates, the MIL should turn off. If the MIL remains illuminated, the diagnosis system has detected a malfunction or abnormality in a system.

      HINT: 

      If the MIL is not illuminated when the power switch is first turned on (IG), check the MIL circuit.

      for SFI System: Refer to MIL Circuit [10/2018 - ]

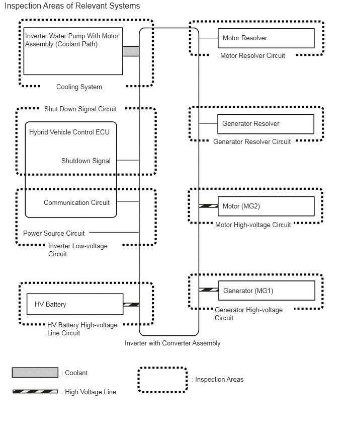
  6. RELEVANT SYSTEMS CHECK 

    The inspection areas and outline of the inspection for each circuit are listed below.

    GTY823325Courtesy of © TOYOTA, LICENSE AGREEMENT TMS1002
    GTY822561Courtesy of © TOYOTA, LICENSE AGREEMENT TMS1002
    INSPECTION DETAILS OF RELEVANT SYSTEMS

    System to be Inspected Malfunction Possibility Inspection Content
    Motor Resolver Circuit Motor resolver signal
    1. Open or short circuit in the motor resolver, connectors or cables
    Motor High-voltage Circuit Motor (MG2) output
    1. Open or short circuit in the motor (MG2), connectors or cables
    Generator Resolver Circuit Generator resolver signal
    1. Open or short circuit in the generator resolver, connectors or cables
    Generator High-voltage Circuit Generator (MG1) output
    1. Open or short circuit in the generator (MG1), connectors or cables
    Rear Motor Resolver Circuit Rear motor resolver signal
    1. Open or short circuit in the rear motor resolver, connectors or cables
    Rear Motor High-voltage Circuit Rear motor (MGR) output
    1. Open or short circuit in the rear motor (MGR), connectors or cables
    Inverter Low-voltage Circuit Power supply voltage from +B or communication between hybrid vehicle control ECU and motor generator control ECU
    • Open or short circuit in communication line between hybrid vehicle control ECU and motor generator control ECU
    • Open or short circuit in the +B or ground lines
    • Fuse is blown
    Rear Inverter Low-voltage Circuit Power supply voltage from +B or communication between motor generator control ECU and rear motor generator control ECU
    • Open or short circuit in communication line between motor generator control ECU and rear motor generator control ECU
    • Open or short circuit in the +B or ground lines
    • Fuse is blown
    HV Battery High-voltage Line Circuit High voltage power supply from HV battery
    1. Open or short circuit in the system main relay, connectors or cables
    Cooling System Temperature abnormally high
    • Grille blockage
    • Whether coolant is present
    • Whether there is a possibility that coolant was frozen when malfunction occurs
    • Cooling hose blockage
    • HV radiator fan operation
    Shutdown Signal Circuit Shutdown signal
    1. Open or short circuit in shutdown signal communication line between hybrid vehicle control ECU and motor generator ECU
    Rear Shut Down Signal Circuit Rear Shutdown Signal
    1. Open or short circuit in shutdown signal communication line between motor generator control ECU and rear motor generator control ECU
  7. DTC PRIORITY LEVEL AND TROUBLE AREAS 
    • Each DTC diagnostic procedure for the hybrid control system consists of a combination of the various relevant system (circuit) inspections.
    • When multiple DTCs are output, performing each diagnostic procedure in order of priority can lead to a more accurate diagnosis.
    GTY750055Courtesy of © TOYOTA, LICENSE AGREEMENT TMS1002
    INSPECTION DETAILS OF RELEVANT SYSTEMS

    DTC No. Detection Item Order of Priority Inspection Pattern
    1 2 3 4 5
    Microcomputer Malfunction Power Source Circuit Malfunction Communication System Malfunction Sensor and Actuator Circuit Malfunction System Malfunction
    P033500 Crankshaft Position Sensor "A" - - - - -
    P033531 Crankshaft Position Sensor "A" No Signal - - - - -
    P034000 Camshaft Position Sensor "A" Circuit Bank 1 or Single Sensor - - - - -
    P034031 Camshaft Position Sensor "A" Circuit Bank 1 or Single Sensor No Signal - - - - -
    P062F44 Internal Control Module EEPROM Data Memory Failure - - - - -
    P062F46 Generator Control Module (EEPROM Learning Value) Calibration / Parameter Memory Failure - - - - -
    P06B01C Generator Control Module Position Sensor REF Power Source Circuit Voltage Out of Range - - - - -
    P06D61C Generator Control Module Offset Power Circuit Voltage Out of Range - - - - -
    P0A0011 Motor Electronics Coolant Temperature Sensor Circuit Short to Ground - - - - -
    P0A0015 Motor Electronics Coolant Temperature Sensor Circuit Short to Battery or Open - - - - -
    P0A001C Motor Electronics Coolant Temperature Sensor Circuit Voltage Out of Range - - - - B
    P0A0812 DC/DC Converter Status Circuit Short to Battery - - - - A
    P0A0814 DC/DC Converter Status Circuit Short to Ground or Open - - - - A
    P0A1112 DC/DC Converter Enable Circuit Short to Battery - - - - A
    P0A1114 DC/DC Converter Enable Circuit Short to Ground or Open - - - - A
    P0A1A47 Generator Control Module Watchdog / Safety μC Failure - - - - -
    P0A1A49 Generator Control Module Internal Electronic Failure - - - - -
    P0A1B1F Generator Control Module Circuit Intermittent - - - - -
    P0A1C49 Drive Motor "B" Control Module Internal Electronic Failure" - - - - -
    P0A3F16 Drive Motor "A" Position Sensor Circuit Voltage Below Threshold - - - - G
    P0A3F1F Drive Motor "A" Position Sensor Circuit Intermittent - - - - G
    P0A3F21 Drive Motor "A" Position Sensor Signal Amplitude < Minimum - - - - G
    P0A3F22 Drive Motor "A" Position Sensor Signal Amplitude > Maximum - - - - G
    P0A4B16 Generator Position Sensor Circuit Voltage Below Threshold - - - - H
    P0A4B1F Generator Position Sensor Circuit Intermittent - - - - H
    P0A4B21 Generator Position Sensor Signal Amplitude < Minimum - - - - H
    P0A4B22 Generator Position Sensor Signal Amplitude > Maximum - - - - H
    P0A6012 Drive Motor "A" Phase V Current (High Resolution) Circuit Short to Battery - - - - A
    P0A6014 Drive Motor "A" Phase V Current (High Resolution) Circuit Short to Ground or Open - - - - A
    P0A601C Drive Motor "A" Phase V Current (High Resolution) Circuit Voltage Out of Range - - - - A
    P0A601F Drive Motor "A" Phase V Current (High Resolution) Circuit Intermittent - - - - A
    P0A6312 Drive Motor "A" Phase W Current (High Resolution) Circuit Short to Battery - - - - A
    P0A6314 Drive Motor "A" Phase W Current (High Resolution) Circuit Short to Ground or Open - - - - A
    P0A631C Drive Motor "A" Phase W Current (High Resolution) Circuit Voltage Out of Range - - - - A
    P0A631F Drive Motor "A" Phase W Current (High Resolution) Circuit Intermittent - - - - A
    P0A7872 Drive Motor "A" Inverter Actuator Stuck Open - - - - A
    P0A7873 Drive Motor "A" Inverter Actuator Stuck Closed - - - - -
    P0A789E Drive Motor "A" Inverter Stuck On - - - - E
    P0A7A72 Generator Inverter Actuator Stuck Open - - - - A
    P0A7A73 Generator Inverter Actuator Stuck Closed - - - - -
    P0A7A9E Generator Inverter Stuck On - - - - E
    P0A9000 Drive Motor "A" Performance - - - - I
    P0A9200 Hybrid Generator Performance - - - - J
    P0A949E DC/DC Converter Stuck On - - - - E
    P0AED11 Drive Motor Inverter Temperature Sensor "A" Circuit Short to Ground - - - - -
    P0AED15 Drive Motor Inverter Temperature Sensor "A" Circuit Short to Battery or Open - - - - -
    P0AED1C Drive Motor Inverter Temperature Sensor "A" Circuit Voltage Out of Range - - - - B
    P0BE512 Drive Motor "A" Phase U Current Sensor Circuit Short to Battery - - - - A
    P0BE514 Drive Motor "A" Phase U Current Sensor Circuit Short to Ground or Open - - - - A
    P0BE51F Drive Motor "A" Phase U Current Sensor Circuit Intermittent - - - - A
    P0BE528 Drive Motor "A" Phase U Current Sensor Signal Bias Level Out of Range / Zero Adjustment Failure - - - - A
    P0BE912 Drive Motor "A" Phase V Current Sensor Circuit Short to Battery - - - - A
    P0BE914 Drive Motor "A" Phase V Current Sensor Circuit Short to Ground or Open - - - - A
    P0BE91F Drive Motor "A" Phase V Current Sensor Circuit Intermittent - - - - A
    P0BE928 Drive Motor "A" Phase V Current Sensor Signal Bias Level Out of Range / Zero Adjustment Failure - - - - A
    P0BED12 Drive Motor "A" Phase W Current Sensor Circuit Short to Battery - - - - A
    P0BED14 Drive Motor "A" Phase W Current Sensor Circuit Short to Ground or Open - - - - A
    P0BED1F Drive Motor "A" Phase W Current Sensor Circuit Intermittent - - - - A
    P0BED28 Drive Motor "A" Phase W Current Sensor Signal Bias Level Out of Range / Zero Adjustment Failure - - - - A
    P0BFD62 Drive Motor "A" Phase U-V-W Current Sensor Signal Compare Failure - - - - K
    P0BFF1D Drive Motor "A" Circuit Current Out of Range - - - - M
    P0C1900 Drive Motor "A" Execution Torque Performance - - - - M
    P0C3811 DC/DC Converter Temperature Sensor "A" Circuit Short to Ground - - - - -
    P0C3815 DC/DC Converter Temperature Sensor "A" Circuit Short to Battery or Open - - - - -
    P0C381C DC/DC Converter Temperature Sensor "A" Circuit Voltage Out of Range - - - - B
    P0C3D11 DC/DC Converter Temperature Sensor "B" Circuit Short to Ground - - - - -
    P0C3D15 DC/DC Converter Temperature Sensor "B" Circuit Short to Battery or Open - - - - -
    P0C3D1C DC/DC Converter Temperature Sensor "B" Circuit Voltage Out of Range - - - - B
    P0C5013 Drive Motor "A" Position Sensor Circuit "A" Circuit Open - - - - G
    P0C5016 Drive Motor "A" Position Sensor Circuit "A" Circuit Voltage Below Threshold - - - - A
    P0C5017 Drive Motor "A" Position Sensor Circuit "A" Circuit Voltage Above Threshold - - - - A
    P0C501F Drive Motor "A" Position Sensor Circuit "A" Circuit Intermittent - - - - G
    P0C5A13 Drive Motor "A" Position Sensor Circuit "B" Circuit Open - - - - G
    P0C5A16 Drive Motor "A" Position Sensor Circuit "B" Circuit Voltage Below Threshold - - - - A
    P0C5A17 Drive Motor "A" Position Sensor Circuit "B" Circuit Voltage Above Threshold - - - - A
    P0C5A1F Drive Motor "A" Position Sensor Circuit "B" Circuit Intermittent - - - - G
    P0C6413 Generator Position Sensor Circuit "A" Circuit Open - - - - H
    P0C6416 Generator Position Sensor Circuit "A" Circuit Voltage Below Threshold - - - - A
    P0C6417 Generator Position Sensor Circuit "A" Circuit Voltage Above Threshold - - - - A
    P0C641F Generator Position Sensor Circuit "A" Circuit Intermittent - - - - H
    P0C6913 Generator Position Sensor Circuit "B" Circuit Open - - - - H
    P0C6916 Generator Position Sensor Circuit "B" Circuit Voltage Below Threshold - - - - A
    P0C6917 Generator Position Sensor Circuit "B" Circuit Voltage Above Threshold - - - - A
    P0C691F Generator Position Sensor Circuit "B" Circuit Intermittent - - - - H
    P0C7917 Drive Motor "A" Inverter Voltage Sensor (VH) Circuit Voltage Above Threshold - - - - F
    P0CA300 DC/DC Converter Step Up Voltage Performance - - - - A
    P0D2D16 Drive Motor "A" Inverter Voltage Sensor (VH) Circuit Voltage Below Threshold - - - - -
    P0D2D17 Drive Motor "A" Inverter Voltage Sensor (VH) Circuit Voltage Above Threshold - - - - -
    P0D2D1F Drive Motor "A" Inverter Voltage Sensor (VH) Circuit Intermittent - - - - -
    P0D3319 DC/DC Converter Circuit Current Above Threshold - - - - E
    P0DFA62 Generator Phase U-V-W Current Sensor Signal Compare Failure - - - - J
    P0E0012 Generator Phase U Current Sensor Circuit Short to Battery - - - - A
    P0E0014 Generator Phase U Current Sensor Circuit Short to Ground or Open - - - - A
    P0E001F Generator Phase U Current Sensor Circuit Intermittent - - - - A
    P0E0028 Generator Phase U Current Sensor Signal Bias Level Out of Range / Zero Adjustment Failure - - - - A
    P0E0412 Generator Phase V Current Sensor Circuit Short to Battery - - - - A
    P0E0414 Generator Phase V Current Sensor Circuit Short to Ground or Open - - - - A
    P0E041F Generator Phase V Current Sensor Circuit Intermittent - - - - A
    P0E0428 Generator Phase V Current Sensor Signal Bias Level Out of Range / Zero Adjustment Failure - - - - A
    P0E0812 Generator Phase W Current Sensor Circuit Short to Battery - - - - A
    P0E0814 Generator Phase W Current Sensor Circuit Short to Ground or Open - - - - A
    P0E081F Generator Phase W Current Sensor Circuit Intermittent - - - - A
    P0E0828 Generator Phase W Current Sensor Signal Bias Level Out of Range / Zero Adjustment Failure - - - - A
    P0E3116 DC/DC Converter Voltage Sensor "A" (VL) Circuit Voltage Below Threshold - - - - -
    P0E3117 DC/DC Converter Voltage Sensor "A" (VL) Circuit Voltage Above Threshold - - - - -
    P0E311F DC/DC Converter Voltage Sensor "A" (VL) Circuit Intermittent - - - - -
    P0E5111 DC/DC Converter Current Sensor Circuit Short to Ground - - - - -
    P0E5115 DC/DC Converter Current Sensor Circuit Short to Battery or Open - - - - -
    P0E511F DC/DC Converter Current Sensor Circuit Intermittent - - - - -
    P0E5128 DC/DC Converter Current Sensor Signal Bias Level Out of Range / Zero Adjustment Failure - - - - A
    P0E512A DC/DC Converter Current Sensor Signal Stuck In Range - - - - L
    P0E5717 DC/DC Converter Voltage Sensor "A" (VL) Circuit Voltage Above Threshold - - - - F
    P0E5811 DC/DC Converter Temperature Sensor 2 Circuit Short to Ground - - - - -
    P0E5815 DC/DC Converter Temperature Sensor 2 Circuit Short to Battery or Open - - - - -
    P0E581C DC/DC Converter Temperature Sensor 2 Circuit Voltage Out of Range - - - - B
    P0E7100 Generator Execution Torque Performance - - - - M
    P1C2A1C Generator A/D Converter Circuit Circuit Voltage Out of Range - - - - -
    P1C2A49 Generator A/D Converter Circuit Internal Electronic Failure - - - - -
    P1C2B1C Drive Motor "A" Control Module A/D Converter Circuit Voltage Out of Range - - - - -
    P1C2B49 Drive Motor "A" Control Module A/D Converter Circuit Internal Electronic Failure - - - - -
    P1C2E46 Motor Generator ECU (EEPROM) Calibration / Parameter Memory Failure - - - - -
    P1C5D19 Drive Motor "A" Inverter Circuit Current Above Threshold - - - - E
    P1C5F19 Generator Inverter Circuit Current Above Threshold - - - - E
    P1C601F Generator Control Module Position Sensor REF Power Source Circuit Intermittent - - - - -
    P1C621F Generator Control Module Offset Power Circuit Intermittent - - - - -
    P1C641F Generator Control Module Circuit Intermittent - - - - C
    P1C651F Generator Control Module Circuit Intermittent - - - - C
    P1C671F Drive Motor "A" Phase U-V-W Current Sensor Circuit Intermittent - - - - K
    P1C691F Generator Phase U-V-W Current Sensor Circuit Intermittent - - - - J
    P1CA51D Hybrid Generator Circuit Current Out of Range - - - - M
    P1CAC49 Generator Position Sensor Internal Electronic Failure - - - - C
    P1CAD49 Drive Motor "A" Position Sensor Internal Electronic Failure - - - - C
    P1CAF38 Generator Position Sensor REF Signal Cycle Malfunction Signal Frequency Incorrect - - - - C
    P1CB038 Drive Motor "A" Position Sensor REF Signal Frequency Incorrect - - - - C
    P1CB59E DC/DC Converter Voltage Sensor "A" (VL) Stuck On - - - - A
    P1CB69E Drive Motor "A" Inverter Voltage Sensor (VH) Stuck On - - - - A
    P1CCC96 DC/DC Converter Enable Component Internal Failure - - - - -
    P1CFF62 Hybrid/EV Battery Current/DC/DC Converter Current Signal Compare Failure - - - - A
    P31241F Lost Communication between Drive Motor "A" and HV ECU Circuit Intermittent - - - - -
    P312487 Lost Communication between Drive Motor "A" and HV ECU Missing Message - - - - -
    P313383 Communication Error from Generator to Drive Motor "A" Value of Signal Protection Calculation Incorrect - - - - -
    P313386 Communication Error from Generator to Drive Motor "A" Signal Invalid - - - - -
    P313387 Communication Error from Generator to Drive Motor "A" Missing Message - - - - -
    P313483 Communication Error from Drive Motor "A" to Generator Value of Signal Protection Calculation Incorrect - - - - -
    P313486 Communication Error from Drive Motor "A" to Generator Signal Invalid - - - - -
    P313487 Communication Error from Drive Motor "A" to Generator Missing Message - - - - -
    P314F1F DC/DC Converter Voltage Sensor "A" (VL) Circuit Intermittent - - - - F
    P31481F Lost Communication between Drive Motor A" and "B" Circuit Intermittent" - - - - -
    P314887 Lost Communication between Drive Motor A" and "B" Missing Message" - - - - -
    P31531D DC/DC Converter Current Sensor Circuit Current Out of Range - - - - F
    U010087 Lost Communication With ECM/PCM "A" Missing Message - - - - -
    U029387 Lost Communication With Hybrid Powertrain Control Module Missing Message - - - - -
    U117087 Lost Communication With Brake System Control Module(ch2) Missing Message - - - - -

    HINT: 

    The "Example of Multiple DTCs being Output" below is only one example of a malfunction condition. Therefore, a determination should not be made based on this alone.

    Example of Multiple DTCs being Output: 

    1. The power supply of the microcomputer decreases while the vehicle is being driven.
      1. DTCs are detected and the vehicle behavior is as follows.

      Detected DTCs 

      • P06B01C (Generator Control Module Position Sensor REF Power Source Circuit Voltage Out of Range): Power source malfunction*
      • P0C5016 (Drive Motor "A" Position Sensor Circuit "A" Circuit Voltage Below Threshold): Sensor and actuator circuit malfunction*
      • P0A3F16 (Drive Motor "A" Position Sensor Circuit Voltage Below Threshold): Sensor and actuator circuit malfunction*
      • P1CAD49 (Drive Motor "A" Position Sensor Internal Electronic Failure): Sensor and actuator circuit malfunction*
      • P1CAC49 (Generator Position Sensor Internal Electronic Failure): Sensor and actuator circuit malfunction*
        1. *: Check the priority level in the "DTC Order of Priority" chart above.

      Vehicle Behavior 

      1. System stopped
    2. The inspection order of priority is: Microcomputer circuit → power source circuit → communication circuit → sensor and actuator circuit → system circuit. Therefore, check the repair procedure for P0B601C.
    3. Follow the repair procedures and replace the inverter assembly. Finish the repair.

    It is possible to check only the specified malfunctioning parts without having to check irrelevant parts.