LEMON Manuals: Even more car manuals for everyone: 1960-2025
Home >> Lexus >> 2021 >> ES 250 Base >> Repair and Diagnosis >> Engine Performance >> System >> Engine Control System (A25A-FKS) - Diagnostic Codes (11 Of 12) >> SFI System >> DTC P2610-29: ECM/PCM Engine Off Timer Performance Signal Invalid; DTC P2610-93: ECM/PCM Engine Off Timer Performance No Operation [08/2021 - ] >> Description
April 5, 2026: LEMON Manuals is launched! Read the announcement.

DTC P2610-29: ECM/PCM Engine Off Timer Performance Signal Invalid; DTC P2610-93: ECM/PCM Engine Off Timer Performance No Operation [08/2021 - ]: Description

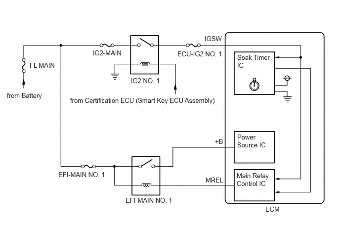
The soak timer operates after the engine switch is turned off. When a certain amount of time has elapsed after turning the engine switch off, the soak timer activates the ECM to perform malfunction checks which can only be performed after the engine is stopped. The soak timer is built into the ECM.

GTY946847Courtesy of © TOYOTA, LICENSE AGREEMENT TMS1002