LEMON Manuals: Even more car manuals for everyone: 1960-2025
Home >> Lexus >> 2021 >> LS 500 Base, RWD >> Repair and Diagnosis >> External Pages >> Different variant/trim >> Section 15 (Transfer Case System - Service Information) >> Transfer Assembly >> Disassembly [12/2017 - ] >> Procedure
April 5, 2026: LEMON Manuals is launched! Read the announcement.

Disassembly [12/2017 - ]: Procedure

WARNING: This page is about a different variant/trim than selected.
  1. REMOVE TRANSFER CASE PLUG 
    1. GTY821336Courtesy of © TOYOTA, LICENSE AGREEMENT TMS1002
      *a for Front Transfer Case Upper Side
      *b for Front Transfer Case Lower Side

      Using a 6 mm hexagon socket wrench, remove the 2 transfer case plugs and 2 O-rings from the front transfer case.

  2. REMOVE TRANSFER FILLER PLUG 
    1. GTY257316Courtesy of © TOYOTA, LICENSE AGREEMENT TMS1002

      Using a 10 mm hexagon socket wrench, remove the transfer filler plug and transfer filler plug gasket from the rear transfer case.

  3. REMOVE TRANSFER DRAIN PLUG 
    1. GTY257315Courtesy of © TOYOTA, LICENSE AGREEMENT TMS1002

      Using a 10 mm hexagon socket wrench, remove the transfer drain plug and transfer drain plug gasket from the rear transfer case.

  4. REMOVE TRANSFER CASE BREATHER PLUG 
    1. GTY136389Courtesy of © TOYOTA, LICENSE AGREEMENT TMS1002

      Remove the transfer case breather plug from the rear transfer case.

  5. REMOVE NO. 2 TRANSFER CASE PLUG 
    1. GTY262817Courtesy of © TOYOTA, LICENSE AGREEMENT TMS1002

      Using a 17 mm straight hexagon wrench, remove the No. 2 transfer case plug and transfer case plug gasket from the rear transfer case.

  6. REMOVE OUTPUT SHAFT COMPANION FLANGE SUB-ASSEMBLY 

    See step  5

  7. REMOVE TRANSFER OUTPUT SHAFT COMPANION FLANGE OIL SEAL 

    See step  6

  8. REMOVE DRIVE PINION COMPANION FLANGE SUB-ASSEMBLY 

    See step  4

  9. REMOVE TRANSFER EXTENSION HOUSING OIL SEAL 

    See step  5

  10. REMOVE TRANSFER EXTENSION HOUSING 
    1. GTY785331Courtesy of © TOYOTA, LICENSE AGREEMENT TMS1002

      Remove the 11 bolts.

    2. GTY127860Courtesy of © TOYOTA, LICENSE AGREEMENT TMS1002

      Using an oil pan seal cutter, remove the transfer extension housing sub-assembly.

      NOTE:

      Be careful not to damage the contact surface of the transfer extension housing sub-assembly or rear transfer case.

  11. REMOVE NO. 1 TRANSFER THRUST BEARING RACE 
    1. GTY780700Courtesy of © TOYOTA, LICENSE AGREEMENT TMS1002
      *1 Protective Tape

      Using a screwdriver with its tip wrapped with protective tape, remove the No. 1 transfer thrust bearing race from the transfer extension housing.

      NOTE:

      Be careful not to damage the extension housing sub-assembly.

  12. REMOVE TRANSFER OUTPUT SHAFT WASHER 
    1. GTY262830Courtesy of © TOYOTA, LICENSE AGREEMENT TMS1002

      Remove the 2 transfer output shaft washer from the No. 1 differential case sub-assembly.

  13. REMOVE DIFFERENTIAL CASE NEEDLE ROLLER BEARING 
    1. GTY262831Courtesy of © TOYOTA, LICENSE AGREEMENT TMS1002

      Remove the differential case needle roller bearing from the No. 1 differential case sub-assembly.

  14. REMOVE NO. 2 TRANSFER THRUST BEARING RACE 
    1. GTY262832Courtesy of © TOYOTA, LICENSE AGREEMENT TMS1002

      Remove the No. 2 transfer thrust bearing race from the No. 1 differential case sub-assembly.

  15. REMOVE TRANSFER OUTPUT SHAFT SHIM 
    1. GTY257946Courtesy of © TOYOTA, LICENSE AGREEMENT TMS1002

      Remove the transfer output shaft shim from the No. 1 differential case sub-assembly.

  16. REMOVE NO. 1 DIFFERENTIAL CASE SUB-ASSEMBLY 
    1. Remove the No. 1 differential case sub-assembly from the rear transfer case.
  17. REMOVE NO. 1 DIFFERENTIAL CASE SUB-ASSEMBLY HOLE SNAP RING 
    1. GTY141675Courtesy of © TOYOTA, LICENSE AGREEMENT TMS1002

      Using needle nose pliers, remove the No. 1 differential case sub-assembly hole snap ring from the transfer extension housing sub-assembly.

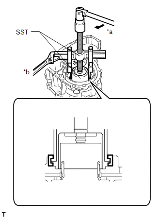
  18. REMOVE TRANSFER OUTPUT SHAFT CYLINDRICAL ROLLER BEARING 
    1. GTY788731Courtesy of © TOYOTA, LICENSE AGREEMENT TMS1002

      Using SST and a press, remove the transfer output shaft cylindrical roller bearing from the transfer extension housing sub-assembly.

      • SST: 09950-60011 
        1. 09951-00460
      • SST: 09950-70010 
        1. 09951-07100
      NOTE:

      Be careful not to damage the transfer extension housing sub-assembly.

  19. REMOVE BREATHER OIL DEFLECTOR 
    1. GTY283534Courtesy of © TOYOTA, LICENSE AGREEMENT TMS1002

      Remove the 2 bolts and the breather oil deflector from the rear transfer case.

  20. REMOVE TRANSFER INPUT GEAR STOPPER SHAFT SNAP RING 
    1. GTY262833Courtesy of © TOYOTA, LICENSE AGREEMENT TMS1002

      Using a snap ring expander, remove the transfer input gear stopper snap ring from the transfer input shaft.

  21. REMOVE TRANSFER INPUT GEAR STOPPER 
    1. GTY262834Courtesy of © TOYOTA, LICENSE AGREEMENT TMS1002

      Remove the transfer input gear stopper from the transfer input shaft.

  22. REMOVE REAR TRANSFER CASE 
    1. GTY262755Courtesy of © TOYOTA, LICENSE AGREEMENT TMS1002

      Remove the 7 bolts and the rear transfer case cover from the front transfer case.

  23. REMOVE TRANSFER IDLER GEAR ASSEMBLY 
    1. GTY262757Courtesy of © TOYOTA, LICENSE AGREEMENT TMS1002

      Remove the transfer idler gear assembly from the front transfer case.

  24. REMOVE TRANSFER OIL PUMP DRIVE SHAFT 
    1. GTY283515Courtesy of © TOYOTA, LICENSE AGREEMENT TMS1002

      Remove the transfer oil pump drive shaft from the front transfer case.

  25. REMOVE TRANSFER COUNTER GEAR ASSEMBLY 
    1. GTY283443Courtesy of © TOYOTA, LICENSE AGREEMENT TMS1002

      Remove the transfer counter gear assembly from the front transfer case.

  26. REMOVE TRANSFER FRONT DRIVE GEAR ASSEMBLY 
    1. GTY262444Courtesy of © TOYOTA, LICENSE AGREEMENT TMS1002

      Remove the transfer front drive gear assembly from the front transfer case.

  27. REMOVE TRANSFER FRONT DRIVE GEAR PIN 
    1. GTY262442Courtesy of © TOYOTA, LICENSE AGREEMENT TMS1002

      Remove the transfer front drive gear pin from the front transfer case.

  28. REMOVE TRANSFER INPUT SHAFT 
    1. GTY283480Courtesy of © TOYOTA, LICENSE AGREEMENT TMS1002

      Remove the transfer input shaft from the transfer front drive gear assembly.

  29. REMOVE TRANSFER OIL SEAL RING 
    1. GTY283482Courtesy of © TOYOTA, LICENSE AGREEMENT TMS1002

      Remove the transfer oil seal ring from the transfer input shaft.

  30. REMOVE DRIVE PINION COMPANION FLANGE OIL SEAL 
    1. GTY820589Courtesy of © TOYOTA, LICENSE AGREEMENT TMS1002
      *a Protective Tape

      Using a screwdriver wrapped in protective tape, remove the drive pinion companion flange oil seal from the drive pinion companion flange.

      NOTE:

      Be careful not to damage the drive pinion companion flange sub-assembly.

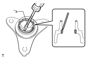
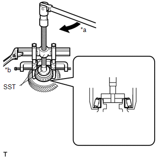
  31. REMOVE TRANSFER IDLER GEAR BEARING 
    1. for Front Transfer Case Side:
      1. Using SST, remove the transfer idler gear bearing (inner race) from the transfer idler gear assembly.
        GTY838568Courtesy of © TOYOTA, LICENSE AGREEMENT TMS1002
        *a Turn
        *b Hold
        • SST: 09950-40011 
          1. 09951-04020
          2. 09952-04010
          3. 09953-04030
          4. 09954-04010
          5. 09955-04021
          6. 09957-04010
          7. 09958-04011
        • SST: 09950-60011 
          1. 09951-00420
          2. 09951-00540
          3. 09952-06010
        NOTE:

        Be careful not to damage the transfer idler gear assembly.

      2. Using SST, remove the transfer idler gear bearing (outer race) from the front transfer case.
        GTY819366Courtesy of © TOYOTA, LICENSE AGREEMENT TMS1002
        *a Turn
        *b Hold
        • SST: 09950-40011 
          1. 09951-04020
          2. 09952-04010
          3. 09953-04030
          4. 09954-04010
          5. 09955-04071
          6. 09957-04010
        • SST: 09950-60011 
          1. 09951-00290
        NOTE:

        Be careful not to damage the front transfer case.

    2. for Rear Transfer Case Side:
      1. Using SST, remove the transfer idler gear bearing (inner race) from the transfer idler gear assembly.
        GTY824649Courtesy of © TOYOTA, LICENSE AGREEMENT TMS1002
        *a Turn
        *b Hold
        • SST: 09950-40011 
          1. 09951-04020
          2. 09952-04010
          3. 09953-04030
          4. 09954-04010
          5. 09955-04021
          6. 09957-04010
          7. 09958-04011
        • SST: 09950-60011 
          1. 09951-00420
          2. 09951-00540
          3. 09952-06010
        NOTE:

        Be careful not to damage the idler gear bearing.

      2. Using SST, remove the transfer idler gear bearing (outer race) from the rear transfer case.
        GTY822852Courtesy of © TOYOTA, LICENSE AGREEMENT TMS1002
        *a Turn
        *b Hold
        • SST: 09950-40011 
          1. 09951-04020
          2. 09952-04010
          3. 09953-04030
          4. 09954-04010
          5. 09955-04071
        • SST: 09950-60011 
          1. 09951-00380
        NOTE:

        Be careful not to damage the rear transfer case.

    3. Remove the transfer idler gear shim from rear transfer case.
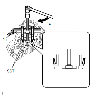
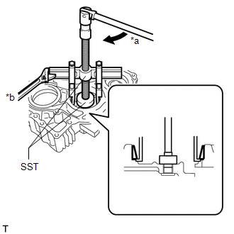
  32. REMOVE TRANSFER COUNTER GEAR BEARING 
    1. for Front Transfer Case Side:
      1. Using SST, remove the transfer counter gear bearing (inner race) from the transfer counter gear assembly.
        GTY799067Courtesy of © TOYOTA, LICENSE AGREEMENT TMS1002
        *a Turn
        *b Hold
        • SST: 09950-00020 
        • SST: 09950-00030 
        • SST: 09950-40011 
          1. 09957-04010
        • SST: 09950-60011 
          1. 09951-00280
          2. 09951-00440
          3. 09952-06010
        NOTE:

        Be careful not to damage the transfer counter gear assembly.

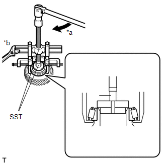
      2. Using SST, remove the transfer counter gear bearing (outer race) from the front transfer case.
        • SST: 09612-65014 
          1. 09612-01020
        GTY821206Courtesy of © TOYOTA, LICENSE AGREEMENT TMS1002
        *a Turn
        *b Hold
        NOTE:

        Be careful not to damage the front transfer case.

    2. for Rear Transfer Case Side:
      1. Using SST, remove the transfer counter gear bearing (inner race) from the transfer counter gear assembly.
        GTY831492Courtesy of © TOYOTA, LICENSE AGREEMENT TMS1002
        *a Turn
        *b Hold
        • SST: 09950-00020 
        • SST: 09950-00030 
        • SST: 09950-40011 
          1. 09957-04010
        • SST: 09950-60011 
          1. 09951-00360
          2. 09951-00500
          3. 09952-06010
        NOTE:

        Be careful not to damage the transfer counter gear assembly.

      2. Using SST, remove the transfer counter gear bearing (outer race) from the front transfer case.
        GTY775825Courtesy of © TOYOTA, LICENSE AGREEMENT TMS1002
        *a Turn
        *b Hold
        • SST: 09950-40011 
          1. 09951-04020
          2. 09952-04010
          3. 09953-04030
          4. 09954-04010
          5. 09955-04071
          6. 09957-04010
        • SST: 09950-60011 
          1. 09951-00420
        NOTE:

        Be careful not to damage the rear transfer case.

    3. Remove the transfer counter gear shim from rear transfer case.
  33. REMOVE TRANSFER OIL SEPARATOR 
    1. GTY265404Courtesy of © TOYOTA, LICENSE AGREEMENT TMS1002

      Remove the 3 bolts and transfer oil separator from the front transfer case.

  34. REMOVE NO. 1 TRANSFER OIL STRAINER 
    1. GTY265405Courtesy of © TOYOTA, LICENSE AGREEMENT TMS1002

      Remove the No. 1 transfer oil strainer from the front transfer case.

  35. REMOVE TRANSFER OIL PUMP PLATE SUB-ASSEMBLY 
    1. Using an air gun, gradually apply air and remove the transfer oil pump plate sub-assembly from the front transfer case.
      GTY801005Courtesy of © TOYOTA, LICENSE AGREEMENT TMS1002
      *1 Transfer Oil Pump Plate Sub-assembly
      *2 Front Transfer Case
      *3 Transfer Oil Pump Plate Pin
      *4 Transfer Oil Pump Drive Rotor
      *5 Transfer Oil Pump Driven Rotor
    2. Remove the transfer oil pump plate pin from the transfer oil pump plate sub-assembly.
    3. Remove the transfer oil pump drive rotor and transfer oil pump driven rotor from the front transfer case.
  36. REMOVE FORWARD CLUTCH DRUM OIL SEAL RING 
    1. GTY265408Courtesy of © TOYOTA, LICENSE AGREEMENT TMS1002

      Remove the forward clutch drum oil seal ring from the front transfer case.

  37. REMOVE TRANSFER FRONT CASE OIL SEAL 
    1. GTY803453Courtesy of © TOYOTA, LICENSE AGREEMENT TMS1002
      *1 Protective Tape

      Using a screwdriver with its tip wrapped with protective tape, remove the transfer front case oil seal from the front transfer case.

      NOTE:

      Do not damage the transfer front case oil seal installation surface.

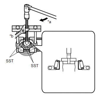
  38. REMOVE TRANSFER FRONT DRIVE GEAR ASSEMBLY CYLINDRICAL ROLLER BEARING 
    1. for Front Transfer Case Side:
      1. Using a screwdriver, remove the transfer front drive gear assembly cylindrical roller bearing rollers and roller cage.
        GTY831830Courtesy of © TOYOTA, LICENSE AGREEMENT TMS1002
        *1 Roller
        *2 Roller Cage
      2. Remove the transfer front drive gear bearing and No. 3 transfer thrust bearing race from the front transfer case.
        GTY262622Courtesy of © TOYOTA, LICENSE AGREEMENT TMS1002
      3. Using SST, remove the transfer front drive gear assembly cylindrical roller bearing (outer race) from the front transfer case.
        GTY792802Courtesy of © TOYOTA, LICENSE AGREEMENT TMS1002
        *a Turn
        *b Hold
        • SST: 09649-17010 
        • SST: 09950-40011 
          1. 09951-04010
          2. 09952-04010
          3. 09953-04020
          4. 09954-04010
          5. 09955-04041
          6. 09957-04010
        NOTE:

        Be careful not to damage the front transfer case.

    2. for Rear Transfer Case Side:
      1. Using needle-nose pliers, remove the transfer front drive gear snap ring from the rear transfer case.
        GTY265409Courtesy of © TOYOTA, LICENSE AGREEMENT TMS1002
      2. Using SST and a press, remove the transfer front drive gear assembly cylindrical roller bearing from the rear transfer case.
        GTY825226Courtesy of © TOYOTA, LICENSE AGREEMENT TMS1002
        • SST: 09950-60011 
          1. 09951-00540
          2. 09951-00650
          3. 09952-06010
        • SST: 09950-70010 
          1. 09951-07100
        NOTE:
        • Be careful of the straight pins when placing the case on the press.
        • Be careful not to damage the rear transfer case.