LEMON Manuals: Even more car manuals for everyone: 1960-2025
Home >> Lexus >> 2021 >> LS 500 Base, RWD >> Repair and Diagnosis >> External Pages >> Different variant/trim >> Section 15 (Transfer Case System - Service Information) >> Transfer Assembly >> Inspection [12/2017 - ] >> Procedure
April 5, 2026: LEMON Manuals is launched! Read the announcement.

Inspection [12/2017 - ]: Procedure

WARNING: This page is about a different variant/trim than selected.
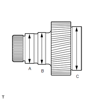
  1. INSPECT TRANSFER FRONT DRIVE GEAR ASSEMBLY 
    1. GTY793777Courtesy of © TOYOTA, LICENSE AGREEMENT TMS1002

      Using a micrometer, measure the outer diameter of the transfer front drive gear journal.

      Maximum

      Measurement Area When New [mm] Minimum [mm]
      A 50.981 to 51.000 mm (2.0072 to 2.0078 in.) 50.981 mm (2.0072 in.)
      B 54.461 to 54.480 mm (2.1442 to 2.1448 in.) 54.461 mm (2.1442 in.)
      C 74.461 to 74.480 mm (2.9316 to 2.9322 in.) 74.461 mm (2.9316 in.)

      HINT: 

      If the outer diameter is less than the minimum, replace the transfer front drive gear assembly.

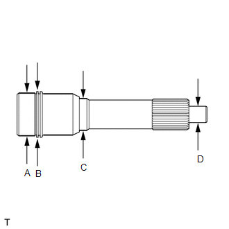
  2. INSPECT TRANSFER INPUT SHAFT 
    1. GTY826686Courtesy of © TOYOTA, LICENSE AGREEMENT TMS1002

      Using a micrometer, measure the outer diameter of the transfer input shaft journal.

      Maximum

      Measurement Area When New [mm] Minimum [mm]
      A 47.975 to 48.000 mm (1.8888 to 1.8897 in.) 47.975 mm (1.8888 in.)
      B 50.750 to 50.870 mm (1.9981 to 2.0027 in.) 50.750 mm (1.9981 in.)
      C 34.961 to 34.986 mm (1.3765 to 1.3774 in.) 34.961 mm (1.3765 in.)
      D 17.980 to 18.000 mm (0.7079 to 0.7086 in.) 17.980 mm (0.7079 in.)

      HINT: 

      If the outer diameter is less than the minimum, replace the transfer input shaft.