LEMON Manuals: Even more car manuals for everyone: 1960-2025
Home >> Lexus >> 2021 >> RX 350 Base, AWD >> Repair and Diagnosis (Single Page) >> Accessories & Equipment >> Anti-Theft Systems >> Smart Access System With Push-Button Start (For Start Function) - Diagnostics - Introduction >> SMART ACCESS SYSTEM WITH PUSH-BUTTON START (for Start Function) >> Terminals Of Ecu [09/2015 - ] >> Terminals Of Ecu [09/2015 - ]
April 5, 2026: LEMON Manuals is launched! Read the announcement.

Terminals Of Ecu [09/2015 - ]

  1. CHECK CERTIFICATION ECU (SMART KEY ECU ASSEMBLY) 
    Fig 1: Certification ECU (Smart Key ECU Assembly) Connector End View
    GTY677520Courtesy of © TOYOTA, LICENSE AGREEMENT TMS1002
    1. Disconnect the A74, R1 and J41 certification ECU (smart key ECU assembly) connectors.
    2. Measure the voltage and resistance according to the value(s) in the table below.

      HINT: 

      Measure the values on the wire harness side with the connector disconnected.

      Tester Connection Input/Output Wiring Color Terminal Description Condition Specified Condition Related Data List Item
      A74-20 (STA) - Body ground Input B - Body ground When starting the engine, this monitors the voltage sent from terminal STAR to the starter relay to judge whether the engine is "being started". 20°C (68°F) 106.78 to 115.98 Ω -
      A74-9 (STAR) - Body ground Input/Output B - Body ground Outputs voltage to the starter relay
      • Outputs voltage (12 V) to the starter relay when starting the engine. (Max. 30 sec. Turns off when an engine speed of 1000 rpm.)

      HINT: 
      When Hi is selected, a start request signal (STAR) will not be output even though a start request signal (STSW) is input.
      Shift lever in any position other than P or N → Shift lever in P or N (at 20°C (68°F)) 10 kΩ or higher → 107.05 to 116.33 Ω -
      Receives neutral start switch (P, N position detection) signal
      • Monitors whether the neutral start switch is on (P or N) or off (other than P or N). Applies voltage via a resistor (large) in the certification ECU (smart key ECU assembly). When the neutral start switch is on, due to the starter relay coil resistance (small) using some of the voltage, the voltage at terminal STAR will be low (2.7 V or less), and when the neutral start switch is off, the voltage will be high (9 V or more).
      Perform the following operations except while the engine is cranking:
      • Shift lever in any position other than P or N → Shift lever in P or N (at 20°C (68°F))
      30 kΩ or higher → 107.05 to 116.33 Ω Neutral SW/ Clutch SW
      A74-16 (NE) - Body ground Input B - Body ground Engine speed signal Always 10 kΩ or higher Engine Condition
      R1-25 (STP1) - Body ground Input B - Body ground Stop light switch signal Brake pedal depressed → Brake pedal released 9 V or higher → 1 V or less Stop Light Switch1
      J41-4 (+B) - J41-18 (E) Input V - W-B Power source Always 11 to 14 V -
      J41-22 (P) - J41-18 (E) Input SB - W-B P position signal Shift lever in P → Shift lever not in P 30 kΩ or higher → Below 200 Ω Shift P Signal
      J41-18 (E) - Body ground - W-B - Body ground GND Always Below 1 Ω -
      J41-21 (SSW2) - Body ground Input V - Body ground SSW2 contact signal
      HINT: 
      Backup for SSW1. Behaves the same way as SSW1.
      Engine switch pushed → Engine switch not pushed Below 15 Ω → 10 kΩ or higher Start Switch2
      J41-23 (SSW1) - Body ground Input P - Body ground SSW1 contact signal Engine switch pushed → Engine switch not pushed Below 15 Ω → 10 kΩ or higher Start Switch1
      J41-16 (ACCD) - Body ground Output Y - Body ground ACC signal 20°C (68°F) 285.71 to 428.57 Ω ACC Relay Monitor
      J41-17 (IG1D) - Body ground Output G - Body ground IG signal 20°C (68°F) 55.04 to 88.24 Ω IG Relay Monitor (Outside)
      J41-19 (SPD) - Body ground Input SB - Body ground Vehicle speed signal Always 30 kΩ or higher Vehicle Speed Signal
    3. Reconnect the A74, R1 and J41 certification ECU (smart key ECU assembly) connectors.
    4. Measure the voltage and check for pulses according to the value(s) in the table below.
      Tester Connection Input/Output Wiring Color Terminal Description Condition Specified Condition Related Data List Item
      A74-20 (STA) - J41-18 (E) Input B - W-B When starting the engine, this monitors the voltage sent from terminal STAR to the starter relay to judge whether the engine is "being started". Engine switch pressed and held with brake pedal depressed (starter on) → Approximately 1 second after engine switch released (starter off) 6 V or higher* → 1.0 V or less -
      A74-9 (STAR) - J41-18 (E) Input/Output B - W-B Outputs voltage to the starter relay
      • Outputs voltage (12 V) to the starter relay when starting the engine. (Max. 30 sec. Turns off when an engine speed of 1000 rpm.)

      HINT: 
      When Hi is selected, a start request signal (STAR) will not be output even though a start request signal (STSW) is input.
      Engine switch pressed and held with brake pedal depressed (starter on) → Approximately 1 second after engine switch released (starter off) 6 V or higher* → 1.0 V or less -
      Receives neutral start switch (P, N position detection) signal
      • Monitors whether the neutral start switch is on (P or N) or off (other than P or N). Applies voltage via a resistor (large) in the certification ECU (smart key ECU assembly). When the neutral start switch is on, due to the starter relay coil resistance (small) using some of the voltage, the voltage at terminal STAR will be low (2.7 V or less), and when the neutral start switch is off, the voltage will be high (9 V or more).
      Perform the following operations except while the engine is cranking:
      • Shift lever in any position other than P or N → Shift lever in P or N (at 20°C (68°F))
      9 V or higher → 2.7 V or less Neutral SW/ Clutch SW
      A74-16 (NE) - J41-18 (E) Input B - W-B Engine speed signal Idling (engine warmed up) Pulse generation
      (See waveform 1)
      Engine Condition
      R1-25 (STP1) - J41-18 (E) Input B - W-B Stop light switch signal Brake pedal released → Brake pedal depressed 1 V or less → 9 V or higher Stop Light Switch1
      J41-14 (SLP) - J41-18 (E) Input P - W-B Steering lock position signal Steering locked → Steering unlocked 11 to 14 V → 1.5 V or less Steering Unlock Switch
      J41-25 (SLR+) - J41-18 (E) Output SB - W-B Steering lock motor operation command signal
      (Steering lock motor operation permission signal sent from the certification ECU (smart key ECU assembly))
      When a door is opened, the steering lock motor will be operated if all of the following conditions are met:
      • The steering is unlocked.
      • The engine switch is off.
      • The shift lever is in P.
      Pulse generation
      (See waveform 2)
      -
      J41-22 (P) - J41-18 (E) Input SB - W-B P position signal Shift lever in P → Shift lever not in P 9 V or higher → 2.76 V or less Shift P Signal
      J41-21 (SSW2) - J41-18 (E) Input V - W-B SSW2 contact signal
      HINT: 
      Backup for SSW1. Behaves the same way as SSW1.
      Engine switch not pushed → Engine switch pushed 9 V or higher → 1 V or less Start Switch2
      J41-23 (SSW1) - J41-18 (E) Input P - W-B SSW1 contact signal Engine switch not pushed → Engine switch pushed 9 V or higher → 1 V or less Start Switch1
      J41-16 (ACCD) - J41-18 (E) Output Y - W-B ACC signal Engine switch off → Engine switch on (ACC) 1 V or less → 8.5 V or higher ACC Relay Monitor
      J41-17 (IG1D) - J41-18 (E) Output G - W-B IG signal Engine switch on (ACC) → Engine switch on (IG) 1 V or less → 9 V or higher IG Relay Monitor (Outside)
      J41-19 (SPD) - J41-18 (E) Input SB - W-B Vehicle speed signal Vehicle being driven at approx. 5 km/h (3 mph) Pulse generation
      (See waveform 3)
      Vehicle Speed Signal
      J41-8 (CLG5) - J41-18 (E) Output B - W-B Output to No. 1 indoor electrical key antenna assembly (front floor) Procedure:
      1. Engine switch off
      2. Electrical key transmitter sub-assembly not inside vehicle
      3. Within 30 seconds of closing any door
      Pulse generation
      (See waveform 4)
      Overhead + Front Room (key diagnostic mode)
      J41-9 (CG5B) - J41-18 (E) Output Y - W-B Output to No. 1 indoor electrical key antenna assembly (front floor) (terminal on opposite side of component from CLG5 output terminal) Procedure:
      1. Engine switch off
      2. Electrical key transmitter sub-assembly not inside vehicle
      3. Within 30 seconds of closing any door
      Pulse generation
      (See waveform 4)
      Overhead + Front Room (key diagnostic mode)
      R1-5 (CLG6) - J41-18 (E) Output P - W-B Output to No. 2 indoor electrical key antenna assembly (rear floor) Procedure:
      1. Engine switch off
      2. Electrical key transmitter sub-assembly not inside vehicle
      3. Within 30 seconds of closing any door
      Pulse generation
      (See waveform 4)
      Overhead + Rear Room (key diagnostic mode)
      R1-6 (CG6B) - J41-18 (E) Output L - W-B Output to No. 2 indoor electrical key antenna assembly (rear floor) (terminal on opposite side of component from CLG6 output terminal) Procedure:
      1. Engine switch off
      2. Electrical key transmitter sub-assembly not inside vehicle
      3. Within 30 seconds of closing any door
      Pulse generation
      (See waveform 4)
      Overhead + Rear Room (key diagnostic mode)
      R1-11 (CLG7) - J41-18 (E) Output V - W-B Output to No. 3 indoor electrical key antenna assembly (inside luggage compartment) Procedure:
      1. Engine switch off
      2. Electrical key transmitter sub-assembly not inside vehicle
      3. Within 30 seconds of closing any door
      Pulse generation
      (See waveform 4)
      Overhead + Back Door (inside) (key diagnostic mode)
      R1-10 (CG7B) - J41-18 (E) Output W - W-B Output to No. 3 indoor electrical key antenna assembly (inside luggage compartment) (terminal on opposite side of component from CLG7 output terminal) Procedure:
      1. Engine switch off
      2. Electrical key transmitter sub-assembly not inside vehicle
      3. Within 30 seconds of closing any door
      Pulse generation
      (See waveform 4)
      Overhead + Back Door (inside) (key diagnostic mode)

      HINT: 

      • *: While the engine is cranking, the battery voltage may drop to approximately 6 V.
      • The waveform of the steering lock actuator motor stopped can be checked without performing any particular operation.
      • The waveform of the steering lock actuator motor operating can be checked if either of the following operations is performed:
        • To unlock the steering, bring the electrical key transmitter sub-assembly into the cabin and turn the engine switch on (ACC) or on (IG).
        • To lock the steering, open a door with the engine switch off and the shift lever in P.
    5. Using an oscilloscope, check the waveform of the ECU.
      NOTE:

      The oscilloscope waveform shown in the illustration is an example for reference only. Noise, chattering, etc. are not shown.

      1. Waveform 1
        Fig 2: Waveform 1
        GTY426794Courtesy of © TOYOTA, LICENSE AGREEMENT TMS1002
        Item Content
        Tester Connection A74-16 (NE) - J41-18 (E)
        Tool Setting 2 V/DIV., 2 ms./DIV.
        Condition Idling (engine warmed up)

        HINT: 

        The wavelength becomes shorter as the engine speed increases.

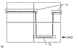
      2. Waveform 2
        Fig 3: Waveform 2
        GTY446294Courtesy of © TOYOTA, LICENSE AGREEMENT TMS1002
        *a Steering lock motor not operating
        *b Steering lock motor operating
        Item Content
        Tester Connection J41-25 (SLR+) - J41-18(E)
        Tool Setting 2 V/DIV., 200 ms./DIV.
        Condition Steering lock motor stopped → Steering lock motor operating → Steering lock motor stopped
      3. Waveform 3
        Fig 4: Waveform 3
        GTY453239Courtesy of © TOYOTA, LICENSE AGREEMENT TMS1002
        Item Content
        Tester Connection J41-19 (SPD) - J41-18(E)
        Tool Setting 5 V/DIV., 20 ms./DIV.
        Condition Vehicle being driven at approx. 5 km/h (3 mph)

        HINT: 

        The wavelength becomes shorter as the vehicle speed increases.

      4. Waveform 4
        Fig 5: Waveform 3
        GTY426276Courtesy of © TOYOTA, LICENSE AGREEMENT TMS1002
        *a For 30 seconds after any door closed
        *b After 30 seconds or more have elapsed since any door closed
        Item Content
        Tester Connection J41-8 (CLG5) - J41-18 (E)
        J41-9 (CG5B) - J41-18 (E)
        R1-5 (CLG6) - J41-18 (E)
        R1-6 (CG6B) - J41-18 (E)
        R1-11 (CLG7) - J41-18 (E)
        R1-10 (CG7B) - J41-18 (E)
        Tool Setting 2 V/DIV., 500 ms/DIV.
        Condition Procedure:
        1. Engine switch off
        2. Electrical key transmitter sub-assembly not inside vehicle
        3. Within 30 seconds of closing any door
  2. CHECK STEERING LOCK ECU (STEERING LOCK ACTUATOR OR UPPER BRACKET ASSEMBLY) 

    Refer to TERMINALS OF ECU [09/2015 - ]

  3. CHECK ID CODE BOX (IMMOBILISER CODE ECU) 

    Refer to TERMINALS OF ECU [09/2015 - ]

  4. CHECK ECM 

    Refer to TERMINALS OF ECU [09/2015 - ]

  5. CHECK ENGINE SWITCH 

    Refer to TERMINALS OF ECU [09/2015 - ]