LEMON Manuals: Even more car manuals for everyone: 1960-2025
Home >> Lexus >> 2021 >> RX 350 Base, AWD >> Repair and Diagnosis >> Transmission >> Transfer Case >> Transfer Case - Service Information >> Transfer Assembly >> Reassembly [09/2015 - 12/2017] >> Procedure
April 5, 2026: LEMON Manuals is launched! Read the announcement.

Reassembly [09/2015 - 12/2017]: Procedure

  1. INSTALL REAR TRANSFER DRIVEN PINION BEARING (OUTER RACE) 
    1. Using SST and a press, install the rear transfer driven pinion bearing (outer race) to the transfer case sub-assembly.
      GTY544601Courtesy of © TOYOTA, LICENSE AGREEMENT TMS1002
      *1 Rear Transfer Driven Pinion Bearing (outer race)
      • SST: 09950-60010 
        1. 09951-00620
      • SST: 09950-70010 
        1. 09951-07150
      NOTE:
      • Keep the transfer case sub-assembly horizontal using wooden blocks, etc.
      • If the rear transfer driven pinion bearing (outer race) is damaged or deformed, replace it with a new one.
    2. Apply gear oil to the rear transfer driven pinion bearing (outer race).
  2. INSTALL TRANSFER OUTPUT SHAFT WASHER 
    1. Apply gear oil to the transfer output shaft washer.
    2. Install the transfer output shaft washer to the transfer case sub-assembly.
      NOTE:

      If the transfer output shaft washer is damaged or deformed, replace it with a new one.

      HINT: 

      Install the same transfer output shaft washer as the one removed.

  3. INSTALL FRONT TRANSFER DRIVEN PINION BEARING 
    1. Apply gear oil to the inner surface of the transfer case sub-assembly.
    2. Using SST, bolt and nut, install the front transfer driven pinion bearing (outer race) to the transfer case sub-assembly.
      GTY603794Courtesy of © TOYOTA, LICENSE AGREEMENT TMS1002
      *1 Transfer Output Shaft Washer
      *2 Front Transfer Driven Pinion Bearing (outer race)
      *a Turn
      *b Hold
      • SST: 09950-60010 
        1. 09951-00610
        2. 09951-00620
        3. 09951-00650
      • SST: 09950-60020 
        1. 09951-00680
      NOTE:
      • If the front transfer driven pinion bearing (outer race) is damaged or deformed, replace it with a new one.
      • When replacing the front transfer driven pinion bearing (outer race), replace both outer and inner races as one set.
    3. Apply gear oil to the front transfer driven pinion bearing (outer race).
    4. Using SST and a press, install the front transfer driven pinion bearing (inner race) to the driven pinion.
      • SST: 09506-30012 
      GTY425392Courtesy of © TOYOTA, LICENSE AGREEMENT TMS1002
      NOTE:
      • If the front transfer driven pinion bearing (inner race) is damaged or deformed, replace it with a new one.
      • When replacing the front transfer driven pinion bearing (inner race), replace both outer and inner races as one set.
    5. Apply gear oil to the front transfer driven pinion bearing (inner race).
  4. INSTALL DRIVEN PINION 
    1. Install the driven pinion to the transfer case sub-assembly.
      GTY242637Courtesy of © TOYOTA, LICENSE AGREEMENT TMS1002
    2. Apply gear oil to the rear transfer driven pinion bearing (inner race).
      GTY426169Courtesy of © TOYOTA, LICENSE AGREEMENT TMS1002
      *1 Transfer Pinion Bearing Spacer
      *2 Rear Transfer Driven Pinion Bearing (inner race)
      *3 Gear Nut
    3. Install a new transfer pinion bearing spacer and the rear transfer driven pinion bearing (inner race) to the driven pinion.
      NOTE:
      • If the rear transfer driven pinion bearing (inner race) is damaged or deformed, replace it with a new one.
      • When replacing the rear transfer driven pinion bearing (inner race), replace both outer and inner races as one set.

      HINT: 

      Install the transfer pinion bearing spacer with the larger inner diameter facing forward as shown in the illustration.

    4. Apply hypoid gear oil LSD to the threads of a new gear nut and its seating surface.
    5. Using SST, install the gear nut.
      GTY568645Courtesy of © TOYOTA, LICENSE AGREEMENT TMS1002
      *a Torque Wrench Fulcrum Length
      • SST: 09326-20011 
      • SST: 09556-16030 

      Torque

      Specified tightening torque 

      270 to 420 N*m (2753 to 4283 kgf*cm, 199 to 310 ft.*lbf)

      NOTE:
      • This torque value is effective when SST is parallel to the torque wrench.
      • Do not stake the gear nut until the final preload, tooth contact and backlash adjustments are completed.

      HINT: 

      • Calculate the torque wrench reading when changing the fulcrum length of the torque wrench.

        Refer to PRECAUTION [09/2015 - 12/2017]

      • When using SST (fulcrum length of 50 mm (1.97 in.)) + torque wrench (fulcrum length of 1100 mm (3.61 ft.)):

        258 to 402 N*m (2631 to 4099 kgf*cm, 190 to 296 ft.*lbf)

  5. ADJUST DRIVEN PINION PRELOAD 
    1. Using SST and a torque wrench, measure the driven pinion preload.
      GTY479493Courtesy of © TOYOTA, LICENSE AGREEMENT TMS1002
      *a Torque Wrench Fulcrum Length
      • SST: 09326-20011 
      SPECIFIED PRELOAD (AT STARTING)

      Item Preload
      New bearing 0.7 to 1.4 N*m (7 to 14 kgf*cm, 6 to 12 in.*lbf)
      Reused bearing 0.5 to 0.9 N*m (5 to 9 kgf*cm, 4 to 8 in.*lbf)
      NOTE:

      Turn the driven pinion counterclockwise and clockwise several times.

      HINT: 

      • Calculate the torque wrench reading when changing the fulcrum length of the torque wrench.

        Refer to PRECAUTION [09/2015 - 12/2017]

      • When using SST (fulcrum length of 50 mm (1.97 in.)) + torque wrench (fulcrum length of 130 mm (5.12 in.)):
        PRELOAD (AT STARTING)

        Item Preload
        New bearing 0.5 to 1.0 N*m (5 to 10 kgf*cm, 4 to 9 in.*lbf)
        Reused bearing 0.3 to 0.6 N*m (3 to 6 kgf*cm, 3 to 5 in.*lbf)
    2. If the preload is more than the specification, replace the transfer pinion bearing spacer with a new one.
    3. If the preload is not sufficient, adjust the driven pinion by tightening the gear nut 5° to 10° and measuring the preload until the preload is within the specification.
    4. Even if the tightening torque of the gear nut exceeds the specified torque, if the preload is insufficient, loosen the gear nut once and apply rust preventive oil or hypoid gear oil LSD to the gear nut and to the screw or rear transfer driven pinion bearing (inner race) surface of the driven pinion. Then perform the procedure again. If the tightening torque is less than the specified torque, replace the transfer pinion bearing spacer with a new one and adjust it.
      NOTE:

      Do not loosen the gear nut to reduce the preload.

  6. INSTALL RING GEAR 
    1. Heat the ring gear in boiling water.
      GTY427978Courtesy of © TOYOTA, LICENSE AGREEMENT TMS1002
      *a Boiling Water
    2. Secure the transfer ring gear mounting case in a vise using aluminum plates.
      NOTE:
      • Be careful not to damage the transfer ring gear mounting case in the vise.
      • Remove any oil and water from the ring gear contact surface of the transfer ring gear mounting case.
      • Clean the bolt holes in the transfer ring gear mounting case.
    3. Carefully remove the ring gear from the boiling water.
      WARNING:

      Make sure to wear protective gloves as the ring gear is extremely hot.

    4. After the moisture on the ring gear has completely evaporated, quickly align the matchmarks and set the ring gear to the transfer ring gear mounting case.
      Fig 1: Ring Gear Bolts Tightening Sequence
      GTY438513Courtesy of © TOYOTA, LICENSE AGREEMENT TMS1002
      *a Matchmark
      NOTE:

      There is no foreign matter on the contact surfaces of the transfer ring gear mounting case and ring gear.

    5. Apply adhesive to the bolt holes and contact surface of the 12 bolts.

      Adhesive

      Toyota Genuine Adhesive 1324, Three Bond 1324 or equivalent

      NOTE:
      • Apply adhesive after the ring gear has cooled down sufficiently.
      • Make sure to install the bolts immediately after applying adhesive to keep foreign matter away from them.
    6. Install the ring gear with the 12 bolts.

      Torque: 98.6 N*m (1005 kgf*cm, 73 ft.*lbf) 

      NOTE:
      • Tighten the bolts evenly in a diagonal pattern using several steps.
      • Tighten the bolts after the ring gear has cooled down sufficiently.
  7. INSTALL RING GEAR MOUNTING CASE BEARING 
    1. for LH side:
      1. Using SST and a press, install the ring gear mounting case bearing (inner race) to the transfer ring gear mounting case.
        GTY448641Courtesy of © TOYOTA, LICENSE AGREEMENT TMS1002
        • SST: 09223-00010 
        • SST: 09726-40010 
        NOTE:
        • If the ring gear mounting case bearing (inner race) is damaged or deformed, replace it with a new one.
        • When replacing the ring gear mounting case bearing (inner race), replace both outer and inner races as one set.
      2. Install the ring gear mounting case plate washer to the transfer case sub-assembly.
        NOTE:

        If the ring gear mounting case plate washer is damaged or deformed, replace it with a new one.

        HINT: 

        Use a new ring gear mounting case plate washer with the same thickness as the one removed when installing the ring gear mounting case bearing (outer race).

      3. Using SST and a press, install the ring gear mounting case bearing (outer race) to the transfer case sub-assembly.
        GTY444751Courtesy of © TOYOTA, LICENSE AGREEMENT TMS1002
        • SST: 09950-60010 
          1. 09951-00680
        • SST: 09950-70010 
          1. 09951-07200
        NOTE:
        • If the ring gear mounting case bearing (outer race) is damaged or deformed, replace it with a new one.
        • When replacing the ring gear mounting case bearing (outer race), replace both outer and inner races as one set.
      4. Apply gear oil to the ring gear mounting case bearing.
    2. for RH side:
      1. Using SST and a press, install the ring gear mounting case bearing (inner race) to the transfer ring gear mounting case.
        GTY655721Courtesy of © TOYOTA, LICENSE AGREEMENT TMS1002
        • SST: 09387-00010 
        • SST: 09950-70010 
          1. 09951-07100
        NOTE:
        • If the ring gear mounting case bearing (inner race) is damaged or deformed, replace it with a new one.
        • When replacing the ring gear mounting case bearing (inner race), replace both outer and inner races as one set.
      2. Install the ring gear mounting case bearing (outer race) to the transfer ring gear mounting case.
        NOTE:
        • If the ring gear mounting case bearing (outer race) is damaged or deformed, replace it with a new one.
        • When replacing the ring gear mounting case bearing (outer race), replace both outer and inner races as one set.
      3. Apply gear oil to the ring gear mounting case bearing.
  8. INSTALL TRANSFER RING GEAR MOUNTING CASE 
    1. Install the transfer ring gear mounting case to the transfer case sub-assembly.
      GTY452960Courtesy of © TOYOTA, LICENSE AGREEMENT TMS1002
  9. INSTALL NO. 1 TRANSFER OUTPUT SHAFT SPACER 
    1. Apply gear oil to the No. 1 transfer output shaft spacer.
    2. Align the cutout on the No. 1 transfer output shaft spacer with the transfer case hole to install it as shown in the illustration.
      GTY426988Courtesy of © TOYOTA, LICENSE AGREEMENT TMS1002
      *1 No. 1 Transfer Output Shaft Spacer
      *a Cutout
      *b Transfer Case Hole
      *c Transfer Case Sub-assembly
  10. INSTALL NO. 2 TRANSFER RING GEAR MOUNTING CASE WASHER 
    1. Apply gear oil to the No. 2 transfer ring gear mounting case washer.
    2. Using a brass bar and a hammer, install the No. 2 transfer ring gear mounting case washer to the transfer case sub-assembly.
      GTY242642Courtesy of © TOYOTA, LICENSE AGREEMENT TMS1002

      HINT: 

      Use a No. 2 transfer ring gear mounting case washer with the same thickness as the one removed.

  11. INSTALL BEARING CAP 
    1. Install the bearing cap to the transfer case sub-assembly with the 2 bolts.
      GTY442479Courtesy of © TOYOTA, LICENSE AGREEMENT TMS1002

      Torque: 63.2 N*m (644 kgf*cm, 47 ft.*lbf) 

  12. INSPECT RING GEAR BACKLASH 
    1. Set a dial indicator perpendicular to a ring gear tooth tip.
      GTY442480Courtesy of © TOYOTA, LICENSE AGREEMENT TMS1002
    2. Secure the driven pinion in place and move the ring gear back and forth to measure the backlash.

      Backlash

      0.14 to 0.25 mm (0.00551 to 0.00984 in.)

      NOTE:

      Check at least 3 positions on the circumference of the ring gear.

    3. If the backlash is outside the specified range, select a ring gear mounting case plate washer from the table below and install it to meet the specified range.
      GTY433235Courtesy of © TOYOTA, LICENSE AGREEMENT TMS1002
      *1 Ring Gear Mounting Case Plate Washer

      HINT: 

      If the backlash is more than specified, select a thinner ring gear mounting case plate washer. If the backlash is less than specified, select a thicker ring gear mounting case plate washer.

      Ring Gear Mounting Case Plate Washer Thickness

      Part Number Thickness
      (mm (in.))
      Mark
      36265-48J60 1.95
      (0.0768)
      5Q
      36265-48J70 1.97
      (0.0776)
      5R
      36265-48J80 1.99
      (0.0783)
      5S
      36265-48J90 2.01
      (0.0791)
      5T
      36265-48K00 2.03
      (0.0799)
      5U
      36265-48K10 2.05
      (0.0807)
      5V
      36265-48K20 2.07
      (0.0815)
      5W
      36265-48K30 2.09
      (0.0823)
      5X
      36265-48K40 2.11
      (0.0831)
      5Y
      36265-48K50 2.13
      (0.0839)
      5Z
      36265-48K60 2.15
      (0.0846)
      6F
      36265-48K70 2.17
      (0.0854)
      6G
      36265-48K80 2.19
      (0.0862)
      6H
      36265-48K90 2.21
      (0.0870)
      6J
      36265-48L00 2.23
      (0.0878)
      6K
      36265-48L10 2.25
      (0.0886)
      6L
      36265-48L20 2.27
      (0.0894)
      6M
      36265-48L30 2.29
      (0.0902)
      6N
      36265-48L40 2.31
      (0.0909)
      6P
      36265-48L50 2.33
      (0.0917)
      6Q
      36265-48L60 2.35
      (0.0925)
      6R
      36265-48L70 2.37
      (0.0933)
      6S
      36265-48L80 2.39
      (0.0941)
      6T
      36265-48L90 2.41
      (0.0949)
      6U
      36265-48M00 2.43
      (0.0957)
      6V
      36265-48M10 2.45
      (0.0965)
      6W
      36265-48M20 2.47
      (0.0972)
      6X
      36265-48M30 2.49
      (0.0980)
      6Y
      36265-48M40 2.51
      (0.0988)
      6Z
      36265-48M50 2.53
      (0.0996)
      7F
      36265-48M60 2.55
      (0.100)
      7G
      36265-48M70 2.57
      (0.101)
      7H
      36265-48M80 2.59
      (0.102)
      7J
      36265-48M90 2.61
      (0.103)
      7K
      36265-48N00 2.63
      (0.10354)
      7L
      36265-48N10 2.65
      (0.10433)
      7M
      36265-48N20 2.67
      (0.105)
      7N
      36265-48N30 2.69
      (0.106)
      7P
      36265-48N40 2.71
      (0.10669)
      7Q
      36265-48N50 2.73
      (0.10748)
      7R
      36265-48N60 2.75
      (0.108)
      7S
      36265-48N70 2.77
      (0.109)
      7T
      36265-48N80 2.79
      (0.110)
      7U
      36265-48N90 2.81
      (0.11063)
      7V
      36265-48P00 2.83
      (0.11142)
      7W
      36265-48P10 2.85
      (0.112)
      7X
      36265-48P20 2.87
      (0.113)
      7Y
      36265-48P30 2.89
      (0.114)
      7Z
      36265-48P40 2.91
      (0.11457)
      8F
      36265-48P50 2.93
      (0.11535)
      8G
      36265-48P60 2.95
      (0.116)
      8H
      36265-48P70 2.97
      (0.117)
      8J
      36265-48P80 2.99
      (0.118)
      8K
      36265-48P90 3.01
      (0.11850)
      8L
      36265-48Q00 3.03
      (0.11929)
      8M
      36265-48Q10 3.05
      (0.120)
      8N
      36265-48Q20 3.07
      (0.121)
      8P
      36265-48Q30 3.09
      (0.12165)
      8Q
      36265-48Q40 3.11
      (0.12244)
      8R
      36265-48Q50 3.13
      (0.123)
      8S
      36265-48Q60 3.15
      (0.124)
      8T
      36265-48Q70 3.17
      (0.125)
      8U
      36265-48Q80 3.19
      (0.12559)
      8V
      36265-48Q90 3.21
      (0.12638)
      8W
      36265-48R00 3.23
      (0.127)
      8X
      36265-48R10 3.25
      (0.128)
      8Y
      36265-48R20 3.27
      (0.129)
      8Z
      36265-48R30 3.29
      (0.12953)
      9D
      36265-48R40 3.31
      (0.13031)
      9E
      36265-48R50 3.33
      (0.131)
      9F
      36265-48R60 3.35
      (0.132)
      9G
      36265-48R70 3.37
      (0.133)
      9H
  13. INSPECT TOOTH CONTACT BETWEEN RING GEAR AND DRIVEN PINION 
    1. Apply a light coat of Prussian blue evenly to both sides of all teeth.
      GTY442596Courtesy of © TOYOTA, LICENSE AGREEMENT TMS1002
    2. Rotate the ring gear 10 times or more.
    3. Rotate the ring gear to inspect the tooth contact pattern.
      GTY433905Courtesy of © TOYOTA, LICENSE AGREEMENT TMS1002
      *a Proper Contact *b Heel Contact
      *c Face Contact *d Select an adjusting washer that will shift the driven pinion closer to the ring gear (*b, *c)
      *e Toe Contact *f Flank Contact
      *g Select an adjusting washer that will shift the driven pinion away from the ring gear (*e, *f) - -
      NOTE:

      Check at least 4 positions on the circumference of the ring gear.

      HINT: 

      Prussian blue shown in the illustration indicates the tooth contact pattern.

    4. If the tooth contact pattern is not correct, select a new transfer output shaft washer that is thicker or thinner as necessary and recheck.
      GTY423981Courtesy of © TOYOTA, LICENSE AGREEMENT TMS1002
      *1 Transfer Output Shaft Washer
      NOTE:

      When the transfer output shaft washer thickness is changed, readjust the backlash.

      Refer to INSPECTION [09/2015 - ] 

      Transfer Output Shaft Washer Thickness

      Part Number Thickness
      (mm (in.))
      Mark
      36275-48010 2.00
      (0.0787)
      ZA
      36275-48020 2.02
      (0.0795)
      ZB
      36275-48030 2.04
      (0.0803)
      ZC
      36275-48040 2.06
      (0.0811)
      ZD
      36275-48050 2.08
      (0.0819)
      ZE
      36275-33010 2.10
      (0.0827)
      AA
      36275-33030 2.12
      (0.0835)
      AC
      36275-33050 2.14
      (0.0843)
      BB
      36275-33070 2.16
      (0.0850)
      CA
      36275-33090 2.18
      (0.0858)
      CC
      36275-33110 2.20
      (0.0866)
      DB
      36275-33130 2.22
      (0.0874)
      EA
      36275-33150 2.24
      (0.0882)
      EC
      36275-33170 2.26
      (0.0890)
      FB
      36275-33190 2.28
      (0.0898)
      GA
      36275-33210 2.30
      (0.0906)
      GC
      36275-33230 2.32
      (0.0913)
      HB
      36275-33250 2.34
      (0.0921)
      JA
      36275-33270 2.36
      (0.0929)
      JC
      36275-33290 2.38
      (0.0937)
      KB
      36275-33310 2.40
      (0.0945)
      LA
      36275-33330 2.42
      (0.0953)
      LC
      36275-33350 2.44
      (0.0961)
      MB
      36275-33370 2.46
      (0.0969)
      NA
      36275-33390 2.48
      (0.0976)
      NC
      36275-33410 2.50
      (0.0984)
      PB
      36275-33430 2.52
      (0.0992)
      QA
      36275-33450 2.54
      (0.100)
      QC
      36275-48060 2.56
      (0.101)
      RA
      36275-48070 2.58
      (0.10157)
      RB
      36275-48080 2.60
      (0.10236)
      RC
      36275-48090 2.62
      (0.103)
      SA
      36275-48100 2.64
      (0.104)
      SB
      36275-48110 2.66
      (0.105)
      SC
      36275-48120 2.68
      (0.10551)
      TA
      36275-48130 2.70
      (0.10630)
      TB
      36275-48140 2.72
      (0.107)
      TC
  14. INSPECT AND ADJUST TOTAL PRELOAD 
    1. Using SST and a torque wrench, measure the total preload.
      GTY479493Courtesy of © TOYOTA, LICENSE AGREEMENT TMS1002
      *a Torque Wrench Fulcrum Length
      • SST: 09326-20011 
      SPECIFIED TOTAL PRELOAD (AT STARTING)

      Item Preload
      New bearing 0.5 to 0.7 N*m (5 to 7 kgf*cm, 4 to 6 in.*lbf) + Driven pinion preload
      Reused bearing 0.4 to 0.5 N*m (4.1 to 5.1 kgf*cm, 3.5 to 4.4 in.*lbf) + Driven pinion preload
      NOTE:

      Turn the driven pinion counterclockwise and clockwise several times.

      HINT: 

      • Calculate the torque wrench reading when changing the fulcrum length of the torque wrench.

        Refer to PRECAUTION [09/2015 - 12/2017]

      • When using SST (fulcrum length of 50 mm (1.97 in.)) + torque wrench (fulcrum length of 130 mm (5.12 in.)):
        TOTAL PRELOAD (AT STARTING)

        Item Preload
        New bearing 0.4 to 0.5 N*m (4.1 to 5.1 kgf*cm, 3.5 to 4.4 in.*lbf) + Driven pinion preload
        Reused bearing 0.25 to 0.38 N*m (3 to 4 kgf*cm, 2 to 3 in.*lbf) + Driven pinion preload

      If the preload is outside the specified range, replace the No. 2 transfer ring gear mounting case washer with one that is thicker or thinner as necessary and recheck.

      GTY453582Courtesy of © TOYOTA, LICENSE AGREEMENT TMS1002
      *1 No. 2 Transfer Ring Gear Mounting Case Washer

      No. 2 Transfer Ring Gear Mounting Case Washer Thickness

      Part Number Thickness
      (mm (in.))
      Mark
      36266-48220 2.47
      (0.0972)
      G7
      36266-48230 2.49
      (0.0980)
      G8
      36266-48240 2.51
      (0.0988)
      G9
      36266-48250 2.53
      (0.0996)
      H0
      36266-48260 2.55
      (0.100)
      H1
      36266-48270 2.57
      (0.101)
      H2
      36266-48280 2.59
      (0.102)
      H3
      36266-48290 2.61
      (0.103)
      H4
      36266-48300 2.63
      (0.10354)
      H5
      36266-48310 2.65
      (0.10433)
      H6
      36266-48320 2.67
      (0.105)
      H7
      36266-48330 2.69
      (0.106)
      H8
      36266-48340 2.71
      (0.10669)
      H9
      36266-48350 2.73
      (0.10748)
      J0
      36266-48360 2.75
      (0.108)
      J1
      36266-48370 2.77
      (0.109)
      J2
      36266-48380 2.79
      (0.110)
      J3
      36266-48390 2.81
      (0.11063)
      J4
      36266-48400 2.83
      (0.11142)
      J5
      36266-48410 2.85
      (0.112)
      J6
      36266-48420 2.87
      (0.113)
      J7
      36266-48430 2.89
      (0.114)
      J8
      36266-48440 2.91
      (0.11457)
      J9
      36266-48450 2.93
      (0.11535)
      K0
      36266-48460 2.95
      (0.116)
      K1
      36266-48470 2.97
      (0.117)
      K2
      36266-48480 2.99
      (0.118)
      K3
      36266-48490 3.01
      (0.11850)
      K4
      36266-48500 3.03
      (0.11929)
      K5
      36266-48510 3.05
      (0.120)
      K6
      36266-48520 3.07
      (0.121)
      K7
      36266-48530 3.09
      (0.12165)
      K8
      36266-48540 3.11
      (0.12244)
      K9
      36266-48550 3.13
      (0.123)
      L0
      36266-48560 3.15
      (0.124)
      L1
      36266-48570 3.17
      (0.125)
      L2
      36266-48580 3.19
      (0.12559)
      L3
      36266-48590 3.21
      (0.12638)
      L4
      36266-48600 3.23
      (0.127)
      L5
      36266-48610 3.25
      (0.128)
      L6
      36266-48620 3.27
      (0.129)
      L7
      36266-48630 3.29
      (0.12953)
      L8
      36266-48640 3.31
      (0.13031)
      L9
      36266-48650 3.33
      (0.131)
      M0
      36266-48660 3.35
      (0.132)
      M1
      36266-48670 3.37
      (0.13268)
      M2
      36266-48680 3.39
      (0.13346)
      M3
      36266-48690 3.41
      (0.134)
      M4
      36266-48700 3.43
      (0.135)
      M5
      36266-48710 3.45
      (0.136)
      M6
      36266-48720 3.47
      (0.13661)
      M7
      36266-48730 3.49
      (0.13740)
      M8
      36266-48740 3.51
      (0.138)
      M9
      36266-48750 3.53
      (0.139)
      N0
      36266-48760 3.55
      (0.13976)
      N1
      36266-48770 3.57
      (0.14055)
      N2
      36266-48780 3.59
      (0.14134)
      N3
      36266-48790 3.61
      (0.142)
      N4
      36266-48800 3.63
      (0.143)
      N5
      36266-48810 3.65
      (0.14370)
      N6
      36266-48820 3.67
      (0.14449)
      N7
      36266-48830 3.69
      (0.145)
      N8
      36266-48840 3.71
      (0.146)
      N9
      36266-48850 3.73
      (0.147)
      P0
      36266-48860 3.75
      (0.14764)
      P1
      36266-48870 3.77
      (0.14842)
      P2
      36266-48880 3.79
      (0.149)
      P3
      36266-48890 3.81
      (0.150)
      P4
      36266-48A00 3.83
      (0.151)
      P5
      36266-48A10 3.85
      (0.15157)
      P6
      36266-48A20 3.87
      (0.15236)
      P7
      36266-48A30 3.89
      (0.153)
      P8
      36266-48A40 3.91
      (0.154)
      P9
      36266-48A50 3.93
      (0.155)
      Q0
      36266-48A60 3.95
      (0.15551)
      Q1
      36266-48A70 3.97
      (0.15630)
      Q2
      36266-48A80 3.99
      (0.157)
      Q3
      36266-48A90 4.01
      (0.158)
      Q4
      36266-48B00 4.03
      (0.15866)
      Q5
      36266-48B10 4.05
      (0.15945)
      Q6
      36266-48B20 4.07
      (0.160)
      Q7
      36266-48B30 4.09
      (0.161)
      Q8
      36266-48B40 4.11
      (0.162)
      Q9
      36266-48B50 4.13
      (0.16260)
      R0
      36266-48B60 4.15
      (0.16339)
      R1
      36266-48B70 4.17
      (0.164)
      R2
      36266-48B80 4.19
      (0.165)
      R3
      36266-48B90 4.21
      (0.166)
      R4
      36266-48C00 4.23
      (0.16654)
      R5
      36266-48C10 4.25
      (0.16732)
      R6
      36266-48C20 4.27
      (0.168)
      R7
      36266-48C30 4.29
      (0.169)
      R8
      36266-48C40 4.31
      (0.16968)
      R9
      36266-48C50 4.33
      (0.17047)
      S0
      36266-48C60 4.35
      (0.171)
      S1
      36266-48C70 4.37
      (0.172)
      S2
      36266-48C80 4.39
      (0.173)
      S3
      36266-48C90 4.41
      (0.17362)
      S4
      36266-48D00 4.43
      (0.17441)
      S5
      36266-48D10 4.45
      (0.175)
      S6
    2. Using a chisel and a hammer, stake the gear nut.
      GTY226643Courtesy of © TOYOTA, LICENSE AGREEMENT TMS1002
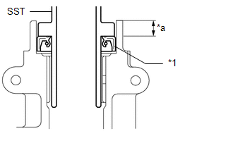
  15. INSTALL TRANSFER CASE OIL SEAL RH 
    1. Using SST and a hammer, install a new transfer case oil seal RH to the transfer case sub-assembly until it reaches the position shown in the illustration.
      GTY958729Courtesy of © TOYOTA, LICENSE AGREEMENT TMS1002
      *A Type A *B Type B
      *1 Transfer Case Oil Seal RH - -
      *a Depth - -
      Install in this Direction - -
      • SST: 09950-60010 
        1. 09951-00340
        2. 09951-00580
        3. 09952-06010
      • SST: 09950-70010 
        1. 09951-07150

      Standard Depth

      33.5 to 34.5 mm (1.32 to 1.36 in.)

      NOTE:
      • Be sure to install the transfer case oil seal RH in the correct orientation.
      • Make sure that the transfer case oil seal RH is not tilted.
      • Do not tap in the transfer case oil seal RH in too far.
    2. Coat the lip of the transfer case oil seal RH with MP grease.
  16. INSTALL TRANSFER CASE OIL SEAL 
    1. Using SST and a hammer, install a new transfer case oil seal to the transfer case sub-assembly until it reaches the position shown in the illustration.
      GTY600916Courtesy of © TOYOTA, LICENSE AGREEMENT TMS1002
      *1 Transfer Case Oil Seal
      *a Depth
      • SST: 09608-10010 
      • SST: 09950-70010 
        1. 09951-07150

      Standard Depth

      9.5 to 10.5 mm (0.374 to 0.413 in.)

      NOTE:
      • Make sure that the transfer case oil seal is not tilted.
      • Do not tap in the transfer case oil seal in too far.
    2. Coat the lip of the transfer case oil seal with MP grease.
  17. INSTALL TRANSFER EXTENSION HOUSING TYPE T OIL SEAL 
    1. Using SST and a hammer, install a new transfer extension housing type T oil seal to the transfer extension housing sub-assembly until it reaches the position shown in the illustration.
      GTY592853Courtesy of © TOYOTA, LICENSE AGREEMENT TMS1002
      *1 Transfer Extension Housing Type T Oil Seal
      *a Depth
      • SST: 09325-20010 

      Standard Depth

      9.8 to 10.6 mm (0.386 to 0.417 in.)

      NOTE:
      • Make sure that the transfer extension housing type T oil seal is not tilted.
      • Do not tap in the transfer extension housing type T oil seal in too far.
    2. Coat the lip of the transfer extension housing type T oil seal with MP grease.
  18. INSTALL TRANSFER EXTENSION HOUSING DUST DEFLECTOR 
    1. Using SST and a press, install a new transfer extension housing dust deflector to the transfer extension housing sub-assembly so that the clearance between the rib of the transfer extension housing sub-assembly and the transfer extension housing dust deflector is approximately 1 to 2 mm.
      GTY785856Courtesy of © TOYOTA, LICENSE AGREEMENT TMS1002
      *a Rib
      *b Approximately 1 to 2 mm
      • SST: 09950-60020 
        1. 09951-01030
      • SST: 09950-70010 
        1. 09951-07150
    2. Using SST and a hammer, tap in the transfer extension housing dust deflector until it contacts the rib of the transfer extension housing sub-assembly.
      GTY791067Courtesy of © TOYOTA, LICENSE AGREEMENT TMS1002
      *a Rib
      • SST: 09950-60020 
        1. 09951-01030
      • SST: 09950-70010 
        1. 09951-07150
      NOTE:

      Make sure that the transfer extension housing dust deflector evenly contacts the 3 ribs of the transfer extension housing sub-assembly.

  19. INSTALL TRANSFER EXTENSION HOUSING SUB-ASSEMBLY 
    1. Remove any FIPG and be careful not to drop oil on the contact surfaces of the transfer extension housing sub-assembly and transfer case sub-assembly.
    2. Degrease the surfaces with a non-residue solvent.
    3. Apply FIPG to the transfer extension housing sub-assembly.
      GTY454605Courtesy of © TOYOTA, LICENSE AGREEMENT TMS1002
      *a FIPG

      FIPG

      Toyota Genuine Seal Packing 1281, Three Bond 1281 or equivalent

      NOTE:
      • Apply FIPG in a continuous line (width 1.2 mm (0.0472 in.)) along the sealing surface of the transfer extension housing sub-assembly.
      • Assemble the transfer extension housing sub-assembly within 10 minutes of FIPG application.
    4. Install the transfer extension housing sub-assembly to the transfer case sub-assembly with the 4 bolts.

      Torque: 25.5 N*m (260 kgf*cm, 19 ft.*lbf) 

      GTY567120Courtesy of © TOYOTA, LICENSE AGREEMENT TMS1002
  20. REMOVE TRANSFER ASSEMBLY 
    1. Remove the transfer assembly from the overhaul attachment.
  21. INSTALL TRANSFER CASE STRAIGHT PIN 
    1. Using a plastic hammer, install the 4 transfer case straight pins to the transfer case sub-assembly at the positions shown in the illustration.
      GTY445233Courtesy of © TOYOTA, LICENSE AGREEMENT TMS1002
      *a 10.8 to 11.8 mm (0.425 to 0.465 in.) *b 5.7 to 6.7 mm (0.224 to 0.264 in.)
  22. INSTALL BREATHER OIL DEFLECTOR 
    1. Install the breather oil deflector to the transfer case cover sub-assembly with the bolt.
      GTY222187Courtesy of © TOYOTA, LICENSE AGREEMENT TMS1002

      Torque: 6.5 N*m (66 kgf*cm, 58 in.*lbf) 

      NOTE:

      Make sure that the breather oil deflector is installed in the correct direction.

  23. INSTALL TRANSFER CASE COVER SUB-ASSEMBLY 
    1. Remove any FIPG and be careful not to drop oil on the contact surfaces of the transfer case cover sub-assembly and transfer case sub-assembly.
    2. Degrease the surfaces with a non-residue solvent.
    3. Apply FIPG to the transfer case cover sub-assembly.
      GTY443758Courtesy of © TOYOTA, LICENSE AGREEMENT TMS1002
      *a FIPG

      FIPG

      Toyota Genuine Seal Packing 1281, Three Bond 1281 or equivalent

      NOTE:
      • Apply FIPG in a continuous line (width 1.2 mm (0.0472 in.)) along the sealing surface of the transfer case cover sub-assembly.
      • Assemble the transfer case cover sub-assembly within 10 minutes after the FIPG application.
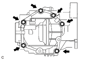
    4. Install the transfer case cover sub-assembly to the transfer case sub-assembly with the 6 bolts.
      GTY644898Courtesy of © TOYOTA, LICENSE AGREEMENT TMS1002

      Torque: 19.6 N*m (200 kgf*cm, 14 ft.*lbf) 

    5. Install 2 new bolts.
      GTY644907Courtesy of © TOYOTA, LICENSE AGREEMENT TMS1002

      Torque: 19.6 N*m (200 kgf*cm, 14 ft.*lbf) 

      NOTE:

      Wait for at least 1 hour after installing the transfer case cover sub-assembly before adding transfer oil.

  24. INSTALL TRANSFER CASE BREATHER PLUG 
    1. Using SST and a hammer, install a new transfer case breather plug to the transfer case cover sub-assembly.
      GTY427415Courtesy of © TOYOTA, LICENSE AGREEMENT TMS1002
      • SST: 09612-10093 
        1. 09612-10061
  25. INSTALL TRANSFER DRAIN PLUG 
    1. Install a new gasket to the transfer drain plug.
    2. Install the transfer drain plug to the transfer case sub-assembly.
      GTY428008Courtesy of © TOYOTA, LICENSE AGREEMENT TMS1002

      Torque: 49 N*m (500 kgf*cm, 36 ft.*lbf) 

  26. INSTALL FILLER PLUG (NO. 1 TRANSFER CASE PLUG) 
    1. Install a new gasket to the filler plug (No. 1 transfer case plug).
      GTY428009Courtesy of © TOYOTA, LICENSE AGREEMENT TMS1002
    2. Install the filler plug (No. 1 transfer case plug) to the transfer case sub-assembly.

      Torque: 49 N*m (500 kgf*cm, 36 ft.*lbf) 

  27. INSTALL NO. 2 TRANSFER CASE PLUG 
    1. Install a new gasket to the No. 2 transfer case plug.
      GTY428004Courtesy of © TOYOTA, LICENSE AGREEMENT TMS1002
    2. Install the No. 2 transfer case plug to the transfer case sub-assembly.

      Torque: 49 N*m (500 kgf*cm, 36 ft.*lbf) 

  28. INSTALL TRANSFER AND TRANSAXLE SETTING STUD BOLT 
    1. Install 4 new transfer and transaxle setting stud bolts to the transfer case sub-assembly at the positions shown in the illustration.
      GTY569589Courtesy of © TOYOTA, LICENSE AGREEMENT TMS1002
      *a Automatic Transaxle Assembly Side *b Transfer Case Sub-assembly Side
      *c 30 mm (1.18 in.) *d 22 mm (0.866 in.)
      *e 64 mm (2.52 in.) - -

      Transfer and Transaxle Setting Stud Bolt (A) 

      Torque: 39.2 N*m (400 kgf*cm, 29 ft.*lbf) 

      Transfer and Transaxle Setting Stud Bolt (B) 

      Torque: 25 N*m (255 kgf*cm, 18 ft.*lbf) 

      NOTE:

      Install the sealed side of the transfer and transaxle setting stud bolt to the transfer case sub-assembly.