LEMON Manuals: Even more car manuals for everyone: 1960-2025
Home >> Lexus >> 2021 >> UX 200 F Sport >> Repair and Diagnosis (Single Page) >> Accessories & Equipment >> Anti-Theft Systems >> Smart Access System W/ Push-Button Start (Entry Function) (Diagnostics - Introduction) (Except Hybrid) >> SMART ACCESS SYSTEM WITH PUSH-BUTTON START (for Entry Function, Gasoline Model) >> System Diagram [08/2021 - 07/2022] >> System Diagram [08/2021 - 07/2022]
April 5, 2026: LEMON Manuals is launched! Read the announcement.

System Diagram [08/2021 - 07/2022]

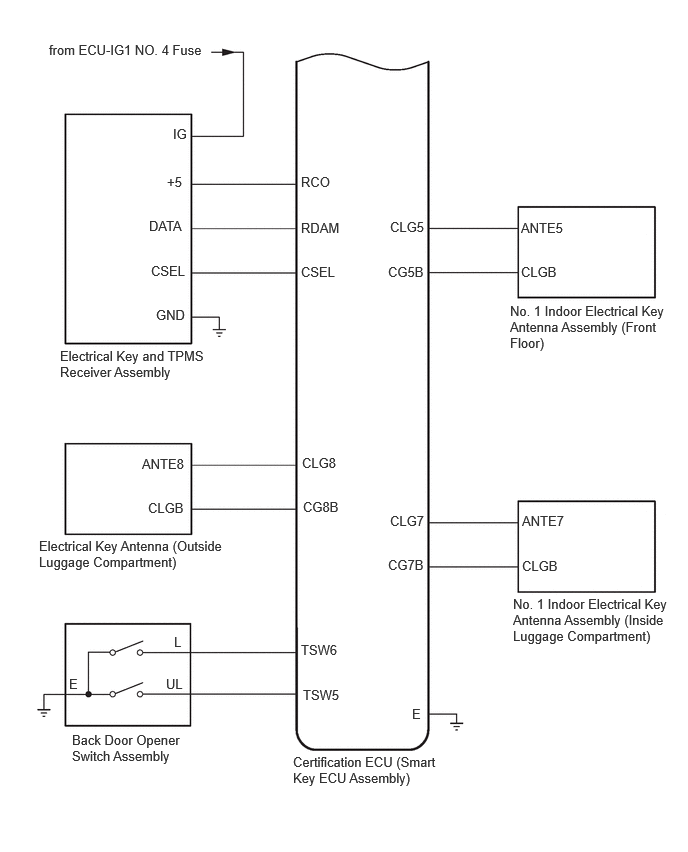
  1. SMART ACCESS SYSTEM WITH PUSH-BUTTON START (for Entry Function) 
    GTY1087760Courtesy of © TOYOTA, LICENSE AGREEMENT TMS1002
    GTY1087935Courtesy of © TOYOTA, LICENSE AGREEMENT TMS1002
  2. SMART ACCESS SYSTEM WITH PUSH-BUTTON START (for Start Function) 

    Refer to SYSTEM DIAGRAM [08/2021 - 07/2022]

  3. POWER DOOR LOCK CONTROL SYSTEM 

    Refer to SYSTEM DIAGRAM [10/2018 - 07/2022]

  4. WIRELESS DOOR LOCK CONTROL SYSTEM 

    Refer to SYSTEM DIAGRAM [10/2018 - 07/2022]

  5. POWER BACK DOOR SYSTEM (w/ Power Back Door System) 

    Refer to SYSTEM DIAGRAM [10/2018 - ]