LEMON Manuals: Even more car manuals for everyone: 1960-2025
Home >> Lexus >> 2021 >> UX 200 F Sport >> Repair and Diagnosis (Single Page) >> Accessories & Equipment >> Anti-Theft Systems >> Smart Access System W/ Push-Button Start (Start Function) (Diagnostic Codes & Symptom Tests (1 Of 2)) (Except Hybrid) >> SMART ACCESS SYSTEM WITH PUSH-BUTTON START (for Start Function, Gasoline Model) >> DTC B2782: Power Source Control ECU Malfunction [10/2018 - 07/2022] >> Procedure
April 5, 2026: LEMON Manuals is launched! Read the announcement.

DTC B2782: Power Source Control ECU Malfunction [10/2018 - 07/2022]: Procedure

  1. CHECK HARNESS AND CONNECTOR (GROUND) 
    1. Disconnect the F45 steering lock ECU (steering lock actuator or upper bracket assembly) connector.
    2. Measure the resistance according to the value(s) in the table below.

      Standard Resistance

      Tester Connection Condition Specified Condition
      F45-1 (GND) - Body ground Always Below 1 Ω
      GTY790964Courtesy of © TOYOTA, LICENSE AGREEMENT TMS1002
      *a Front view of wire harness connector
      (to Steering Lock ECU (Steering Lock Actuator or Upper Bracket Assembly))

      Result

      Proceed to
      OK
      NG

    Result: 

    NG 

    REPAIR OR REPLACE HARNESS OR CONNECTOR 

    Result: 

    OK 

    See step  2

  2. CHECK STEERING LOCK ECU (STEERING LOCK ACTUATOR OR UPPER BRACKET ASSEMBLY) 
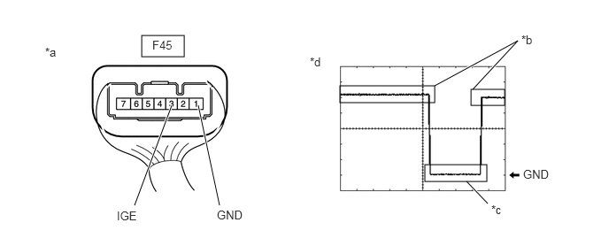
    1. Connect the F45 steering lock ECU (steering lock actuator or upper bracket assembly) connector.
    2. Move the shift lever to P and turn the engine switch off.
    3. Check the signal waveform according to the condition(s) in the table below.
      GTY816082Courtesy of © TOYOTA, LICENSE AGREEMENT TMS1002
      *a Component with harness connected
      (Steering Lock ECU (Steering Lock Actuator or Upper Bracket Assembly))
      *b Steering lock motor not operating
      *c Steering lock motor operating *d Waveform

      OK

      Tester Connection Condition Tool Setting Specified Condition
      F45-3 (IGE) - F45-1 (GND) 2 V/DIV., 200 ms./DIV. Steering lock motor not operating → Operating → Not operating Pulse generation
      (See waveform)

      HINT: 

      • When taking measurements when the lock motor is stopped, it is not necessary to perform any operations.
      • In order to take measurements when the lock motor is operating, perform either of the following operations:
        • To unlock the steering, carry the electrical key transmitter sub-assembly and turn the engine switch on (ACC) or on (IG).
        • To lock the steering, turn the engine switch off with the shift lever in P, and then open a door.

      Result

      Proceed to
      OK
      NG

    Result: 

    NG 

    See step  5

    Result: 

    OK 

    See step  3

  3. CLEAR DTC AND DATA LIST MALFUNCTION RECORD 
    1. Clear the DTCs.

      Body Electrical > Smart Access > Clear DTCs 

    2. Disconnect the cable from the negative (-) auxiliary battery terminal, wait for 30 seconds or more, and then reconnect the cable to the negative (-) auxiliary battery terminal to clear the record of malfunctions stored in the Data List.
      WARNING:

      After turning the engine switch off, waiting time may be required before disconnecting the cable from the auxiliary battery terminal. Therefore, make sure to read the disconnecting the cable from the auxiliary battery terminal notices before proceeding with work.

      Refer to PRECAUTION [10/2018 - 07/2022]

      Result

      Proceed to
      NEXT

    Result: 

    NEXT 

    See step  4

  4. CHECK FOR DTC 
    1. Perform the DTC output confirmation operation.
    2. Check if DTC B2782 is output.

      Body Electrical > Smart Access > Trouble Codes 

      Result

      Result Proceed to
      DTC B2782 is not output A
      DTC B2782 is output (for Power Tilt and Power Telescopic Steering Column) B
      DTC B2782 is output (for Manual Tilt and Manual Telescopic Steering Column) C

    Result: 

    SYSTEM RETURNED TO NORMAL (DTC STORED DUE TO BAD CONNECTION, BUT SYSTEM RETURNED TO NORMAL BY RECONNECTING CONNECTOR) 

    Result: 

    REPLACE STEERING LOCK ECU (STEERING LOCK ACTUATOR OR UPPER BRACKET ASSEMBLY). Refer to  DISASSEMBLY [10/2018 - 07/2022] 

    Result: 

    REPLACE STEERING LOCK ECU (STEERING LOCK ACTUATOR OR UPPER BRACKET ASSEMBLY). Refer to  DISASSEMBLY [10/2018 - 07/2022] 

  5. CHECK HARNESS AND CONNECTOR (STEERING LOCK ECU (STEERING LOCK ACTUATOR OR UPPER BRACKET ASSEMBLY) - CERTIFICATION ECU (SMART KEY ECU ASSEMBLY)) 
    1. Disconnect the F45 steering lock ECU (steering lock actuator or upper bracket assembly) connector.
    2. Disconnect the F44 certification ECU (smart key ECU assembly) connector.
    3. Check for deformation and corrosion of the connector case and terminals.

      OK

      There is no deformation or corrosion of the connector case or terminals.

    4. Measure the resistance according to the value(s) in the table below.

      Standard Resistance

      Tester Connection Condition Specified Condition
      F45-3 (IGE) - F44-25 (SLR+) Always Below 1 Ω
      F45-3 (IGE) or F44-25 (SLR+) - Other terminals and body ground Always 10 kΩ or higher

      Result

      Proceed to
      OK
      NG

    Result: 

    OK 

    REPLACE CERTIFICATION ECU (SMART KEY ECU ASSEMBLY). Refer to  REMOVAL [10/2018 - 07/2022] 

    Result: 

    NG 

    REPAIR OR REPLACE HARNESS OR CONNECTOR