LEMON Manuals: Even more car manuals for everyone: 1960-2025
Home >> Lexus >> 2022 >> NX 250 AWD >> Repair and Diagnosis >> Engine Performance >> System >> Engine Control System - Diagnostic Codes (P0400-P0455) >> SFI System >> DTC P0403-18: Exhaust Gas Recirculation "A" Circuit Current Below Threshold; DTC P0403-19: Exhaust Gas Recirculation "A" Circuit Current Above Threshold; DTC P1400-18: Exhaust Gas Recirculation "A" Control Circuit 2 Circuit Current Below Threshold; DTC P1400-19: Exhaust Gas Recirculation "A" Control Circuit 2 Circuit Current Above Threshold [03/2023 - ] >> Wiring Diagram
April 5, 2026: LEMON Manuals is launched! Read the announcement.

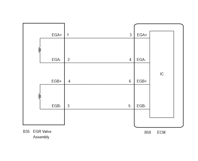
DTC P0403-18: Exhaust Gas Recirculation "A" Circuit Current Below Threshold; DTC P0403-19: Exhaust Gas Recirculation "A" Circuit Current Above Threshold; DTC P1400-18: Exhaust Gas Recirculation "A" Control Circuit 2 Circuit Current Below Threshold; DTC P1400-19: Exhaust Gas Recirculation "A" Control Circuit 2 Circuit Current Above Threshold [03/2023 - ]: Wiring Diagram

for TMMC Made 

GTY1204500Courtesy of © TOYOTA, LICENSE AGREEMENT TMS1002

for TMC Made 

GTY1052480Courtesy of © TOYOTA, LICENSE AGREEMENT TMS1002