LEMON Manuals: Even more car manuals for everyone: 1960-2025
Home >> Lexus >> 2022 >> NX 350 Base >> Repair and Diagnosis (Single Page) >> Accessories & Equipment >> Anti-Theft Systems >> Smart Access System (For Entry) - Diagnostics - Introduction >> SMART ACCESS SYSTEM WITH PUSH-BUTTON START (for Entry Function, Gasoline Model) >> Operation Check [11/2021 - ] >> Operation Check [11/2021 - ]
April 5, 2026: LEMON Manuals is launched! Read the announcement.

Operation Check [11/2021 - ]

  1. CHECK CUSTOMIZE PARAMETERS 
    NOTE:

    The operation check below is based on the non-customized initial condition of the vehicle.

    Refer to CUSTOMIZE PARAMETERS [11/2021 - ] 

  2. CHECK THE ENTRY UNLOCK FUNCTION 
    1. Check the entry unlock function.
      1. Perform a wireless lock door operation to lock the door, touch the unlock sensor built into the backside of the front door outside handle assembly of the driver door while carrying the electrical key transmitter sub-assembly and check that the door unlocks.
      2. Inspect the entry unlock detection area. Hold the electrical key transmitter sub-assembly at the same height as the door outside handle assembly and approximately 0.7 to 1 m (2.30 to 3.28 ft.) from the vehicle as shown in the illustration and check that the LED (red) of the electrical key transmitter sub-assembly blinks.
        GTY1009655Courtesy of © TOYOTA, LICENSE AGREEMENT TMS1002
        *1 Electrical Key Transmitter Sub-assembly
        *a 0.7 to 1 m (2.30 to 3.28 ft.)

        The illustrations shown are examples only.

      3. With the system in unlock standby mode, grasp the front door outside handle assembly (for driver door) and check that the door unlocks.

        HINT: 

        • The system is in unlock standby mode when the electrical key transmitter sub-assembly is in the detection area and the key ID code sent by the electrical key transmitter sub-assembly matches the key ID code stored by the certification ECU (smart key ECU assembly).
        • Communication may not be possible if the electrical key transmitter sub-assembly is within 0.2 m (0.656 ft.) of the door outside handle assembly.
        • Inspect the front passenger door, rear door LH and rear door RH using the same procedure.
      4. Check the unlock response sensitivity. With the system in unlock standby mode, touch the area shown in the illustration and check that the door unlocks.
        NOTE:

        If the sensor is touched too quickly or released too slowly, the sensor may not react and the door will not unlock.

        HINT: 

        Inspect the front passenger door, rear door LH and rear door RH using the same procedure.

        GTY1008881Courtesy of © TOYOTA, LICENSE AGREEMENT TMS1002
        *a Unlock Sensor (Backside)

        The illustrations shown are examples only.

  3. CHECK THE ENTRY LOCK FUNCTION 
    1. GTY1010309Courtesy of © TOYOTA, LICENSE AGREEMENT TMS1002
      *a Lock Sensor

      The illustrations shown are examples only.

      Check the entry lock function.

      NOTE:

      If the electrical key transmitter sub-assembly is in the vehicle but outside the detection area (on the instrument panel, in the glove box, on the floor) and a door lock operation is performed, the key lock-in prevention function will not operate and the electrical key transmitter sub-assembly will be locked inside the vehicle.

      1. With the door closed and unlocked, touch the lock sensor of the front door outside handle assembly of the driver door while carrying the electrical key transmitter sub-assembly and check that the door locks.

        HINT: 

        • If the door does not lock even when touching the lock sensor, touch it with your palm.
        • Inspect the front passenger door, rear door LH and rear door RH using the same procedure.
      2. Inspect the entry lock operating range. Hold the electrical key transmitter sub-assembly approximately 0.1 m (0.328 ft.) below the bottom edge of the door glass and approximately 0.3 m (0.984 ft.) from the vehicle as shown in the illustration, touch the lock sensor and check that the door locks.

        HINT: 

        • If the door does not lock even when touching the lock sensor, touch it with your palm.
        • As communication may not be possible if the electrical key transmitter sub-assembly is within 0.2 m (0.656 ft.) of the front door outside handle assembly, the door may not lock if the lock sensor is touched with the same hand that is carrying the electrical key transmitter sub-assembly, etc.
        • If the key lock-in prevention function buzzer sounds, radio waves from the indoor electrical key antenna may be leaking from the vehicle.
        • Inspect the front passenger door, rear door LH and rear door RH using the same procedure.
        • The entry lock function cannot be operated more than 3 times consecutively.
        GTY1009655Courtesy of © TOYOTA, LICENSE AGREEMENT TMS1002
        *1 Electrical Key Transmitter Sub-assembly
        *a Approximately 0.3 m (0.984 ft.)

        The illustrations shown are examples only.

  4. CHECK ENTRY BACK DOOR OPEN FUNCTION 
    1. Check the entry back door open function.
      1. With the back door closed and locked, press the open switch of the back door opener switch assembly while carrying the electrical key transmitter sub-assembly and check that the back door opens.
        GTY1009097Courtesy of © TOYOTA, LICENSE AGREEMENT TMS1002
        *1 Electrical Key Transmitter Sub-assembly
        *2 Back Door Opener Switch Assembly (Open Switch)
        *a 0.7 to 1 m (2.30 to 3.28 ft.)

        The illustrations shown are examples only.

      2. Inspect the entry back door open operating range. Hold the electrical key transmitter sub-assembly at the same height as the rear bumper upper surface and approximately 0.7 to 1 m (2.30 to 3.28 ft.) from the vehicle as shown in the illustration, press the open switch of the back door opener switch assembly and check that the back door opens.

        HINT: 

        Communication may not be possible if the electrical key transmitter sub-assembly is within 0.2 m (0.656 ft.) of rear bumper.

  5. CHECK ENTRY BACK DOOR LOCK FUNCTION 
    1. Check the entry back door lock function.
      NOTE:

      If the electrical key transmitter sub-assembly is in the vehicle but outside the detection area (on the instrument panel, in the glove box or on the floor) and a back door lock operation is performed, the key lock-in prevention function will not operate and the electrical key transmitter sub-assembly will be locked inside the vehicle.

      1. With the back door closed and unlocked, press the lock switch of the back door opener switch assembly while carrying the electrical key transmitter sub-assembly outside of the vehicle and check that the back door locks.
      2. Inspect the entry back door lock operating range. Hold the electrical key transmitter sub-assembly at the same height as the rear bumper upper surface and approximately 0.3 m (0.984 ft.) from the vehicle as shown in the illustration, press the lock switch of the back door opener switch assembly and check that the back door locks.
        GTY1009568Courtesy of © TOYOTA, LICENSE AGREEMENT TMS1002
        *1 Electrical Key Transmitter Sub-assembly
        *2 Back Door Opener Switch Assembly (Lock Switch)
        *a Approximately 0.3 m (0.984 ft.)

        The illustrations shown are examples only.

        HINT: 

        • Communication may not be possible if the electrical key transmitter sub-assembly is within 0.2 m (0.656 ft.) of the rear bumper.
        • If the key lock-in prevention function buzzer sounds, radio waves from the indoor electrical key antenna may be leaking from the vehicle.
        • The entry lock function cannot be operated more than 3 times consecutively.
  6. CHECK PUSH-BUTTON START FUNCTION 

    Refer to OPERATION CHECK [11/2021 - 03/2023] , or refer to OPERATION CHECK [03/2023 - ]

  7. CHECK KEY LOCK-IN PREVENTION FUNCTION (VEHICLE INTERIOR) 
    NOTE:

    In order to prevent the electrical key transmitter sub-assembly from being locked inside the vehicle, perform this inspection with the window of a door open.

    1. Check the key lock-in prevention function (vehicle interior).
      1. Turn the ignition switch off.
      2. Place the electrical key transmitter sub-assembly on a front, rear seat or luggage room floor.
      3. Close all of the doors and make sure they are unlocked.
      4. Touch a door lock sensor and check that the doors do not lock and the key lock-in prevention function buzzer (external) sounds for approximately 5 seconds.
  8. CHECK POWER BACK DOOR CLOSE AND LOCK FUNCTION (w/ Power Back Door System) 
    1. With the back door open, press the door control switch assembly while carrying the electrical key transmitter sub-assembly outside of the vehicle and check that the back door closes automatically and then locks.

      HINT: 

      If the door control switch assembly is pressed by a hand which is also holding the electrical key transmitter sub-assembly, the electrical key transmitter sub-assembly may not be detected as in the exterior detection area and the power back door close and lock function may not operate.

      GTY1054403Courtesy of © TOYOTA, LICENSE AGREEMENT TMS1002
      *1 Door Control Switch Assembly
    2. Inspect the power back door close and lock operating range. Hold the electrical key transmitter sub-assembly at the same height as the rear bumper upper surface and approximately 0.7 to 1 m (2.30 to 3.28 ft.) from the vehicle as shown in the illustration, press the door control switch and check that the back door closes automatically and then locks.
      GTY1054665Courtesy of © TOYOTA, LICENSE AGREEMENT TMS1002
      *a 0.7 to 1 m (2.30 to 3.28 ft.)
  9. CHECK POWER BACK DOOR RESERVATION LOCK FUNCTION (w/ Power Back Door System) 
    1. Check that the doors lock after the back door is closed, while carrying the electrical key transmitter sub-assembly, when the lock sensor is operated during the back door closing operation via the power back door function.
  10. CHECK HANDS FREE POWER BACK DOOR OPERATION (w/ Hands Free Power Back Door) 
    1. With the back door closed, while carrying the electrical key transmitter sub-assembly, kick your leg so that your foot is 0.1 m (0.328 ft.) or closer to the rear bumper surface. Pull your leg away from the sensor and check that the back door begins to open automatically.
    2. Inspect the entry back door open operating range. Hold the electrical key transmitter sub-assembly approximately 0.7 m (2.30 ft.) from the vehicle as shown in the illustration.
      GTY1054897Courtesy of © TOYOTA, LICENSE AGREEMENT TMS1002
      *1 Kick Door Control Sensor *2 Electrical Key Transmitter Sub-assembly
      *a Approximately 0.7 m (2.30 ft.) *b Approximately 0.1 m (0.328 ft.)

      HINT: 

  11. CHECK ANSWER-BACK FUNCTION 
    1. Check the answer-back function (hazard warning light flashing and buzzer sounding).
      Entry Operation Hazard Warning Light Wireless Buzzer
      Entry Lock Flashes once Sounds once
      Entry Unlock Flashes twice Sounds twice
  12. CHECK TRANSMITTER BATTERY SAVING MODE FUNCTION 

    Refer to OPERATION CHECK [11/2021 - 03/2023] , or refer to OPERATION CHECK [03/2023 - ]

  13. CHECK ENTRY CANCEL FUNCTION 

    Refer to OPERATION CHECK [11/2021 - 03/2023] , or refer to OPERATION CHECK [03/2023 - ]

  14. KEY DIAGNOSTIC MODE (Using GTS) 

    HINT: 

    • With key diagnostic mode, it is possible to check if the electrical key transmitter sub-assembly is operating properly with the selected electrical key antenna and within the selected detection area by the sounding of the wireless buzzer.
    • If the buzzer sounds with [CH1] displayed but not with [CH2], the electrical key transmitter sub-assembly cannot be detected by channel 2 due to a malfunction, such as wave interference.
    1. Enter the following menus: Body Electrical / Smart Access / Utility / Communication Check (Key Diag Mode).

      Body Electrical > Smart Access > Utility 

      Tester Display
      Communication Check (Key Diag Mode)
    2. Inspect the appropriate item according to the following table.
      Tester Display Inspection Item
      [CH1/CH2] Overhead + Driver Side*1 Front door outside handle assembly (electrical key antenna) (for driver door)
      [CH1] Overhead + Driver Side*1
      [CH2] Overhead + Driver Side*1
      [CH1/CH2] Overhead + Passenger Side*2 Front door outside handle assembly (electrical key antenna) (for front passenger door)
      [CH1] Overhead + Passenger Side*2
      [CH2] Overhead + Passenger Side*2
      [CH1/CH2] Overhead + Driver Side Rear*3 Rear door outside handle assembly (electrical key antenna) (for driver side)
      [CH1] Overhead +Driver Side Rear*3
      [CH2] Overhead + Driver Side Rear*3
      [CH1/CH2] Overhead + Passenger Side Rear*4 Rear door outside handle assembly (electrical key antenna) (for front passenger side)
      [CH1] Overhead + Passenger Side Rear*4
      [CH2] Overhead + Passenger Side Rear*4
      [CH1/CH2] Overhead + Front Room*5 No. 1 indoor electrical key antenna assembly (front floor)
      [CH1] Overhead + Front Room*5
      [CH2] Overhead + Front Room*5
      [CH1/CH2] Overhead +Rear Room*6 No. 2 indoor electrical key antenna assembly (rear floor)
      [CH1] Overhead +Rear Room*6
      [CH2] Overhead +Rear Room*6
      [CH1/CH2] Luggage (inside)+ Luggage (inside)*7 No. 3 indoor electrical key antenna assembly (inside luggage compartment)
      [CH1] Luggage (inside)+ Luggage (inside)*7
      [CH2] Luggage (inside)+ Luggage (inside)*7
      [CH1/CH2] Luggage+ Luggage (inside)*8 Electrical key antenna (outside luggage compartment)
      [CH1] Luggage+ Luggage (inside)*8
      [CH2] Luggage+ Luggage (inside)*8
      [CH1/CH2] Immobiliser Amp*9 Amplifier (engine switch)
      [CH1] Immobiliser Amp*9
      [CH2] Immobiliser Amp*9
      • [CH1]: Channel 1 is set.
      • [CH2]: Channel 2 is set.
      • [CH1/CH2]: Channel 1 and 2 switch automatically at a specific interval*.

        *: If the electrical key transmitter sub-assembly is detected with either channel 1 or 2, the buzzer sounds.

    3. Bring the electrical key transmitter sub-assembly near the selected electrical key antenna and check that the wireless buzzer sounds.

      HINT: 

      The buzzer sounds in short, repeated beeps for all items except "Overhead + Rear Room"*6. For "Overhead + Rear Room"*6, the buzzer sounds in one long, continuous beep.

    4. *1: Front door outside handle assembly (for driver door)

      HINT: 

      • Hold the electrical key transmitter sub-assembly at the same height as the front door outside handle assembly in the position shown in the illustration.
      • *2, *3, *4: Perform the same inspection for the front passenger door, rear door LH and rear door RH.
      GTY1009655Courtesy of © TOYOTA, LICENSE AGREEMENT TMS1002
      *1 Electrical Key Transmitter Sub-assembly
      *a 0.7 to 1 m (2.30 to 3.28 ft.)

      The illustrations shown are examples only.

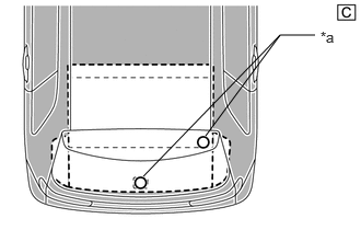
    5. *5: No. 1 indoor electrical key antenna assembly (front floor)
      GTY1010330Courtesy of © TOYOTA, LICENSE AGREEMENT TMS1002
      *a Electrical Key Transmitter Sub-assembly Inspection Point

      The illustrations shown are examples only.

      HINT: 

      Place the electrical key transmitter sub-assembly on the front seat cushion of the driver seat or front passenger seat.

    6. *6: No. 2 indoor electrical key antenna assembly (rear floor)

      HINT: 

      Place the electrical key transmitter sub-assembly on the rear seat cushion.

      GTY1009613Courtesy of © TOYOTA, LICENSE AGREEMENT TMS1002
      *a Electrical Key Transmitter Sub-assembly Inspection Point

      The illustrations shown are examples only.

    7. *7: No. 3 indoor electrical key antenna assembly (inside luggage compartment)

      HINT: 

      Place the electrical key transmitter sub-assembly on the luggage room floor.

      GTY1010091Courtesy of © TOYOTA, LICENSE AGREEMENT TMS1002
      *a Electrical Key Transmitter Sub-assembly Inspection Point

      The illustrations shown are examples only.

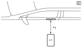
    8. *8: Electrical key antenna (outside luggage compartment)

      HINT: 

      Hold the electrical key transmitter sub-assembly at the same height as the rear bumper upper surface and align it with the center of the rear of the vehicle as shown in the illustration.

      GTY1010364Courtesy of © TOYOTA, LICENSE AGREEMENT TMS1002
      *1 Electrical Key Transmitter Sub-assembly
      *a 0.7 to 1 m (2.30 to 3.28 ft.)

      The illustrations shown are examples only.

    9. *9: Amplifier (engine switch)
      GTY775469Courtesy of © TOYOTA, LICENSE AGREEMENT TMS1002
      *1 Engine Switch
      *2 Electrical Key Transmitter Sub-assembly

      The illustrations shown are examples only.

      HINT: 

      While facing the logo side of the electrical key transmitter sub-assembly toward the engine switch, hold the transmitter near the engine switch.