LEMON Manuals: Even more car manuals for everyone: 1960-2025
Home >> Lexus >> 2023 >> LX 600 Base >> Repair and Diagnosis (Single Page) >> Accessories & Equipment >> Anti-Theft Systems >> Smart Access System (For Start) - Diagnostic Codes >> SMART ACCESS SYSTEM WITH PUSH-BUTTON START (for Start Function) >> DTC B2799-86: Engine Immobiliser System Signal (Some Circuit Quantity, Reported via Serial Data) Invalid [12/2021 - ] >> Procedure
April 5, 2026: LEMON Manuals is launched! Read the announcement.

DTC B2799-86: Engine Immobiliser System Signal (Some Circuit Quantity, Reported via Serial Data) Invalid [12/2021 - ]: Procedure

  1. REGISTER ECU COMMUNICATION ID 
    1. Register the ECU communication ID code.

      HINT: 

      Refer to registration.

      Refer to REGISTRATION [12/2021 - ]

      Result

      Proceed to
      NEXT

    Result: 

    NEXT 

    See step  2

  2. CHECK ID CODE BOX (IMMOBILISER CODE ECU) (TERMINAL EFII) 
    1. Using an oscilloscope, check the waveform.
      GTY1059628Courtesy of © TOYOTA, LICENSE AGREEMENT TMS1002
      *a Component with harness connected
      (ID Code Box (Immobiliser Code ECU))
      *b Waveform
      *c Approximately 160 ms. *d Approximately 270 ms.

      OK

      Tester Connection Condition Tool Setting Specified Condition
      I66-3 (EFII) - Body ground Within 3 seconds of the engine start operation being performed or within 3 seconds of the ignition switch being turned to ON after connecting the cable to the negative (-) battery terminal 2 V/DIV., 500 ms./DIV. Pulse generation
      (See waveform)

      Result

      Result Proceed to
      Normal waveform A
      Terminal EFII stuck low (2.4 V or less) B
      Waveform not output, or has abnormal wavelength or shape, or terminal EFII stuck high (12 V) C

    Result: 

    See step  6

    Result: 

    REPLACE ECM. Refer to  REMOVAL [12/2021 - ] 

    Result: 

    See step  3

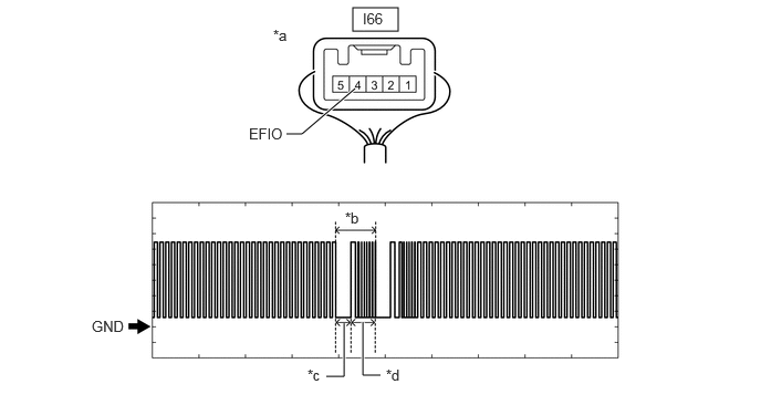
  3. CHECK ID CODE BOX (IMMOBILISER CODE ECU) (TERMINAL EFIO) 
    1. Using an oscilloscope, check the waveform.
      GTY1060307Courtesy of © TOYOTA, LICENSE AGREEMENT TMS1002
      *a Component with harness connected
      (ID Code Box (Immobiliser Code ECU))
      *b Waveform
      *c Approximately 160 ms. *d Approximately 270 ms.

      Measurement Condition

      Tester Connection Condition Tool Setting Specified Condition
      I66-4 (EFIO) - Body ground Within 3 seconds of the engine start operation being performed or within 3 seconds of the ignition switch being turned to ON after connecting the cable to the negative (-) battery terminal 2 V/DIV., 500 ms./DIV. Pulse generation
      (See waveform)

      Result

      Proceed to
      OK
      NG

    Result: 

    NG 

    REPLACE ID CODE BOX (IMMOBILISER CODE ECU). Refer to  REMOVAL [12/2021 - ] 

    Result: 

    OK 

    See step  4

  4. REGISTER ECU COMMUNICATION ID (ID CODE BOX (IMMOBILISER CODE ECU) - ECM) 
    1. Register the ECU communication ID codes.

      HINT: 

      Refer to registration.

      Refer to REGISTRATION [12/2021 - ]

      Result

      Proceed to
      NEXT

    Result: 

    NEXT 

    See step  5

  5. CHECK WHETHER ENGINE STARTS 

    Pre-procedure1

    1. Using an electrical key transmitter sub-assembly which is registered to the vehicle, turn the ignition switch to ON.

      Procedure1

    2. Check that the engine can be started 5 seconds after the ignition switch turned to ON.

      OK

      Engine starts normally.

      Result

      Proceed to
      OK
      NG

      Post-procedure1

    3. None

    Result: 

    OK 

    END (ECU COMMUNICATION ID HAS NOT BEEN REGISTERED) 

    Result: 

    NG 

    REPLACE ECM. Refer to  REMOVAL [12/2021 - ] 

  6. CHECK ECM 

    Pre-procedure1

    1. Disconnect the B70 ECM connector.

      Procedure1

    2. Measure the voltage according to the value(s) in the table below.

      Standard Voltage

      Terminal IMO stuck high (12 V) or abnormal waveform

      Tester Connection Condition Specified Condition
      B70-23 (IMO) - Body ground Ignition switch turned to ON using registered electrical key transmitter sub-assembly Terminal IMO stuck low (2.4 V or less)
      Terminal IMO stuck high (12 V) or abnormal waveform

      Result

      Result Proceed to
      Terminal IMO stuck low (2.4 V or less) A
      Terminal IMO stuck high (12 V) or abnormal waveform B

      Post-procedure1

    3. None

    Result: 

    REPLACE ECM. Refer to  REMOVAL [12/2021 - ] 

    Result: 

    See step  7

  7. CHECK HARNESS AND CONNECTOR (ID CODE BOX (IMMOBILISER CODE ECU) - ECM) 

    Pre-procedure1

    1. Disconnect the I66 ID code box (immobiliser code ECU) connector.

      Procedure1

    2. Measure the resistance according to the value(s) in the table below.

      Standard Resistance

      Tester Connection Condition Specified Condition
      B70-23 (IMO) - I66-3 (EFII) Always Below 1 Ω
      B70-23 (IMO) or I66-3 (EFII) - Other terminals and body ground Always 10 kΩ or higher
      B70-24 (IMI) - I66-4 (EFIO) Always Below 1 Ω
      B70-24 (IMI) or I66-4 (EFIO) - Other terminals and body ground Always 10 kΩ or higher

      Result

      Proceed to
      OK
      NG

      Post-procedure1

    3. None

    Result: 

    OK 

    REPLACE ID CODE BOX (IMMOBILISER CODE ECU). Refer to  REMOVAL [12/2021 - ] 

    Result: 

    NG 

    REPAIR OR REPLACE HARNESS OR CONNECTOR