LEMON Manuals: Even more car manuals for everyone: 1960-2025
Home >> Lexus >> 2023 >> LX 600 Base >> Repair and Diagnosis (Single Page) >> Engine Performance >> System >> Engine Control System (W/O Canister Pump Module) - Diagnostic Codes (4 Of 5) >> SFI SYSTEM (w/o Canister Pump Module) >> DTC P2109-00: Throttle/Pedal Position Sensor "A" Minimum Stop Performance [12/2021 - ] >> Procedure
April 5, 2026: LEMON Manuals is launched! Read the announcement.

DTC P2109-00: Throttle/Pedal Position Sensor "A" Minimum Stop Performance [12/2021 - ]: Procedure

  1. CHECK ANY OTHER DTCS OUTPUT (IN ADDITION TO DTC P2109-00) 
    1. Read the DTCs.

      Powertrain > Engine > Trouble Codes 

      Result

      Result Proceed to
      P2109-00 and other DTCs are output A
      P2109-00 is output B

      HINT: 

      If any DTCs other than P2109-00 are output, troubleshoot those DTCs first.

    Result: 

    GO TO DTC CHART. Refer to  DIAGNOSTIC TROUBLE CODE CHART [12/2021 - ] 

    Result: 

    See step  2

  2. READ FREEZE FRAME DATA (THROTTLE AIR FLOW F/B VALUE) 
    1. Using the GTS, check "Throttle Air Flow F/B Value" in the Freeze Frame Data.

      Powertrain > Engine > DTC (P2109-00) > Freeze Frame Data 

      Tester Display
      Throttle Air Flow F/B Value

      HINT: 

      Be sure to confirm "Throttle Air Flow F/B Value" in the Freeze Frame Data as it is used when confirming whether the malfunction has been successfully repaired.

      Result

      Proceed to
      NEXT

    Result: 

    NEXT 

    See step  3

  3. INSPECT THROTTLE BODY WITH MOTOR ASSEMBLY 
    1. Check for foreign matter between the throttle valve and the housing.
      GTY580650Courtesy of © TOYOTA, LICENSE AGREEMENT TMS1002
      *1 Throttle Body with Motor Assembly *2 Bore
      *3 Throttle Valve - -
      *a Reference *b Throttle Body with Motor Assembly Cross-section Diagram
      *c When valve fully opened *d Deposits

      HINT: 

      The illustration is for reference only, actual parts may differ.

      Result

      Result Proceed to
      Foreign matter between the throttle valve and housing A
      No foreign matter between the throttle valve and housing B

      HINT: 

      Perform "Inspection After Repair" after replacing the throttle body with motor assembly.

      Refer to INITIALIZATION [12/2021 - ]

    Result: 

    REPLACE THROTTLE BODY WITH MOTOR ASSEMBLY (THROTTLE WITH THROTTLE POSITION SENSOR BODY ASSEMBLY). Refer to  REMOVAL [12/2021 - ] 

    Result: 

    See step  4

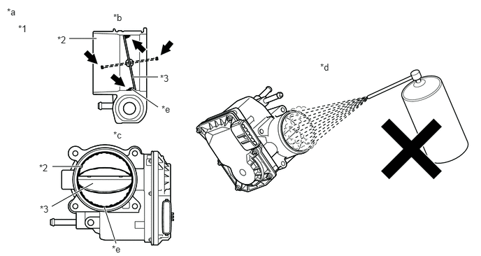
  4. REMOVE FOREIGN MATTER (CLEAN THROTTLE BODY WITH MOTOR ASSEMBLY) 
    1. Clean off any deposits inside of the throttle body with motor assembly.
      GTY483797Courtesy of © TOYOTA, LICENSE AGREEMENT TMS1002
      *1 Throttle Body with Motor Assembly *2 Bore
      *3 Throttle Valve - -
      *a Reference *b Throttle Body with Motor Assembly Cross-section Diagram
      *c When valve fully opened *d Do not directly apply cleaner
      *e Deposits - -
      1. Push open the throttle valve and wipe off any deposits from the valve and bore using a cloth soaked in non-residue solvent.
        NOTE:
        • Make sure that the cloth or your fingers do not get caught in the valve.
        • Make sure that foreign matter does not enter the throttle valve.
        • Do not directly apply non-residue solvent to the throttle body with motor assembly or wash the throttle body with motor assembly. Cleaning solvent may leak into the motor from the shaft and cause problems such as rust or valve movement problems.
        • If there is coating material on the edge of the throttle valve, be careful not to remove it.
        • Push the throttle valve open gently with your finger and check that the throttle valve moves smoothly.

        HINT: 

        • If the throttle valve does not open smoothly, replace the throttle body with motor assembly.

          Refer to REMOVAL [12/2021 - ]

        • The illustration is for reference only, actual parts may differ.

      Result

      Proceed to
      NEXT

    Result: 

    NEXT 

    See step  5

  5. READ VALUE USING GTS (THROTTLE AIR FLOW F/B VALUE) 

    Pre-procedure1

    1. Perform "Inspection After Repair" after cleaning the throttle body with motor assembly.

      Refer to INITIALIZATION [12/2021 - ]

      Procedure1

    2. According to the display on the GTS, read the Data List.

      Powertrain > Engine > Data List 

      Tester Display
      Throttle Air Flow F/B Value

      OK

      The value is half of "Throttle Air Flow F/B Value" recorded in the Freeze Frame Data or less.

      HINT: 

      Perform "Inspection After Repair" after replacing the throttle body with motor assembly.

      Refer to INITIALIZATION [12/2021 - ]

      Result

      Proceed to
      OK
      NG

      Post-procedure1

    3. None

    Result: 

    OK 

    END 

    Result: 

    NG 

    REPLACE THROTTLE BODY WITH MOTOR ASSEMBLY (THROTTLE WITH THROTTLE POSITION SENSOR BODY ASSEMBLY). Refer to  REMOVAL [12/2021 - ]