LEMON Manuals: Even more car manuals for everyone: 1960-2025
Home >> Lexus >> 2023 >> NX 350 Base >> Repair and Diagnosis (Single Page) >> Accessories & Equipment >> Anti-Theft Systems >> Smart Access System (For Start) - Diagnostic Codes & Symptom Tests (1 Of 2) >> SMART ACCESS SYSTEM WITH PUSH-BUTTON START (for Start Function, Gasoline Model) >> DTC B2799-86: Engine Immobilizer System Signal (Some Circuit Quantity, Reported via Serial Data) Invalid [11/2021 - ] >> Procedure
April 5, 2026: LEMON Manuals is launched! Read the announcement.

DTC B2799-86: Engine Immobilizer System Signal (Some Circuit Quantity, Reported via Serial Data) Invalid [11/2021 - ]: Procedure

  1. REGISTER ECU COMMUNICATION ID 
    1. Register the ECU communication ID code.

      Refer to REGISTRATION [11/2021 - ]

      Result

      Proceed to
      NEXT

    Result: 

    NEXT 

    See step  2

  2. CHECK ID CODE BOX (IMMOBILIZER CODE ECU) (TERMINAL EFII) 
    1. Using an oscilloscope, check the waveform.
      GTY1060262Courtesy of © TOYOTA, LICENSE AGREEMENT TMS1002
      *a Component with harness connected
      (ID Code Box (Immobilizer Code ECU))
      *b Waveform
      *c Approximately 160 ms. *d Approximately 270 ms.

      OK

      Tester Connection Condition Tool Setting Specified Condition
      D62-3 (EFII) - Body ground Within 3 seconds of the engine start operation being performed or within 3 seconds of the ignition switch being turned to ON after connecting the cable to the negative (-) auxiliary battery terminal 2 V/DIV., 500 ms./DIV. Pulse generation
      (See waveform)

      Result

      Result Proceed to
      Normal waveform A
      Terminal EFII stuck low (2.4 V or less) B
      Waveform not output, or has abnormal wavelength or shape, or terminal EFII stuck high (12 V) C

    Result: 

    See step  7

    Result: 

    See step  9

    Result: 

    See step  3

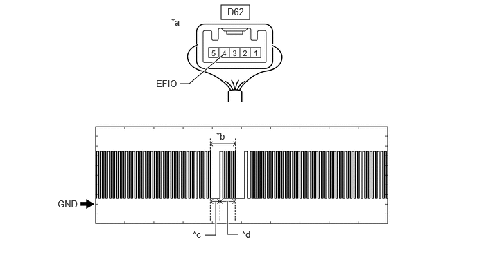
  3. CHECK ID CODE BOX (IMMOBILIZER CODE ECU) (TERMINAL EFIO) 
    1. Using an oscilloscope, check the waveform.
      GTY1059823Courtesy of © TOYOTA, LICENSE AGREEMENT TMS1002
      *a Component with harness connected
      (ID Code Box (Immobilizer Code ECU))
      *b Waveform
      *c Approximately 160 ms. *d Approximately 270 ms.

      Measurement Condition

      Tester Connection Condition Tool Setting Specified Condition
      D62-4 (EFIO) - Body ground Within 3 seconds of the engine start operation being performed or within 3 seconds of the ignition switch being turned to ON after connecting the cable to the negative (-) auxiliary battery terminal 2 V/DIV., 500 ms./DIV. Pulse generation
      (See waveform)

      Result

      Proceed to
      OK
      NG

    Result: 

    NG 

    See step  6

    Result: 

    OK 

    See step  4

  4. REGISTER ECU COMMUNICATION ID (ID CODE BOX (IMMOBILIZER CODE ECU) - ECM) 
    1. Register the ECU communication ID codes.

      Refer to REGISTRATION [11/2021 - ]

      Result

      Proceed to
      NEXT

    Result: 

    NEXT 

    See step  5

  5. CHECK WHETHER ENGINE STARTS 

    Pre-procedure1

    1. Using an electrical key transmitter sub-assembly which is registered to the vehicle, turn the ignition switch to ON.

      Procedure1

    2. Check that the engine can be started 5 seconds after the ignition switch turned to ON.

      OK

      Engine starts normally.

      Result

      Proceed to
      OK
      NG

      Post-procedure1

    3. None

    Result: 

    OK 

    END (ECU COMMUNICATION ID HAS NOT BEEN REGISTERED) 

    Result: 

    NG 

    REPLACE ECM 

    for A25A-FKS: Refer to REMOVAL [11/2021 - ]

    for T24A-FTS: Refer to REMOVAL [11/2021 - ]

  6. CHECK HARNESS AND CONNECTOR (ID CODE BOX (IMMOBILIZER CODE ECU) - ECM) 
    1. Disconnect the D62 ID code box (immobilizer code ECU) connector.
    2. Disconnect the A20*1 or A19*2 ECM connector.
      1. *1: for A25A-FKS
      2. *2: for T24A-FTS
    3. Measure the resistance according to the value(s) in the table below.

      Standard Resistance

      FOR A25A-FKS

      Tester Connection Condition Specified Condition
      D62-4 (EFIO) - A25-26 (IMI) Always Below 1 Ω
      D62-4 (EFIO) or A20-26 (IMI) - Other terminals and body ground Always 10 kΩ or higher
      FOR T24A-FTS

      Tester Connection Condition Specified Condition
      D62-4 (EFIO) - A19-38 (IMI) Always Below 1 Ω
      D62-4 (EFIO) or A19-38 (IMI) - Other terminals and body ground Always 10 kΩ or higher

      Result

      Proceed to
      OK
      NG

    Result: 

    OK 

    REPLACE ID CODE BOX (IMMOBILIZER CODE ECU). Refer to  REMOVAL [11/2021 - ] 

    Result: 

    NG 

    REPAIR OR REPLACE HARNESS OR CONNECTOR 

  7. CHECK ECM 

    Pre-procedure1

    1. Disconnect the A20*1 or A19*2 ECM connector.
      1. *1: for A25A-FKS
      2. *2: for T24A-FTS

      Procedure1

    2. Measure the voltage according to the value(s) in the table below.

      Standard Voltage

      FOR A25A-FKS

      Tester Connection Condition Specified Condition
      A20-25 (IMO) - Body ground Ignition switch turned to ON using registered electrical key transmitter sub-assembly Terminal IMO stuck low (2.4 V or less)
      Terminal IMO stuck high (12 V) or abnormal waveform
      FOR T24A-FTS

      Tester Connection Condition Specified Condition
      A19-37 (IMO) - Body ground Ignition switch turned to ON using registered electrical key transmitter sub-assembly Terminal IMO stuck low (2.4 V or less)
      Terminal IMO stuck high (12 V) or abnormal waveform

      Result

      Result Proceed to
      Terminal IMO stuck low (2.4 V or less) A
      Terminal IMO stuck high (12 V) or abnormal waveform B

      Post-procedure1

    3. None

    Result: 

    REPLACE ECM 

    for A25A-FKS: Refer to REMOVAL [11/2021 - ]

    for T24A-FTS: Refer to REMOVAL [11/2021 - ]

    Result: 

    See step  8

  8. CHECK HARNESS AND CONNECTOR (ID CODE BOX (IMMOBILIZER CODE ECU) - ECM) 

    Pre-procedure1

    1. Disconnect the D62 ID code box (immobilizer code ECU) connector.

      Procedure1

    2. Measure the resistance according to the value(s) in the table below.

      Standard Resistance

      FOR A25A-FKS

      Tester Connection Condition Specified Condition
      D62-3 (EFII) - A20-25 (IMO) Always Below 1 Ω
      D62-3 (EFII) or A20-25 (IMO) - Other terminals and body ground Always 10 kΩ or higher
      D62-4 (EFIO) - A20-26 (IMI) Always Below 1 Ω
      D62-4 (EFIO) or A20-26 (IMI) - Other terminals and body ground Always 10 kΩ or higher
      FOR T24A-FTS

      Tester Connection Condition Specified Condition
      D62-3 (EFII) - A19-37 (IMO) Always Below 1 Ω
      D62-3 (EFII) or A19-37 (IMO) - Other terminals and body ground Always 10 kΩ or higher
      D62-4 (EFIO) - A19-38 (IMI) Always Below 1 Ω
      D62-4 (EFIO) or A19-38 (IMI) - Other terminals and body ground Always 10 kΩ or higher

      Result

      Proceed to
      OK
      NG

      Post-procedure1

    3. None

    Result: 

    OK 

    REPLACE ID CODE BOX (IMMOBILIZER CODE ECU). Refer to  REMOVAL [11/2021 - ] 

    Result: 

    NG 

    REPAIR OR REPLACE HARNESS OR CONNECTOR 

  9. CHECK HARNESS AND CONNECTOR (ID CODE BOX (IMMOBILIZER CODE ECU) - ECM) 
    1. Disconnect the D62 ID code box (immobilizer code ECU) connector.
    2. Disconnect the A20*1 or A19*2 ECM connector.
      1. *1: for A25A-FKS
      2. *2: for T24A-FTS
    3. Measure the resistance according to the value(s) in the table below.

      Standard Resistance

      FOR A25A-FKS

      Tester Connection Condition Specified Condition
      D62-3 (EFII) - A20-25 (IMO) Always Below 1 Ω
      D62-3 (EFII) or A20-25 (IMO) - Other terminals and body ground Always 10 kΩ or higher
      FOR T24A-FTS

      Tester Connection Condition Specified Condition
      D62-3 (EFII) - A19-26 (IMO) Always Below 1 Ω
      D62-3 (EFII) or A19-26 (IMO) - Other terminals and body ground Always 10 kΩ or higher

      Result

      Proceed to
      OK
      NG

    Result: 

    OK 

    REPLACE ECM 

    for A25A-FKS: Refer to REMOVAL [11/2021 - ]

    for T24A-FTS: Refer to REMOVAL [11/2021 - ]

    Result: 

    NG 

    REPAIR OR REPLACE HARNESS OR CONNECTOR