LEMON Manuals: Even more car manuals for everyone: 1960-2025
Home >> Lexus >> 2024 >> LX 600 Base >> Repair and Diagnosis (Single Page) >> Engine Performance >> System >> Engine Control System (W/O Canister Pump Module) - Diagnostics - Introduction (1 Of 2) >> SFI SYSTEM (w/o Canister Pump Module) >> System Diagram [12/2021 - ] >> System Diagram [12/2021 - ]
April 5, 2026: LEMON Manuals is launched! Read the announcement.

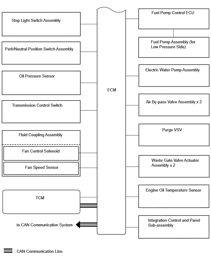
System Diagram [12/2021 - ]

GTY1073988Courtesy of © TOYOTA, LICENSE AGREEMENT TMS1002
GTY1078987Courtesy of © TOYOTA, LICENSE AGREEMENT TMS1002