Pinpoint Test J: DTC B2633 Driver - Front Microphone Circuit Failure
Test Step
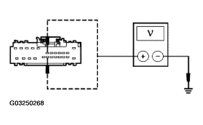
J1 CHECK THE VOICE SIGNAL INPUT
- Key in OFF position.
- Disconnect: Navigation System Module C4209.
- Key in ON position.
- Measure the voltage between the navigation system module C4209 pin 7, circuit 1196 (DG/WH), harness side and between the navigation system module C4209 pin 19, circuit 1197 (LG/BU), harness side while speaking loudly into the rear view mirror microphone.
- Is any AC voltage indicated?
Result / Action to Take
Yes
GO to J6.
No
GO to J2.
Test Step
J2 CHECK CIRCUIT 1002 (BK/PK) FOR VOLTAGE
- Key in OFF position.
- Disconnect: Rear View Mirror C911.
- Key in ON position.
- Measure the voltage between the rear view mirror C911 pin 13, circuit 1002 (BK/PK), harness side and ground.
- Is the voltage greater than 10 volts?
Result / Action to Take
Yes
GO to J3.
No
REPAIR the circuit. CLEAR the DTCs. REPEAT the self-test.
Test Step
J3 CHECK CIRCUIT 1203 (BK/LB) FOR AN OPEN
- Key in OFF position.
- Measure the resistance between the rear view mirror C911 pin 2, circuit 1203 (BK/LB), harness side and ground.
- Is the resistance less than 5 ohms?
Result / Action to Take
Yes
GO to J4.
No
REPAIR the circuit. CLEAR the DTCs. REPEAT the self-test.
Test Step
J4 CHECK CIRCUITS 1196 (DG/WH) AND 1197 (LG/BU) FOR AN OPEN AND A SHORT TO GROUND
- Measure the resistances between the navigation system module C4209 pins harness side and the rear view mirror C911 pins harness side; and between the navigation system module C4209 pins harness side and ground as follows:
Navigation System Module Pin Rear View Mirror Pin Circuit C4209 pin 7 C911 pin 9 1196 (DG/WH) C4209 pin 19 C911 pin 10 1197 (LG/BU) - Are the resistances less than 5 ohms between the navigation system module and the rear view mirror; and are the resistances greater than 10,000 ohms between the navigation system module and ground?
Result / Action to Take
Yes
GO to J5.
No
REPAIR the circuit in question. CLEAR the DTCs. REPEAT the self-test.
Test Step
J5 CHECK CIRCUITS 1196 (DG/WH) AND 1197 (LG/BU) FOR A SHORT TO VOLTAGE
- Key in ON position.
- Measure the voltage between the navigation system module C4209 pin 7, circuit 1196 (DG/WH), harness side and ground; and between the navigation system module C4209 pin 19, 1197 (LG/BU), harness side and ground.
- Is any voltage indicated?
Result / Action to Take
Yes
REPAIR the circuit in question. CLEAR the DTCs. REPEAT the self-test.
No
INSTALL a new rear view mirror. REFER to REAR VIEW MIRRORS . CLEAR the DTCs. REPEAT the self-test.
Test Step
J6 CHECK FOR CORRECT NAVIGATION SYSTEM MODULE OPERATION
- Disconnect all navigation system module connectors.
- Check for:
- corrosion
- pushed-out pins
- Connect all navigation system module connectors and make sure they seat correctly.
- Operate the system and verify the concern is still present.
- Is the concern still present?
Result / Action to Take
Yes
INSTALL a new navigation system module. REFER to NAVIGATION SYSTEM MODULE . TEST the system for normal operation.
No
The system is operating correctly at this time. Concern may have been caused by a loose or corroded connector. CLEAR the DTCs. REPEAT the self-test.