LEMON Manuals: Even more car manuals for everyone: 1960-2025
Home >> Lincoln >> 2004 >> Town Car Protection Series >> Repair and Diagnosis >> External Pages >> Different car >> Section 1100 (Navigation System) >> Diagnosis And Testing >> Navigation System >> Pinpoint Tests >> Pinpoint Test J: DTC B2633 Driver - Front Microphone Circuit Failure
April 5, 2026: LEMON Manuals is launched! Read the announcement.

Pinpoint Test J: DTC B2633 Driver - Front Microphone Circuit Failure

WARNING: This page is about a different car, the 2005 Lincoln Town Car. However, it is still accessible from the selected car via links, so may be relevant.
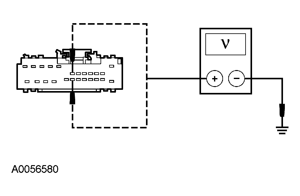
  1. J1 CHECK THE VOICE SIGNAL INPUT 
    • Key in OFF position.
    • Disconnect: Navigation System Module C4209.
    • Key in ON position.
    • Measure the voltage between the navigation system module C4209 pin 7, circuit 1196 (DG/WH), harness side and between the navigation system module C4209 pin 19, circuit 1197 (LG/BK), harness side while speaking loudly into the interior rear view mirror microphone.
      Fig 1: Measuring Voltage Between Navigation System Module C4209 Pin 7, Circuit 1196 (DG/WH), Harness Side And Between Navigation System Module C4209 Pin 19, Circuit 1197 (LG/BK), Harness Side
      G03931282Courtesy of FORD MOTOR CO.
    • Is any AC voltage indicated? 
    • Yes  : GO to  J6.
    • No  : GO to  J2.
  2. J2 CHECK CIRCUIT 964 (DB/LG) FOR VOLTAGE 
    • Key in OFF position.
    • Disconnect: Interior Rear View Mirror C9012.
    • Key in ON position.
    • Measure the voltage between the interior rear view mirror C9012 pin 13, circuit 964 (DB/LG), harness side and ground.
      Fig 2: Measuring Voltage Between Interior Rear View Mirror C9012 Pin 13, Circuit 964 (DB/LG), Harness Side And Ground
      G03931283Courtesy of FORD MOTOR CO.
    • Is the voltage greater than 10 volts? 
    • Yes  : GO to  J3.
    • No  : REPAIR the circuit. CLEAR the DTCs. REPEAT the self-test.
  3. J3 CHECK CIRCUIT 676 (PK/OG) FOR AN OPEN 
    • Key in OFF position.
    • Measure the resistance between the interior rear view mirror C9012 pin 2, circuit 676 (PK/OG), harness side and ground.
      Fig 3: Measuring Resistance Between Interior Rear View Mirror C9012 Pin 2, Circuit 676 (PK/OG), Harness Side And Ground
      G03931284Courtesy of FORD MOTOR CO.
    • Is the resistance less than 5 ohms? 
    • Yes  : GO to  J4.
    • No  : REPAIR the circuit. CLEAR the DTCs. REPEAT the self-test.
  4. J4 CHECK CIRCUITS 1196 (DG/WH) AND 1197 (LG/BK) FOR AN OPEN AND A SHORT TO GROUND 
    • Measure the resistances between the navigation system module C4209 pins harness side and the rear view mirror C9012 pins harness side; and between the navigation system module C4209 pins harness side and ground as follows:
      INTERIOR REAR VIEW MIRROR PIN SPECIFICATION

      Navigation System Module Pin Interior Rear View Mirror Pin Circuit
      C4209 pin 7 C9012 pin 9 1196 (DG/WH)
      C4209 pin 19 C9012 pin 10 1197 (LG/BK)
      Fig 4: Measuring Resistances Between Navigation System Module C4209 Pins Harness Side And Rear View Mirror C9012 Pins Harness Side; And Between Navigation System Module C4209 Pins Harness Side And Ground
      G03931285Courtesy of FORD MOTOR CO.
    • Are the resistances less than 5 ohms between the navigation system module and the interior rear view mirror, and greater than 10,000 ohms between the navigation system module and ground? 
    • Yes  : GO to  J5.
    • No  : REPAIR the circuit in question. CLEAR the DTCs. REPEAT the self-test.
  5. J5 CHECK CIRCUITS 1196 (DG/WH) AND 1197 (LG/BK) FOR A SHORT TO VOLTAGE 
    • Key in ON position.
    • Measure the voltage between the navigation system module C4209 pin 7, circuit 1196 (DG/WH), harness side and ground; and between the navigation system module C4209 pin 19, circuit 1197 (LG/BK), harness side and ground.
      Fig 5: Measuring Voltage Between Navigation System Module C4209 Pin 7, Circuit 1196 (DG/WH), Harness Side And Ground; And Between Navigation System Module C4209 Pin 19, Circuit 1197 (LG/BK), Harness Side And Ground.
      G03931286Courtesy of FORD MOTOR CO.
    • Is any voltage indicated? 
    • Yes  : REPAIR the circuit in question. CLEAR the DTCs. REPEAT the self-test.
    • No  : INSTALL a new interior rear view mirror. REFER to REAR VIEW MIRRORS . CLEAR the DTCs. REPEAT the self-test.
  6. J6 CHECK FOR CORRECT NAVIGATION SYSTEM MODULE OPERATION 
    • Disconnect all the navigation system module connectors.
    • Check for:
      • corrosion
      • pushed-out pins
    • Connect all the navigation system module connectors and make sure they seat correctly.
    • Operate the system and verify the concern is still present.
    • Is the concern still present? 
    • Yes  : INSTALL a new navigation system module. REFER to NAVIGATION SYSTEM MODULE . TEST the system for normal operation.
    • No  : The system is operating correctly at this time. The concern may have been caused by a loose or corroded connector. CLEAR the DTCs. REPEAT the self-test.