LEMON Manuals: Even more car manuals for everyone: 1960-2025
Home >> Lincoln >> 2014 >> MKX AWD >> Repair and Diagnosis (Single Page) >> Engine Performance >> System >> Engine Controls - Pinpoint Test Do: Barometric Pressure (BARO) Sensor Through Pinpoint Test FD: Brake Pedal Inputs - (Except Diesel & Hybrid) >> PINPOINT TEST DP: Output Shaft Speed (OSS) Sensor/Vehicle Speed Sensor (VSS) >> Introduction >> Notes
April 5, 2026: LEMON Manuals is launched! Read the announcement.

PINPOINT TEST DP: Output Shaft Speed (OSS) Sensor/Vehicle Speed Sensor (VSS): Introduction: Notes

This pinpoint test is intended to diagnose the following:

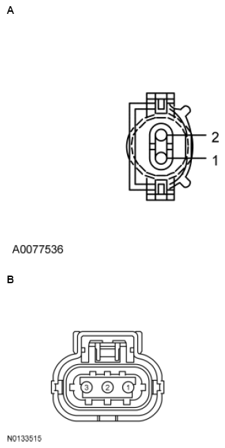
Vehicle Connector Pin Circuit
Mustang 5.8L A 2
1
SIGRTN
OSS
All other vehicles B 3
2
1
SIGRTN
OSS
VBPWR