LEMON Manuals: Even more car manuals for everyone: 1960-2025
Home >> Mazda >> 1981 >> RX-7 GSL, Automatic Trans >> Repair and Diagnosis >> Engine Performance >> Engine Control Systems >> Auxiliary Control Device >> Testing >> Choke Relay
April 5, 2026: LEMON Manuals is launched! Read the announcement.

Choke Relay

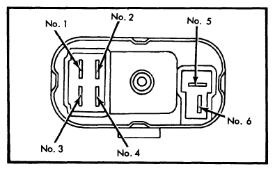
  1. Disconnect coupler from relay. With engine off and no power applied, check continuity of terminals.
    Fig 1: Choke Relay Terminal Locations
    G09313976Courtesy of MAZDA MOTORS CORP.
  2. There should be continuity between No. 1 and No. 2. There should be no continuity between No. 3 and No. 4.
  3. Connect a wire from battery positive post to terminal No. 6 and battery negative post to terminal No. 5.
  4. There should be continuity between No. 3 and No. 4. There should be no continuity between No. 1 and No. 2.