LEMON Manuals: Even more car manuals for everyone: 1960-2025
Home >> Mazda >> 1993 >> 626 ES, Automatic >> Repair and Diagnosis >> Engine Performance >> System >> Engine Controls - Tests W/Codes - 2.5L >> Trouble Code Identification >> Code 10: (Intake Air Temperature Sensor)
April 5, 2026: LEMON Manuals is launched! Read the announcement.

Code 10: (Intake Air Temperature Sensor)

Fig 1: Trouble Code No. 10 - Diagnostic Flowchart
G93D80419Courtesy of MAZDA MOTORS CORP.
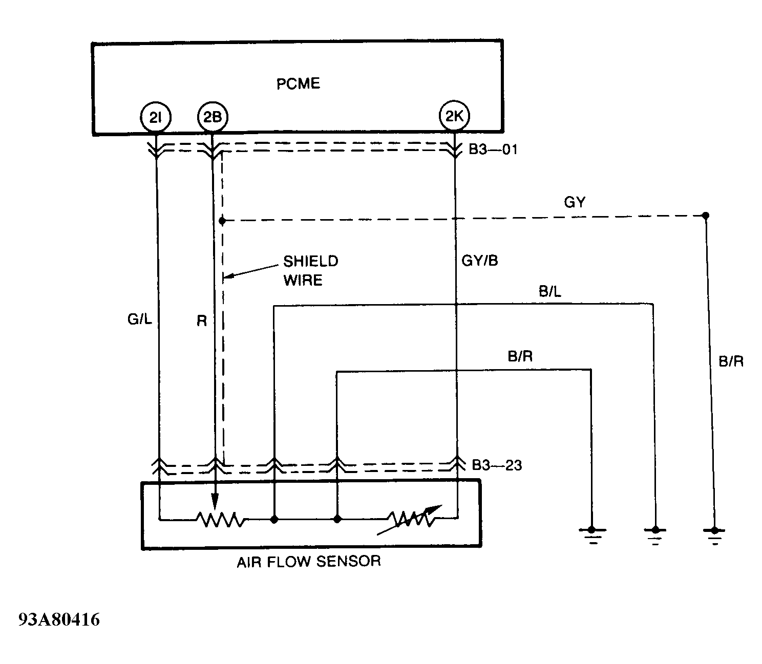
Fig 2: Trouble Code No. 10 - Schematic
G93A80416Courtesy of MAZDA MOTORS CORP.