LEMON Manuals: Even more car manuals for everyone: 1960-2025
Home >> Mazda >> 1993 >> 626 ES, Automatic >> Repair and Diagnosis >> Engine Performance >> System >> Engine Controls - Tests W/Codes - 2.5L >> Trouble Code Identification >> Code 17 Or 24: (Closed Loop System
April 5, 2026: LEMON Manuals is launched! Read the announcement.

Code 17 Or 24: (Closed Loop System

Fig 1: Trouble Code No. 17 Or 24 - Diagnostic Flowchart (1 Of 2)
G93D80427Courtesy of MAZDA MOTORS CORP.
Fig 2: Trouble Code No. 17 Or 24 - Diagnostic Flowchart (2 Of 2)
G93E80428Courtesy of MAZDA MOTORS CORP.
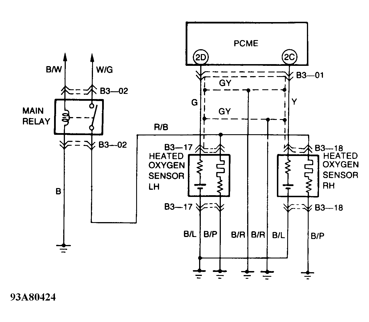
Fig 3: Trouble Code No. 17 Or 24 - Schematic
G93A80424Courtesy of MAZDA MOTORS CORP.