LEMON Manuals: Even more car manuals for everyone: 1960-2025
Home >> Mazda >> 1993 >> 626 ES, Standard >> Repair and Diagnosis >> Engine Performance >> System >> Engine Controls - Tests W/Codes - 2.5L >> Trouble Code Identification >> Code 2: (Crankshaft Position Sensor 2, Ne2 Signal)
April 5, 2026: LEMON Manuals is launched! Read the announcement.

Code 2: (Crankshaft Position Sensor 2, Ne2 Signal)

Fig 1: Trouble Code No. 2 - Diagnostic Flowchart
G93A80333Courtesy of MAZDA MOTORS CORP.
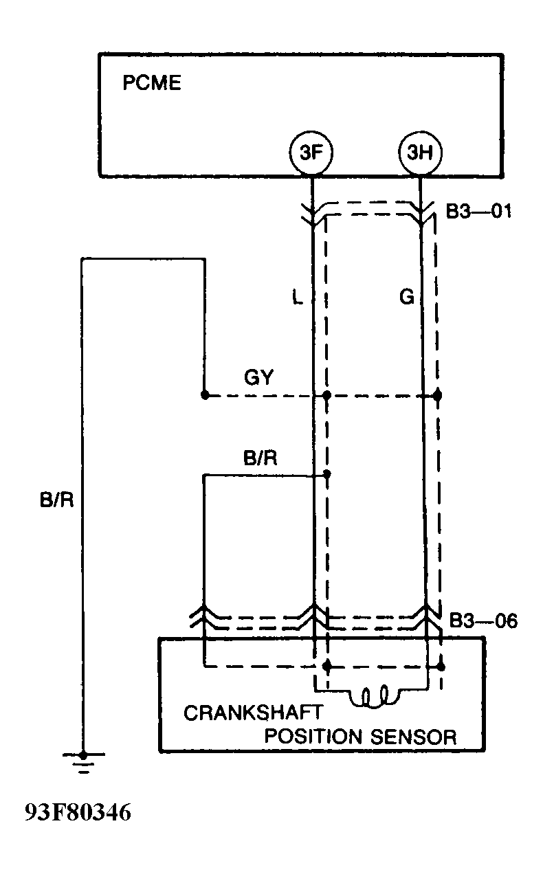
Fig 2: Trouble Code No. 2 - Schematic
G93F80346Courtesy of MAZDA MOTORS CORP.