LEMON Manuals: Even more car manuals for everyone: 1960-2025
Home >> Mazda >> 1994 >> MX-5 Miata Base, Automatic >> Repair and Diagnosis >> Engine Performance >> System >> Engine Controls - Tests W/Codes >> Trouble Code Identification >> Code 1: (Ignition Signal)
April 5, 2026: LEMON Manuals is launched! Read the announcement.

Code 1: (Ignition Signal)

Fig 1: Trouble Code No. 1 Diagnostic Chart (Ignition Signal)
G94A44966Courtesy of MAZDA MOTORS CORP.
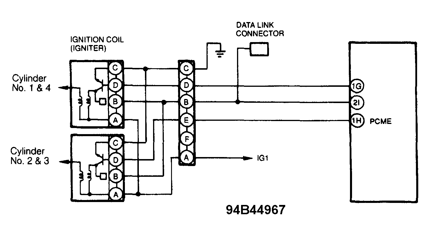
Fig 2: Trouble Code No. 1 Ignition System Circuit Diagram
G94B44967Courtesy of MAZDA MOTORS CORP.