LEMON Manuals: Even more car manuals for everyone: 1960-2025
Home >> Mazda >> 1994 >> MX-5 Miata Base, Automatic >> Repair and Diagnosis >> Engine Performance >> System >> Engine Controls - Tests W/Codes >> Trouble Code Identification >> Code 16: (EGR Function Sensor) CKT Diagram
April 5, 2026: LEMON Manuals is launched! Read the announcement.

Code 16: (EGR Function Sensor) CKT Diagram

Fig 1: Trouble Code No. 16 Diagnostic Chart (EGR Function Sensor)
G94D44977
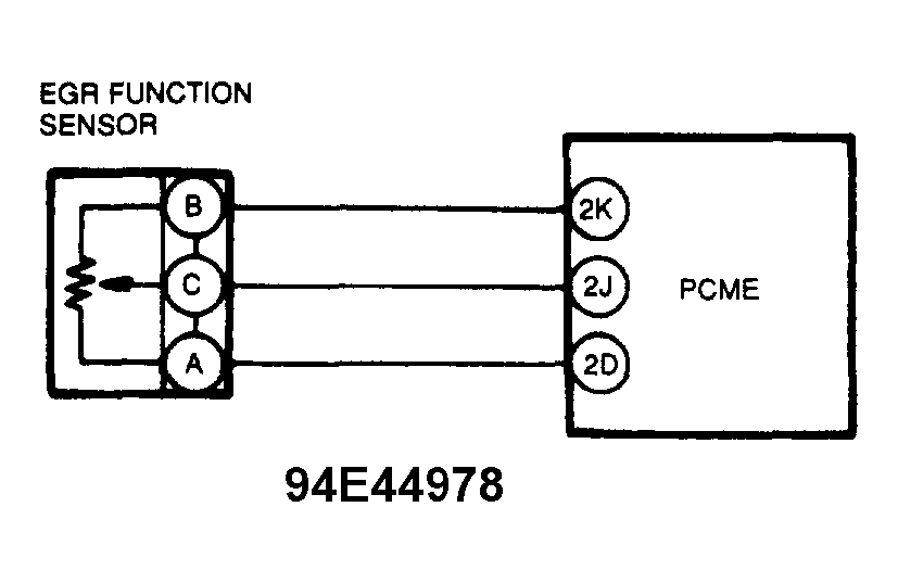
Fig 2: Trouble Code No. 16 Circuit Diagram (Miata)
G94E44978Courtesy of MAZDA MOTORS CORP.