LEMON Manuals: Even more car manuals for everyone: 1960-2025
Home >> Mazda >> 1995 >> MX-6 Base, Automatic >> Repair and Diagnosis >> Brakes >> Traction Control >> Anti-Lock Brake System >> Component Testing >> Stoplight Switch
April 5, 2026: LEMON Manuals is launched! Read the announcement.

Stoplight Switch

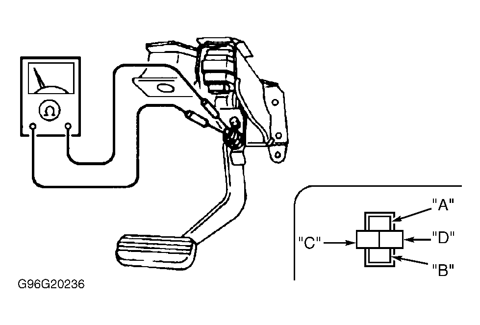
Disconnect stoplight switch connector. Using ohmmeter, check continuity between stoplight switch terminals. See Fig 1 . With brake pedal depressed, continuity should only exist between terminals "A" and "B". With brake pedal released, continuity should only exist between terminals "C" and "D". If continuity is not as specified, replace stoplight switch.

Fig 1: Identifying Stoplight Switch Terminals
G96G20236Courtesy of MAZDA MOTORS CORP.