LEMON Manuals: Even more car manuals for everyone: 1960-2025
Home >> Mazda >> 2004 >> 3 L4-2.3L >> Repair and Diagnosis >> Service and Repair >> Electrical System >> Terminals
April 5, 2026: LEMON Manuals is launched! Read the announcement.

Terminals

Inspection




- Pull lightly on individual wires to verify that they are secured in the terminal.

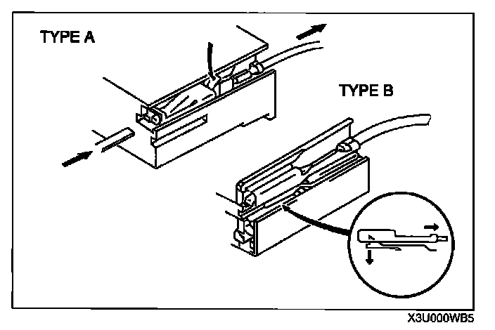
Replacement




- Use the appropriate tools to remove a terminal as shown. When installing a terminal, be sure to insert it until it locks securely.
- Insert a thin piece of metal from the terminal side of the connector and with the terminal locking tab pressed down, pull the terminal out from the connector.