LEMON Manuals: Even more car manuals for everyone: 1960-2025
Home >> Mazda >> 2004 >> 3 L4-2.3L >> Repair and Diagnosis >> Specifications >> Mechanical Specifications >> Engine >> Oil Pump, Engine
April 5, 2026: LEMON Manuals is launched! Read the announcement.

Oil Pump, Engine

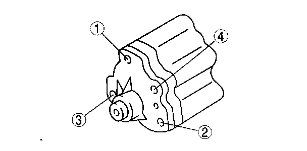
Oil Pump





Tighten the oil pump bolts in two steps in the order indicated in the figure.
1 8 - 10 Nm (82 - 101 kgf-cm, 71 - 88 inch lbs.)
2 20 - 25 Nm (2.1 - 2.5 kgf-m, 15.2 - 18.4 ft. lbs.)