LEMON Manuals: Even more car manuals for everyone: 1960-2025
Home >> Mazda >> 2004 >> 3 i, Automatic >> Repair and Diagnosis (Single Page) >> Engine Performance >> System >> On-Board Diagnostic [Engine Control System] >> DTC P0031: Front Ho2S Heater Circuit Low Input >> Except for California Emission Regulation Applicable Module
April 5, 2026: LEMON Manuals is launched! Read the announcement.

Except for California Emission Regulation Applicable Module

Fig 1: DTC P0031: Detection Condition & Possible Causes Chart (1 Of 2)
G00974399Courtesy of MAZDA MOTORS CORP.
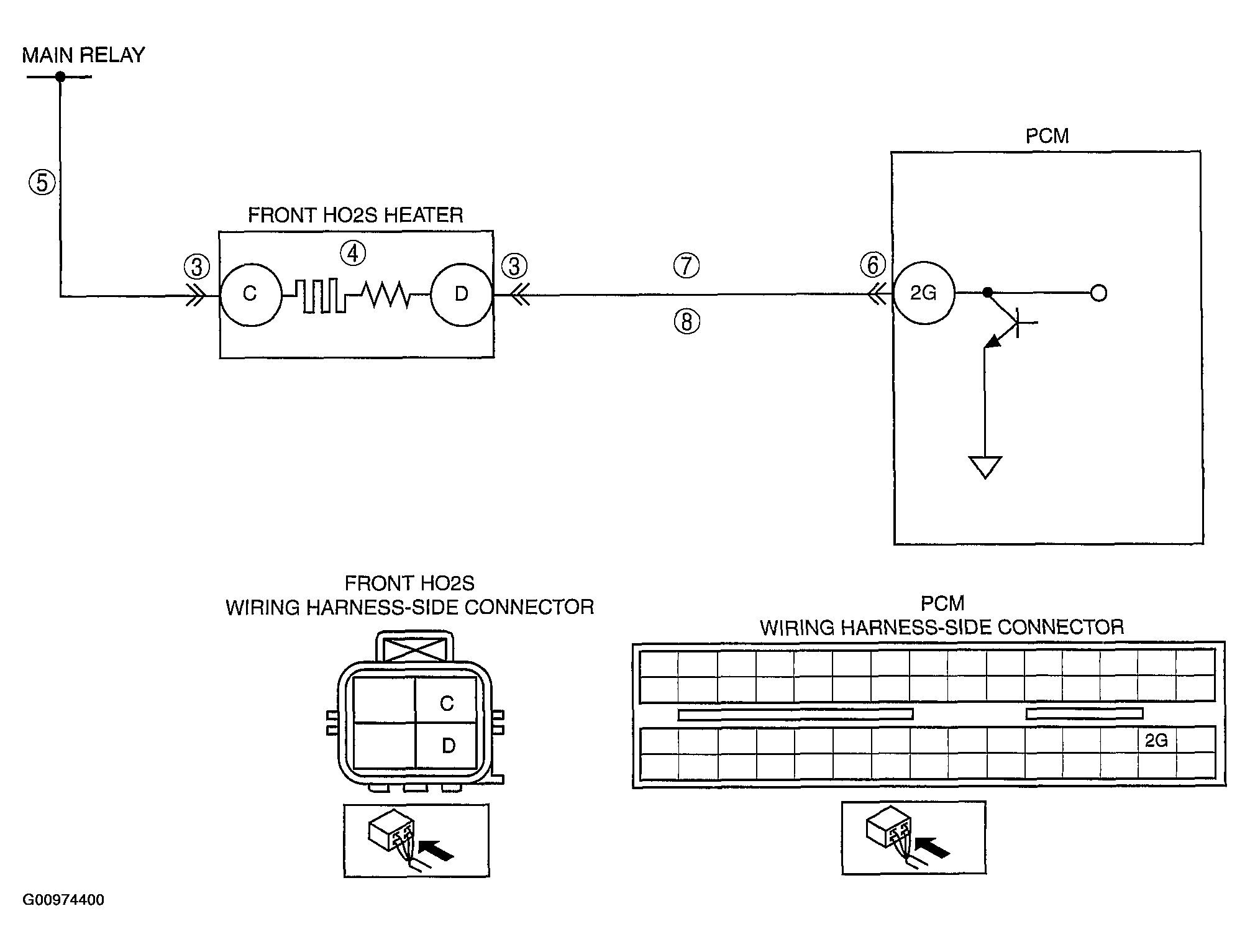
Fig 2: DTC P0031: Detection Condition & Possible Causes Chart (2 Of 2)
G00974400Courtesy of MAZDA MOTORS CORP.