LEMON Manuals: Even more car manuals for everyone: 1960-2025
Home >> Mazda >> 2004 >> 6 i, 4D Hatchback, Automatic >> Repair and Diagnosis >> Engine Performance >> System >> Engine Control System (L3) >> Clutch Switch Inspection >> Continuity Inspection >> Specification
April 5, 2026: LEMON Manuals is launched! Read the announcement.

Continuity Inspection: Specification

Fig 1: Continuity Specification Table
G01024496Courtesy of MAZDA MOTORS CORP.
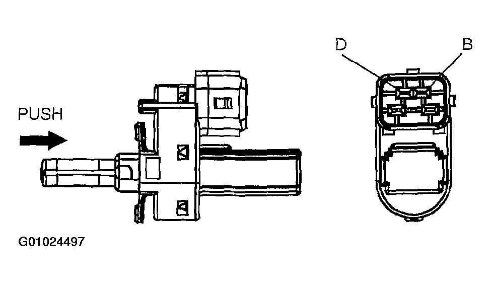
Fig 2: Locating Terminals Of Clutch Switch Connector
G01024497Courtesy of MAZDA MOTORS CORP.