LEMON Manuals: Even more car manuals for everyone: 1960-2025
Home >> Mazda >> 2004 >> MPV ES >> Repair and Diagnosis >> Body & Frame >> Ignition Switch/Steering Lock >> Power Systems >> Key Reminder Switch Inspection
April 5, 2026: LEMON Manuals is launched! Read the announcement.

Key Reminder Switch Inspection

  1. Disconnect the key reminder switch connector.
  2. Inspect for continuity between the key reminder switch terminals using an ohmmeter.
    • If not as specified, replace the key reminder switch.
      Fig 1: Key Reminder Switch Continuity Specifications
      G00991285Courtesy of MAZDA MOTORS CORP.
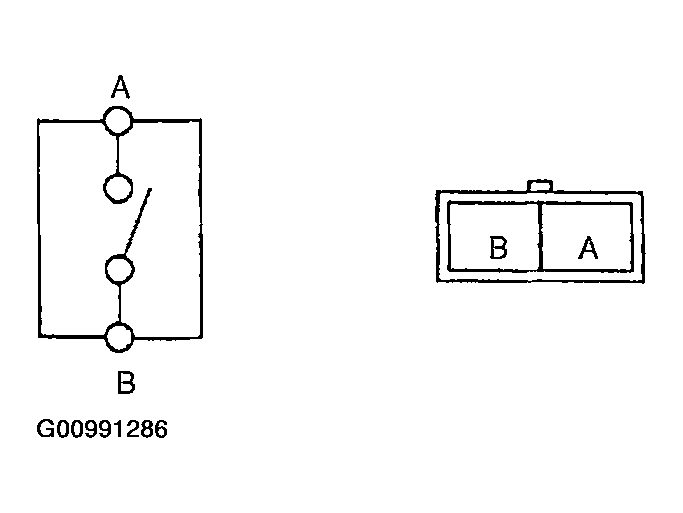
      Fig 2: Identifying Key Reminder Switch Terminals
      G00991286Courtesy of MAZDA MOTORS CORP.